TOP
|
特許
|
意匠
|
商標
特許ウォッチ
Twitter
他の特許を見る
公開番号
2025168834
公報種別
公開特許公報(A)
公開日
2025-11-12
出願番号
2024073632
出願日
2024-04-30
発明の名称
継手
出願人
大阪瓦斯株式会社
,
日本継手株式会社
代理人
個人
,
個人
主分類
F16L
27/12 20060101AFI20251105BHJP(機械要素または単位;機械または装置の効果的機能を生じ維持するための一般的手段)
要約
【課題】 接続される物の間の距離の調整が困難であっても、それら接続される物への接続に要する労力を軽減すること。
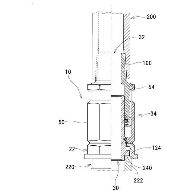
【解決手段】 継手10は、流路を形成する筒部20と、筒接続部22とを備える。筒接続部22は、ガスメータ接続口220へ筒部20を接続する。この接続により、筒部20の流路がその流路とは異なる空間へ連通することとなる。筒部20が、一方筒体30と、他方筒体32と、変化部34とを有する。一方筒体30は筒状である。他方筒体32には、一方筒体30の一端が進入可能である。他方筒体32は、筒状である。変化部34は、一方筒体30の一端が他方筒体32内に進入した際における、他方筒体32の内部への一方筒体30の一端の進入量を変化せしめる。筒接続部22は、一方筒体30の軸線に沿う方向についての移動および一方筒体30の外周に沿う回転が可能となるよう一方筒体30の他端に係合される。
【選択図】 図6
特許請求の範囲
【請求項1】
流路を形成する筒部と、
前記筒部の前記流路が前記流路とは異なる空間へ連通するよう、前記筒部とは異なる物へ前記筒部を接続する筒接続部とを備える継手であって、
前記筒部が、
筒状である一方筒体と、
前記一方筒体の一端が進入可能で筒状である他方筒体と、
前記一方筒体の一端が前記他方筒体内に進入した際における、前記他方筒体の軸線に沿う方向についての前記他方筒体の内部への前記一方筒体の一端の進入量を変化せしめる変化部とを有し、
前記筒接続部が、前記一方筒体の軸線に沿う方向についての移動および前記一方筒体の外周に沿う回転が可能となるよう前記一方筒体の他端に係合されることを特徴とする継手。
続きを表示(約 610 文字)
【請求項2】
前記変化部が、
前記他方筒体のうち前記一方筒体の一端が進入する方の端が進入可能な胴部材と、
前記一方筒体のうち前記他方筒体内に進入する前記一端とは異なる箇所と前記胴部材とを連結する連結体とを有しており、
前記胴部材の一端の内周に雌ねじが形成されており、
前記他方筒体のうち前記一方筒体の一端が進入する方の端の外周には、前記胴部材の一端の内周に形成されている前記雌ねじにかみ合い得る雄ねじが形成されていることを特徴とする請求項1に記載の継手。
【請求項3】
前記胴部材の内周のうち前記一端の内周とは異なる箇所に前記胴部材の軸線を取り囲むよう配置される溝が形成されており、
前記一方筒体の外周のうち前記胴部材と連結される箇所に前記胴部材の軸線を取り囲むよう配置される溝に沿い得るよう延びる溝が形成されており、
前記連結体の形状が、前記胴部材の軸線を取り囲むよう配置される溝と前記胴部材の軸線を取り囲むよう配置される溝に沿い得るよう延びる溝とに嵌まり得る環状であることを特徴とする請求項2に記載の継手。
【請求項4】
前記変化部がロックナットをさらに有しており、
前記ロックナットが、前記他方筒体のうち前記一方筒体の一端が進入する方の端の外周に形成されている前記雄ねじにかみ合い得ることを特徴とする請求項2に記載の継手。
発明の詳細な説明
【技術分野】
【0001】
本発明は継手に関する。
続きを表示(約 1,700 文字)
【背景技術】
【0002】
特許文献1はユニオン継手を開示する。このユニオン継手は、管状の口金と、ガス配管と、ユニオンナットとを備える。口金は、ガスメータから上方に突出する。口金は、径方向外周に雄ねじ部を有する。ガス配管は、口金の上方に位置する。ガス配管は、径方向外周に鍔部を有する。ユニオンナットは、雌ねじ部、および、突部を有する。雌ねじ部は、口金の雄ねじ部にかみ合い得る。突部は、径方向内周で軸側に突出する。突部は、ガス配管の鍔部に係合する。口金およびガス配管はユニオンナットで接続される。鍔部は、一部に切断部を有するC字状部材である。鍔部は、ガス配管の外周の円環状の溝に嵌め込まれる。鍔部は、弾性変形させることで脱着可能である。ユニオンナットの最小内径は、ガス配管の鍔部を除いた最大外径より大きくなるように形成される。ガス配管の外周とユニオンナットの内周との間を塞ぐ防水部材が設けられる。
【0003】
特許文献1に開示されたユニオン継手によれば、防水性を向上させ得る。
【先行技術文献】
【特許文献】
【0004】
特開2018-123946号公報
【発明の概要】
【発明が解決しようとする課題】
【0005】
特許文献1に開示されたユニオン継手には、接続される物の間の距離の調整が困難な場合には、それら接続される物への接続に要する労力が少なくないという問題点がある。
【0006】
本発明は、これらの問題点を解消するためになされたものである。その目的は、接続される物の間の距離の調整が困難な場合にその接続に要する労力が軽減される継手を提供することにある。
【課題を解決するための手段】
【0007】
図面に基づいて本発明の継手が説明される。なおこの欄で図中の符号を使用したのは発明の内容の理解を助けるためである。この欄で図中の符号を使用することには発明の内容を図示した範囲に限定する意図がない。
【0008】
上述した目的を達成するために、本発明のある局面に従うと、継手10は、流路を形成する筒部20と、筒接続部22とを備える。筒接続部22は、筒部20とは異なる物220へ筒部20を接続する。この接続により、筒部20の流路がその流路とは異なる空間へ連通することとなる。筒部20が、一方筒体30と、他方筒体32と、変化部34とを有する。一方筒体30は筒状である。他方筒体32には、一方筒体30の一端が進入可能である。他方筒体32は、筒状である。変化部34は、一方筒体30の一端が他方筒体32内に進入した際における、他方筒体32の軸線110に沿う方向についての他方筒体32の内部への一方筒体30の一端の進入量を変化せしめる。筒接続部22は、一方筒体30の軸線80に沿う方向についての移動および一方筒体30の外周に沿う回転が可能となるよう一方筒体30の他端に係合される。
【0009】
変化部34は、一方筒体30の一端が他方筒体32内に進入した際における、他方筒体32の軸線110に沿う方向についての他方筒体32の内部への一方筒体30の一端の進入量を変化せしめる。これにより、接続される物200,220の間の距離の調整が困難であっても、それら接続される物200,220への接続に要する労力は軽減される。
【0010】
また、上述された変化部34が、胴部材50と、連結体52とを有していることが望ましい。胴部材50には、他方筒体32のうち一方筒体30の一端が進入する方の端が進入可能である。連結体52は、一方筒体30のうち他方筒体32内に進入する一端とは異なる箇所と胴部材50とを連結する。胴部材50の一端の内周に雌ねじが形成されている。他方筒体32のうち一方筒体30の一端が進入する方の端の外周に雄ねじが形成されている。その雄ねじは、胴部材50の一端の内周に形成されている雌ねじにかみ合い得るものである。
(【0011】以降は省略されています)
この特許をJ-PlatPat(特許庁公式サイト)で参照する
関連特許
大阪瓦斯株式会社
継手
3日前
大阪瓦斯株式会社
給湯装置
1か月前
大阪瓦斯株式会社
燃焼装置
1か月前
大阪瓦斯株式会社
探査装置
1か月前
大阪瓦斯株式会社
ガスコンロ
19日前
大阪瓦斯株式会社
フライヤー
1か月前
大阪瓦斯株式会社
撥水性塗料
1か月前
大阪瓦斯株式会社
ガスコンロ
1か月前
大阪瓦斯株式会社
燃料電池装置
1か月前
大阪瓦斯株式会社
高耐熱組成物
1か月前
大阪瓦斯株式会社
蓄電制御装置
1か月前
大阪瓦斯株式会社
動作制御装置
1か月前
大阪瓦斯株式会社
管理システム
1か月前
大阪瓦斯株式会社
警報システム
1か月前
大阪瓦斯株式会社
警報システム
1か月前
大阪瓦斯株式会社
音声出力装置
1か月前
大阪瓦斯株式会社
ガラス複合体
1か月前
大阪瓦斯株式会社
酸化物複合体
1か月前
大阪瓦斯株式会社
制御システム
1か月前
大阪瓦斯株式会社
地中給電設備
1か月前
大阪瓦斯株式会社
鮮度維持装置
1か月前
大阪瓦斯株式会社
蓄電制御装置
1か月前
大阪瓦斯株式会社
ガラス複合体
1か月前
大阪瓦斯株式会社
蓄電池管理装置
1か月前
大阪瓦斯株式会社
熱供給システム
1か月前
大阪瓦斯株式会社
充放電中継装置
9日前
大阪瓦斯株式会社
充放電中継装置
9日前
大阪瓦斯株式会社
燃焼制御システム
1か月前
大阪瓦斯株式会社
燃料電池システム
1か月前
大阪瓦斯株式会社
熱電併給システム
1か月前
大阪瓦斯株式会社
加熱調理システム
1か月前
大阪瓦斯株式会社
燃料電池システム
1か月前
大阪瓦斯株式会社
燃料電池システム
1か月前
大阪瓦斯株式会社
異常診断システム
1か月前
大阪瓦斯株式会社
燃料電池システム
1か月前
大阪瓦斯株式会社
バイオマス系樹脂
1か月前
続きを見る
他の特許を見る