TOP
|
特許
|
意匠
|
商標
特許ウォッチ
Twitter
他の特許を見る
公開番号
2025136381
公報種別
公開特許公報(A)
公開日
2025-09-19
出願番号
2024034906
出願日
2024-03-07
発明の名称
地中給電設備
出願人
大阪瓦斯株式会社
代理人
弁理士法人R&C
主分類
H02J
50/70 20160101AFI20250911BHJP(電力の発電,変換,配電)
要約
【課題】走行路を移動する移動体の受電装置に地中から非接触で給電を行う地中給電設備を能率よくかつ安価に地中に設置できる状態で提供する。
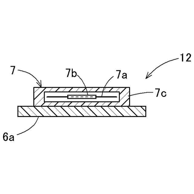
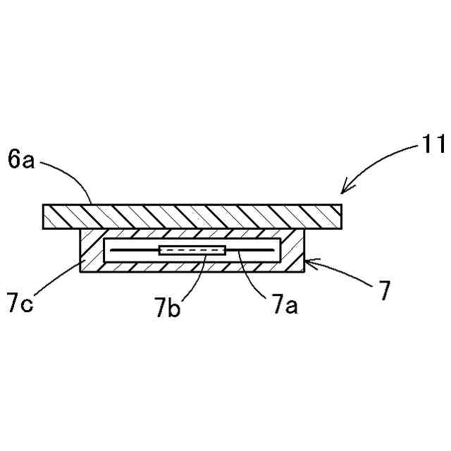
【解決手段】走行路Gを移動する移動体2に地中から非接触で給電する地中給電設備4は、移動体2に備えられた受電装置3に地中から非接触で給電を行う給電装置7を備えている。給電装置7は、地中配管5の直上方に位置させて走行路Gに埋設される地中配管用の防護部材6aに付設され、防護部材6aと共に走行路Gの地中に埋設される。
【選択図】図1
特許請求の範囲
【請求項1】
走行路を移動する移動体に備えられた受電装置に地中から非接触で給電を行うように走行路に埋設される地中給電設備であって、
走行路に埋設された地中配管の直上方に位置させて走行路に埋設される地中配管用の防護部材と、
前記防護部材に付設され、前記防護部材と共に走行路に埋設されて前記受電装置に地中から非接触で給電する給電装置と、
が備えられている地中給電設備。
続きを表示(約 350 文字)
【請求項2】
前記給電装置が前記防護部材の内部に埋め込まれている請求項1に記載の地中給電設備。
【請求項3】
前記防護部材は、樹脂製である請求項2に記載の地中給電設備。
【請求項4】
前記防護部材は、板状であり、
前記給電装置は、前記防護部材の下面側に付設されている請求項1に記載の地中給電設備。
【請求項5】
前記防護部材は、板状であり、
前記給電装置は、前記防護部材の上面側に付設されている請求項1に記載の地中給電設備。
【請求項6】
前記地中配管は、ガス管である請求項1または2に記載の地中給電設備。
【請求項7】
前記地中配管は、水道管である請求項1または2に記載の地中給電設備。
発明の詳細な説明
【技術分野】
【0001】
本発明は、走行路を移動する移動体に備えられた受電装置に地中から非接触で給電を行うように走行路に埋設される地中給電設備に関する。
続きを表示(約 1,200 文字)
【背景技術】
【0002】
特許文献1に示されるように、電動車両に搭載される受電装置と、道路のアスファルト舗装に埋設された地中給電設備(給電装置)とを備え、地中給電設備から電動車両に搭載される受電装置に地中から非接触で電力が供給される走行中給電システムがある。
【先行技術文献】
【特許文献】
【0003】
特開2023-166786号公報
【発明の概要】
【発明が解決しようとする課題】
【0004】
電動車両の走行距離を確保するのには、電動車両に搭載されるバッテリーを大容量化する、あるいは地中給電設備に高頻度でアプローチする必要がある。電池の大容量化が試行され、また高頻度での充電を可能にする地中給電設備の研究が進められている。しかし、特に、バスなどの大型車両においては、バッテリーの大型化がコスト高であるため、充電回数によって走行距離を確保することが検討されている。非接触で給電を行う給電システムに関する研究開発が進んでいるものの、コストの抑止や速やかな導入を可能にするのには、地中給電設備を走行路の地中に効率よくかつ安価に設置する必要がある。
【0005】
本発明は、走行路の地中に効率よくかつ安価に設置できる地中給電設備を提供する。
【課題を解決するための手段】
【0006】
本発明は、走行路を移動する移動体に備えられた受電装置に地中から非接触で給電を行うように走行路に埋設される地中給電設備であって、
走行路に埋設された地中配管の直上方に位置させて走行路に埋設される地中配管用の防護部材と、
前記防護部材に付設され、前記防護部材と共に走行路に埋設されて前記受電装置に地中から非接触で給電する給電装置と、
が備えられている。
【0007】
地中配管を埋設する工事の一環としての工事で地中配管の直上方に防護部材が埋設され、後に掘削が行われた際、掘削具が防護部材に触れることによって地中配管の存在を認識させて地中配管の損傷を防ぐ防護が図られる。本構成によると、防護部材を埋設する作業が行われると、給電装置が防護部材と共に走行路に埋設されるので、地中給電設備を地中に設置するための特別な埋設作業を省略できる。つまり、地中給電設備の埋設のための特別な埋設作業をせずに効率よくかつ安価に地中給電設備を走行路の地中に設置できる。
【0008】
本発明においては、
前記給電装置が前記防護部材の内部に埋め込まれていると好適である。
【0009】
本構成によると、給電装置のカバー部材に防護部材を活用して給電装置を安価に保護できる。
【0010】
本発明においては、
前記防護部材は、樹脂製であると好適である。
(【0011】以降は省略されています)
この特許をJ-PlatPat(特許庁公式サイト)で参照する
関連特許
大阪瓦斯株式会社
継手
3日前
大阪瓦斯株式会社
撥水性塗料
1か月前
大阪瓦斯株式会社
ガスコンロ
19日前
大阪瓦斯株式会社
動作制御装置
1か月前
大阪瓦斯株式会社
制御システム
1か月前
大阪瓦斯株式会社
充放電中継装置
9日前
大阪瓦斯株式会社
充放電中継装置
9日前
大阪瓦斯株式会社
エンジンシステム
1か月前
大阪瓦斯株式会社
フレキシブル管用継手
3日前
大阪瓦斯株式会社
料理レシピ提案システム
1か月前
大阪瓦斯株式会社
二酸化炭素回収システム
1か月前
大阪瓦斯株式会社
二酸化炭素回収システム
1か月前
大阪瓦斯株式会社
平板型燃料電池スタック
23日前
大阪瓦斯株式会社
共電解メタネーション装置
22日前
大阪瓦斯株式会社
共電解メタネーション装置
22日前
大阪瓦斯株式会社
水素製造装置及びその運転方法
1か月前
大阪瓦斯株式会社
チタニア被覆銀を含有する組成物
1か月前
大阪瓦斯株式会社
電力融通システム及び電力融通方法
1か月前
大阪瓦斯株式会社
船舶及びその航行計画を生成する情報処理装置
23日前
大阪瓦斯株式会社
電気化学モジュールおよびエネルギーシステム
1か月前
大阪瓦斯株式会社
電気化学モジュールおよびエネルギーシステム
1か月前
大阪瓦斯株式会社
二酸化炭素回収方法及び二酸化炭素回収システム
1か月前
大阪瓦斯株式会社
二酸化炭素回収方法及び二酸化炭素回収システム
1か月前
大阪瓦斯株式会社
貯湯式給湯システム及び貯湯式給湯システムの使用方法
1か月前
大阪瓦斯株式会社
電気化学素子積層体、電気化学装置およびエネルギーシステム
1か月前
大阪瓦斯株式会社
電気化学モジュール、電気化学装置およびエネルギーシステム
1か月前
大阪瓦斯株式会社
エンジンシステム、及びそれを備えたコージェネレーション設備
1か月前
大阪瓦斯株式会社
板状支持体、電気化学素子、電気化学装置およびエネルギーシステム
1か月前
大阪瓦斯株式会社
共電解メタネーション装置及び共電解メタネーション装置の運転方法
22日前
大阪瓦斯株式会社
電気化学素子の製造方法、電気化学素子、電気化学モジュール、固体酸化物形燃料電池、固体酸化物形電解セル、電気化学装置およびエネルギーシステム
1か月前
大阪瓦斯株式会社
電気化学素子の製造方法、電気化学素子、電気化学モジュール、固体酸化物形燃料電池、固体酸化物形電解セル、電気化学装置およびエネルギーシステム
1か月前
大阪瓦斯株式会社
電気化学素子の製造方法、電気化学素子、電気化学モジュール、固体酸化物形燃料電池、固体酸化物形電解セル、電気化学装置およびエネルギーシステム
1か月前
個人
単極モータ
1か月前
個人
電気を重力で発電装置
9日前
キヤノン電子株式会社
モータ
8日前
キヤノン電子株式会社
モータ
16日前
続きを見る
他の特許を見る