TOP
|
特許
|
意匠
|
商標
特許ウォッチ
Twitter
他の特許を見る
公開番号
2025135291
公報種別
公開特許公報(A)
公開日
2025-09-18
出願番号
2024033056
出願日
2024-03-05
発明の名称
異常診断装置
出願人
大阪瓦斯株式会社
代理人
弁理士法人R&C
主分類
H01M
8/04664 20160101AFI20250910BHJP(基本的電気素子)
要約
【課題】燃料電池装置で発生する異常の内容を適切に診断できる異常診断装置の提供。
【解決手段】異常診断装置が、水情報測定器によって改質用水の電気伝導度が所定の高伝導度状態であることが測定されているという第1判定条件が満たされ、且つ、水情報測定器で測定される電気伝導度が改質用水の水質悪化の指標となる所定の閾値以上であるという第2判定条件が満たされる場合、改質用水の水質悪化が発生していると判定する。
【選択図】図3
特許請求の範囲
【請求項1】
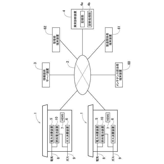
施設に設置される燃料電池装置から情報通信回線を介して受信した情報に基づいて前記燃料電池装置で発生する異常の内容を診断する異常診断装置であって、
前記燃料電池装置は、外側容器、及び、当該外側容器の内部の外側容器内空間に設けられる内側容器を有するホットモジュールを備え、
前記ホットモジュールは、前記内側容器の内部の内側空間に、供給される改質用水を気化させる気化器、原燃料を前記気化器から供給される水蒸気を用いて水蒸気改質して燃料ガスを生成する改質器、前記改質器で生成された前記燃料ガスを用いて発電する複数の燃料電池セルを有するセルスタック、及び、前記セルスタックから排出されるオフガスを燃焼する燃焼部を有し、前記内側容器には外部から前記内側空間への空気の供給に用いられる給気口と前記内側空間から外部への排気に用いられる排気口とが設けられ、
前記燃料電池装置は、前記内側空間の外部から前記改質器へ供給される前記原燃料が流れる原燃料供給路と、前記原燃料供給路を介して前記改質器に前記原燃料を供給する原燃料ブロアと、前記内側容器の外部から前記給気口へ供給される空気が流れる空気供給路と、前記空気供給路及び前記給気口を介して前記内側空間に空気を供給する空気ブロアと、前記気化器に供給される前記改質用水が流れる改質用水供給路と、前記改質用水を前記改質用水供給路を介して前記気化器に供給する改質用水ポンプと、前記改質用水供給路を流れる前記改質用水の電気伝導度を示す水情報を測定する水情報測定器と、前記燃料電池装置の動作を制御する制御装置とを備え、
前記水情報測定器によって前記改質用水の電気伝導度が所定の高伝導度状態であることが測定されているという第1判定条件が満たされ、且つ、前記水情報測定器で測定される電気伝導度が前記改質用水の水質悪化の指標となる所定の閾値以上であるという第2判定条件が満たされる場合、前記改質用水の水質悪化が発生していると判定する異常診断装置。
続きを表示(約 850 文字)
【請求項2】
前記第1判定条件が満たされ、且つ、前記第2判定条件が満たされず、且つ、前記改質用水ポンプの動作に異常があるという第3判定条件が満たされる場合、前記改質用水ポンプの異常が発生していると判定する請求項1に記載の異常診断装置。
【請求項3】
前記燃料電池装置は、前記改質器の温度を測定する改質器温度測定器を備え、
前記第1判定条件が満たされ、且つ、前記第2判定条件が満たされず、且つ、前記第3判定条件が満たされず、且つ、発電時に前記改質器温度測定器が測定する前記改質器の温度が所定温度未満であり且つ起動工程での前記改質器の温度の上昇速度が所定速度以下であるという第4判定条件が満たされる場合、前記水情報測定器の異常が発生していると判定する請求項2に記載の異常診断装置。
【請求項4】
前記燃料電池装置は、前記外側容器の内部の前記外側容器内空間の空気の温度を測定する空間温度測定器とを備え、
前記第1判定条件が満たされ、且つ、前記第2判定条件が満たされず、且つ、前記第3判定条件が満たされず、且つ、前記第4判定条件が満たされず、且つ、起動時での前記空間温度測定器が測定する前記外側容器内空間の温度が所定の低温状態であるという第5判定条件が満たされる場合、前記改質用水の供給系統の凍結という異常が発生していると判定する請求項3に記載の異常診断装置。
【請求項5】
前記燃料電池装置は、前記外側容器の前記外側容器内空間の空気の温度を測定する空間温度測定器を備え、
前記第1判定条件が満たされ、且つ、前記第2判定条件が満たされず、且つ、前記第3判定条件が満たされず、且つ、前記第4判定条件が満たされず、且つ、起動時での前記空間温度測定器が測定する前記外側容器内空間の温度が所定の低温状態であるという第5判定条件が満たされない場合、前記改質用水の供給系統の閉塞という異常が発生していると判定する請求項3に記載の異常診断装置。
発明の詳細な説明
【技術分野】
【0001】
本発明は、施設に設置される燃料電池装置から情報通信回線を介して受信した情報に基づいて燃料電池装置で発生する異常の内容を診断する異常診断装置に関する。
続きを表示(約 2,300 文字)
【背景技術】
【0002】
特許文献1(特開2016-184319号公報)には、発電システムの故障部位を診断及び特定でき、故障時の誤診断を抑えられるシステムが記載されている。
具体的には、特許文献1に記載のシステムでは、発電システムが故障した場合、発電装置の各部位に設けられた複数の検出手段それぞれでの検出信号履歴を含む故障データが生成される。そして、データベースに記録された過去故障時データの中から、今回の故障時の故障データと相関関係が強い相関故障時データが選択される。更に、選択された相関故障時データに対応付けられた故障診断結果及び故障対応記録が出力される。このように、特許文献1に記載のシステムでは、今回の故障が発生した場合に検出される検出信号履歴を含む故障時データと相関関係が強い過去故障時データを特定し、今回の故障も、その相関関係が強い過去故障時データと同様の故障原因によって発生したものと見なしている。
【先行技術文献】
【特許文献】
【0003】
特開2016-184319号公報
【発明の概要】
【発明が解決しようとする課題】
【0004】
相関関係の強さという統計的な手法によらずに、燃料電池装置の動作状態を診断する手法も求められている。
【0005】
本発明は、上記の課題に鑑みてなされたものであり、その目的は、燃料電池装置で発生する異常の内容を適切に診断できる異常診断装置を提供する点にある。
【課題を解決するための手段】
【0006】
上記目的を達成するための本発明に係る異常診断装置の特徴構成は、施設に設置される燃料電池装置から情報通信回線を介して受信した情報に基づいて前記燃料電池装置で発生する異常の内容を診断する異常診断装置であって、
前記燃料電池装置は、外側容器、及び、当該外側容器の内部の外側容器内空間に設けられる内側容器を有するホットモジュールを備え、
前記ホットモジュールは、前記内側容器の内部の内側空間に、供給される改質用水を気化させる気化器、原燃料を前記気化器から供給される水蒸気を用いて水蒸気改質して燃料ガスを生成する改質器、前記改質器で生成された前記燃料ガスを用いて発電する複数の燃料電池セルを有するセルスタック、及び、前記セルスタックから排出されるオフガスを燃焼する燃焼部を有し、前記内側容器には外部から前記内側空間への空気の供給に用いられる給気口と前記内側空間から外部への排気に用いられる排気口とが設けられ、
前記燃料電池装置は、前記内側空間の外部から前記改質器へ供給される前記原燃料が流れる原燃料供給路と、前記原燃料供給路を介して前記改質器に前記原燃料を供給する原燃料ブロアと、前記内側容器の外部から前記給気口へ供給される空気が流れる空気供給路と、前記空気供給路及び前記給気口を介して前記内側空間に空気を供給する空気ブロアと、前記気化器に供給される前記改質用水が流れる改質用水供給路と、前記改質用水を前記改質用水供給路を介して前記気化器に供給する改質用水ポンプと、前記改質用水供給路を流れる前記改質用水の電気伝導度を示す水情報を測定する水情報測定器と、前記燃料電池装置の動作を制御する制御装置とを備え、
前記水情報測定器によって前記改質用水の電気伝導度が所定の高伝導度状態であることが測定されているという第1判定条件が満たされ、且つ、前記水情報測定器で測定される電気伝導度が前記改質用水の水質悪化の指標となる所定の閾値以上であるという第2判定条件が満たされる場合、前記改質用水の水質悪化が発生していると判定する点にある。
【0007】
上記特徴構成によれば、異常診断装置は、水情報測定器によって改質用水の電気伝導度が所定の高伝導度状態であることが測定されているという第1判定条件が満たされ、且つ、水情報測定器で測定される電気伝導度が改質用水の水質悪化の指標となる所定の閾値以上であるという第2判定条件が満たされる場合、改質用水の水質悪化が発生していると判定する。つまり、異常診断装置は、水情報測定器に現れる異常についての診断結果を自動で決定できる。
【0008】
例えば、燃料電池装置が有する機器の動作や測定結果等に異常が現れたという事実のみに基づいてメンテナンス担当者などが出動した場合、その場でメンテナンス担当者がその異常についての診断結果を下す必要がある。ところが本特徴構成では、異常診断装置がその異常についての診断結果の特定を自動で行うため、メンテナンス担当者などはその診断結果に応じた準備を事前に行った上で出動できる。
従って、燃料電池装置で発生する異常の内容を適切に診断できる異常診断装置を提供できる。
【0009】
本発明に係る異常診断装置の別の特徴構成は、前記第1判定条件が満たされ、且つ、前記第2判定条件が満たされず、且つ、前記改質用水ポンプの動作に異常があるという第3判定条件が満たされる場合、前記改質用水ポンプの異常が発生していると判定する点にある。
【0010】
上記特徴構成によれば、異常診断装置は、第1判定条件が満たされ、且つ、第2判定条件が満たされず、且つ、改質用水ポンプの動作に異常があるという第3判定条件が満たされる場合、改質用水ポンプの異常が発生しているという診断を自動で行うことができる。
(【0011】以降は省略されています)
この特許をJ-PlatPat(特許庁公式サイト)で参照する
関連特許
大阪瓦斯株式会社
給湯装置
1か月前
大阪瓦斯株式会社
燃焼装置
28日前
大阪瓦斯株式会社
探査装置
27日前
大阪瓦斯株式会社
撥水性塗料
26日前
大阪瓦斯株式会社
ガスコンロ
1か月前
大阪瓦斯株式会社
フライヤー
1か月前
大阪瓦斯株式会社
ガスコンロ
9日前
大阪瓦斯株式会社
警報システム
28日前
大阪瓦斯株式会社
制御システム
20日前
大阪瓦斯株式会社
ガラス複合体
29日前
大阪瓦斯株式会社
ガラス複合体
29日前
大阪瓦斯株式会社
音声出力装置
28日前
大阪瓦斯株式会社
警報システム
28日前
大阪瓦斯株式会社
管理システム
28日前
大阪瓦斯株式会社
蓄電制御装置
27日前
大阪瓦斯株式会社
高耐熱組成物
27日前
大阪瓦斯株式会社
動作制御装置
27日前
大阪瓦斯株式会社
酸化物複合体
27日前
大阪瓦斯株式会社
熱供給システム
1か月前
大阪瓦斯株式会社
燃料電池システム
1か月前
大阪瓦斯株式会社
燃料電池システム
1か月前
大阪瓦斯株式会社
加熱調理システム
1か月前
大阪瓦斯株式会社
燃料電池システム
1か月前
大阪瓦斯株式会社
音声出力システム
1か月前
大阪瓦斯株式会社
異常診断システム
1か月前
大阪瓦斯株式会社
異常診断システム
1か月前
大阪瓦斯株式会社
熱電併給システム
1か月前
大阪瓦斯株式会社
燃焼制御システム
1か月前
大阪瓦斯株式会社
燃料電池システム
29日前
大阪瓦斯株式会社
燃料電池システム
1か月前
大阪瓦斯株式会社
燃料電池システム
1か月前
大阪瓦斯株式会社
燃料電池システム
1か月前
大阪瓦斯株式会社
燃料電池システム
1か月前
大阪瓦斯株式会社
燃料電池システム
1か月前
大阪瓦斯株式会社
燃料電池システム
1か月前
大阪瓦斯株式会社
燃料電池システム
1か月前
続きを見る
他の特許を見る