TOP
|
特許
|
意匠
|
商標
特許ウォッチ
Twitter
他の特許を見る
公開番号
2025142738
公報種別
公開特許公報(A)
公開日
2025-10-01
出願番号
2024042259
出願日
2024-03-18
発明の名称
燃料電池システム
出願人
大阪瓦斯株式会社
代理人
弁理士法人R&C
主分類
H01M
8/04 20160101AFI20250924BHJP(基本的電気素子)
要約
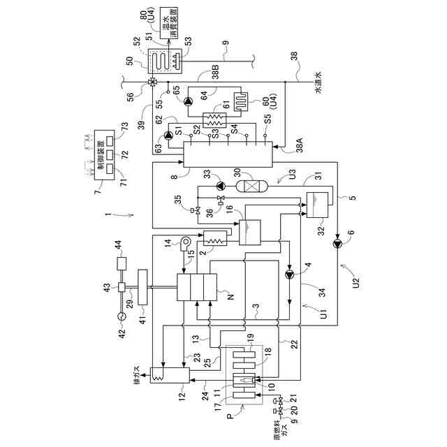
【課題】効率よく燃料電池を稼働させ続けられる燃料電池システムの提供。
【解決手段】水素の供給により発電する燃料電池と、燃料電池の排熱を湯水に蓄熱する貯湯タンク8と、を有する蓄熱ユニットと、貯湯タンク8に貯湯された湯水を消費する第一消費部80と、複数の蓄熱ユニットの夫々の貯湯タンク8に対応して設けられ、貯湯タンク8から第一消費部80へ湯水を供給する際の湯量を調節する複数の調節機構56と、第一消費部80の要求に応じて複数の調節機構56の状態を変更させることによって複数の蓄熱ユニットの少なくとも一つから第一消費部80への湯水の供給を現出させる状態変更部90と、が備えられている。
【選択図】図2
特許請求の範囲
【請求項1】
水素含有ガス及び酸素含有ガスの供給により発電する燃料電池と、前記燃料電池の排熱を湯水に蓄熱する貯湯タンクと、を有する蓄熱ユニットと、
前記貯湯タンクに貯湯された前記湯水を消費する第一消費部と、
複数の前記蓄熱ユニットの夫々の前記貯湯タンクに対応して設けられ、前記貯湯タンクから前記第一消費部へ前記湯水を供給する際の湯量を調節する複数の調節機構と、
複数の前記蓄熱ユニットの夫々の前記貯湯タンクに対応して設けられ、前記貯湯タンクにおける蓄熱量を検出する検出部と、
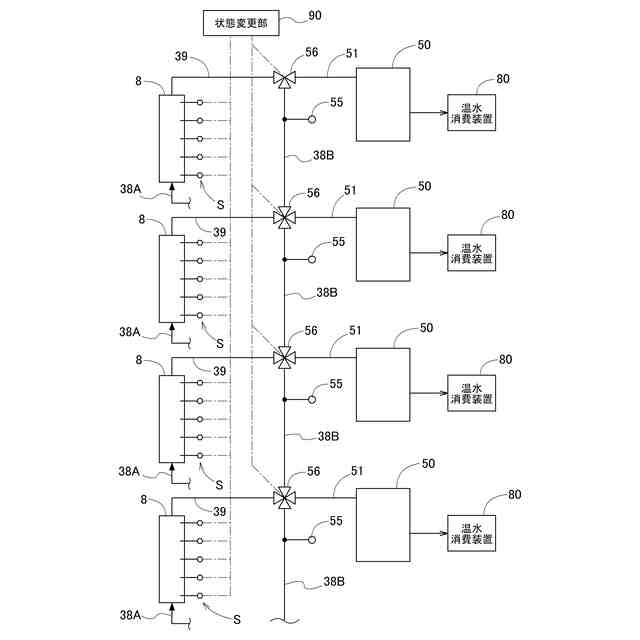
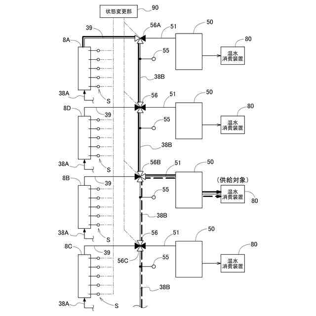
前記第一消費部の要求に応じて前記複数の調節機構の状態を変更させることによって前記複数の蓄熱ユニットの少なくとも一つから前記第一消費部への前記湯水の供給を現出させる状態変更部と、が備えられ、
前記状態変更部は、前記複数の貯湯タンクにおける夫々の前記蓄熱量に応じて前記複数の調節機構の状態を変更させるように構成され、かつ、前記蓄熱量の多い前記貯湯タンクを優先して前記第一消費部へ前記湯水を供給させるように構成されている燃料電池システム。
続きを表示(約 620 文字)
【請求項2】
前記第一消費部に、給湯温度を設定する設定部と、前記調節機構による調節後の前記湯水を前記給湯温度に加熱する加熱部が備えられている請求項1に記載の燃料電池システム。
【請求項3】
前記調節機構は、上水道の給水源から前記貯湯タンクを経由せずに供給された水と、前記湯水と、を混合し、
前記加熱部に、前記調節機構による混合後の前記湯水が供給される請求項2に記載の燃料電池システム。
【請求項4】
前記貯湯タンクから取り出された前記湯水が再び前記貯湯タンクに戻る湯水循環路を流れる前記湯水から熱交換を受けることによって前記貯湯タンクに蓄熱された熱量を消費する第二消費部が備えられている請求項1に記載の燃料電池システム。
【請求項5】
複数の前記第一消費部が備えられ、
前記状態変更部は、複数の前記第一消費部のうち前記湯水の要求がある前記第一消費部と前記蓄熱量の多い前記貯湯タンクとを連通させるように、前記複数の調節機構の状態を変更させるように構成されている請求項1に記載の燃料電池システム。
前記貯湯タンク
【請求項6】
前記状態変更部は、前記複数の貯湯タンクのうち前記蓄熱量が最も多い前記貯湯タンクの前記湯水を前記第一消費部へ供給するように、前記複数の調節機構の状態を変更させるように構成されている請求項1に記載の燃料電池システム。
発明の詳細な説明
【技術分野】
【0001】
本発明は、燃料電池システムに関する。
続きを表示(約 1,800 文字)
【背景技術】
【0002】
例えば特許文献1に開示される燃料電池システムでは、燃料電池の排熱が貯湯タンクの湯水に貯湯され、湯水が給湯等に利用される。
【先行技術文献】
【特許文献】
【0003】
特許第6647030号公報
【発明の概要】
【発明が解決しようとする課題】
【0004】
しかし、例えば夏季等において給湯需要等が減少すると、貯湯タンクの湯水が余ってしまい、貯湯タンクが高温の湯水で満畜になってしまって、燃料電池の冷却などを行えなくなる等の不具合が発生する可能性が考えられる。こうなると、燃料電池の発電出力を低下させて発熱量を抑制したり、燃料電池の排熱を放出するためにラジエータを装着したりすることが考えられる。燃料電池の発電出力が低下すると、燃料電池を稼働させるメリットが低下する。また、ラジエータで排熱を放出する構成であると、ラジエータファンなどの補機を稼働させるためのランニングコストが増大し、燃料電池を稼働させるメリットが低下する。
【0005】
本発明の目的は、効率よく燃料電池を稼働させ続けられる燃料電池システムを提供することにある。
【課題を解決するための手段】
【0006】
本発明の燃料電池システムには、水素含有ガス及び酸素含有ガスの供給により発電する燃料電池と、前記燃料電池の排熱を湯水に蓄熱する貯湯タンクと、を有する蓄熱ユニットと、前記貯湯タンクに貯湯された前記湯水を消費する第一消費部と、複数の前記蓄熱ユニットの夫々の前記貯湯タンクに対応して設けられ、前記貯湯タンクから前記第一消費部へ前記湯水を供給する際の湯量を調節する複数の調節機構と、複数の前記蓄熱ユニットの夫々の前記貯湯タンクに対応して設けられ、前記貯湯タンクにおける蓄熱量を検出する検出部と、前記第一消費部の要求に応じて前記複数の調節機構の状態を変更させることによって前記複数の蓄熱ユニットの少なくとも一つから前記第一消費部への前記湯水の供給を現出させる状態変更部と、が備えられ、前記状態変更部は、前記複数の貯湯タンクにおける夫々の前記蓄熱量に応じて前記複数の調節機構の状態を変更させるように構成され、かつ、前記蓄熱量の多い前記貯湯タンクを優先して前記第一消費部へ前記湯水を供給させるように構成されていることを特徴とする。
【0007】
本発明によると、第一消費部が湯水を消費する際に、複数の調節機構の状態が変更されることによって、複数の蓄熱ユニットの少なくとも一つから湯水の供給を受けられる。このため、湯水が余っている貯湯タンクの湯水を第一消費部に分け与えることが可能となる。このため、貯湯タンクが高温の湯水で満杯になりそうな場合であっても、貯湯タンクの湯水が第一消費部へ放出され、貯湯タンクに新たな低温の水が供給される。これにより、燃料電池の発電出力を維持し続け易くなり、燃料電池を稼働させるメリットを享受し続けられる。また、本発明であれば、複数の貯湯タンクのうちから蓄熱量の大小に対応して、湯水を第一消費部へ供給可能となる。これにより、複数の貯湯タンクのうちの一つが偏って高温の湯水で満杯になりそうな場合であっても、その貯湯タンクの蓄熱量が優先的に放熱される。その結果、夫々の蓄熱ユニットにおける燃料電池の発電出力を抑制せずに、燃料電池の運転の継続が容易になる。このように、本発明であれば、効率よく燃料電池を稼働させ続けられる燃料電池システムが実現される。
【0008】
本発明において、前記第一消費部に、給湯温度を設定する設定部と、前記調節機構による調節後の前記湯水を前記給湯温度に加熱する加熱部が備えられていると好適である。
【0009】
本構成であれば、蓄熱ユニットの貯湯タンクから湯水の温度が、第一消費部が要求する設定温度よりも低い場合であっても、加熱部によって湯水が設定温度まで加熱される。これにより、第一消費部の使用者は、希望の設定温度で湯水の供給を受けられる。
【0010】
本発明において、前記調節機構は、上水道の給水源から前記貯湯タンクを経由せずに供給された水と、前記湯水と、を混合し、前記加熱部に、前記調節機構による混合後の前記湯水が供給されると好適である。
(【0011】以降は省略されています)
この特許をJ-PlatPat(特許庁公式サイト)で参照する
関連特許
大阪瓦斯株式会社
探査装置
1か月前
大阪瓦斯株式会社
燃焼装置
1か月前
大阪瓦斯株式会社
給湯装置
1か月前
大阪瓦斯株式会社
ガスコンロ
13日前
大阪瓦斯株式会社
撥水性塗料
1か月前
大阪瓦斯株式会社
ガスコンロ
1か月前
大阪瓦斯株式会社
フライヤー
1か月前
大阪瓦斯株式会社
酸化物複合体
1か月前
大阪瓦斯株式会社
高耐熱組成物
1か月前
大阪瓦斯株式会社
蓄電制御装置
1か月前
大阪瓦斯株式会社
管理システム
1か月前
大阪瓦斯株式会社
警報システム
1か月前
大阪瓦斯株式会社
警報システム
1か月前
大阪瓦斯株式会社
音声出力装置
1か月前
大阪瓦斯株式会社
ガラス複合体
1か月前
大阪瓦斯株式会社
ガラス複合体
1か月前
大阪瓦斯株式会社
動作制御装置
1か月前
大阪瓦斯株式会社
制御システム
24日前
大阪瓦斯株式会社
蓄電制御装置
1か月前
大阪瓦斯株式会社
鮮度維持装置
1か月前
大阪瓦斯株式会社
地中給電設備
1か月前
大阪瓦斯株式会社
熱供給システム
1か月前
大阪瓦斯株式会社
蓄電池管理装置
1か月前
大阪瓦斯株式会社
充放電中継装置
3日前
大阪瓦斯株式会社
充放電中継装置
3日前
大阪瓦斯株式会社
燃料電池システム
1か月前
大阪瓦斯株式会社
音声出力システム
1か月前
大阪瓦斯株式会社
燃料電池システム
1か月前
大阪瓦斯株式会社
燃焼制御システム
1か月前
大阪瓦斯株式会社
燃料電池システム
1か月前
大阪瓦斯株式会社
熱電併給システム
1か月前
大阪瓦斯株式会社
異常診断システム
1か月前
大阪瓦斯株式会社
異常診断システム
1か月前
大阪瓦斯株式会社
燃料電池システム
1か月前
大阪瓦斯株式会社
燃料電池システム
1か月前
大阪瓦斯株式会社
燃料電池システム
1か月前
続きを見る
他の特許を見る