TOP
|
特許
|
意匠
|
商標
特許ウォッチ
Twitter
他の特許を見る
公開番号
2025122449
公報種別
公開特許公報(A)
公開日
2025-08-21
出願番号
2024017943
出願日
2024-02-08
発明の名称
衣類乾燥機
出願人
大阪瓦斯株式会社
代理人
弁理士法人R&C
主分類
D06F
58/02 20060101AFI20250814BHJP(繊維または類似のものの処理;洗濯;他に分類されない可とう性材料)
要約
【課題】衣類乾燥機の上方の空間がなくても機器の取外し・取付を可能にする、美観に優れた衣類乾燥機を提供すること。
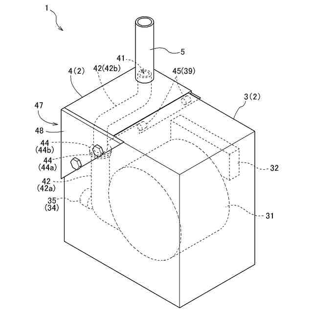
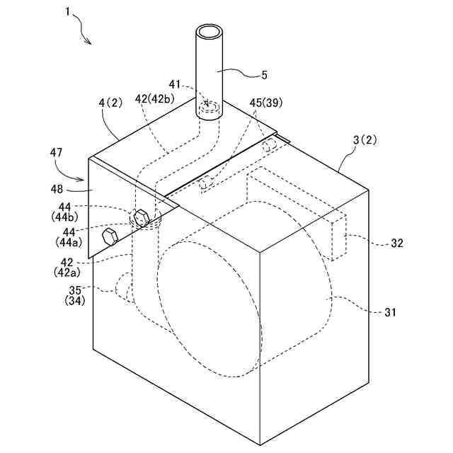
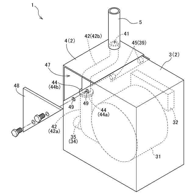
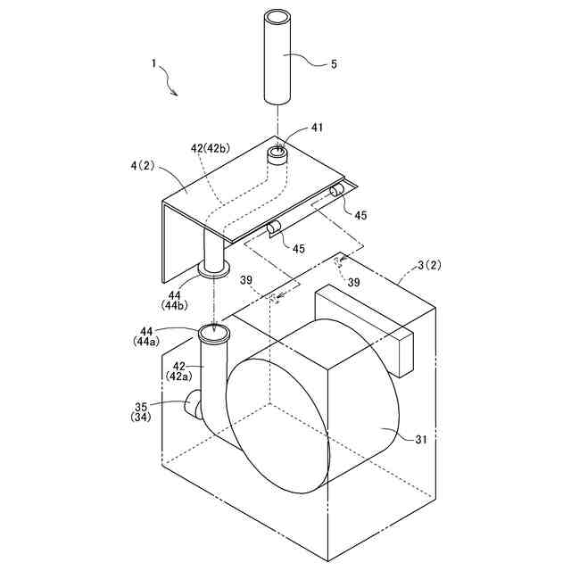
【解決手段】分離可能部4と本体構成部3とを有する外装部2を備える衣類乾燥機1であって、本体構成部3は、衣類を収容して乾燥させる回転ドラム31と、一端が回転ドラム31に連通接続し、湿気を含む加熱空気が通流する本体構成部側排湿経路42aと、加熱空気を外部に排気する排湿ファン34と、を有し、排湿ファン34は本体構成部側排湿経路42aに配設されており、分離可能部4は、分離可能部4の内側の空間と、加熱空気を外部に排出する排湿口41と、空間に配設され、排湿口41に接続する分離可能部側排湿経路42bと、本体構成部側排湿経路42aと分離可能部側排湿経路42bを接続する接続部44と、外部から空間に連通する点検口47と、点検口を閉塞する点検蓋48と、を有する衣類乾燥機。
【選択図】図1
特許請求の範囲
【請求項1】
分離可能部と本体構成部とを有する外装部を備える衣類乾燥機であって、
前記本体構成部は、
衣類を収容して乾燥させる回転ドラムと、
一端が前記回転ドラムに連通接続し、湿気を含む加熱空気が通流する本体構成部側排湿経路と、
前記加熱空気を外部に排気する排湿ファンと、を有し、
前記排湿ファンは前記本体構成部側排湿経路に配設されており、
前記分離可能部は、
前記分離可能部の内側の空間と、
前記加熱空気を外部に排出する排湿口と、
前記空間に配設され、前記排湿口に接続する分離可能部側排湿経路と、
前記本体構成部側排湿経路と前記分離可能部側排湿経路を接続する接続部と、
外部から前記空間に連通する点検口と、
前記点検口を閉塞する点検蓋と、を有する衣類乾燥機。
続きを表示(約 450 文字)
【請求項2】
前記分離可能部と前記本体構成部は分離可能である、請求項1に記載の衣類乾燥機。
【請求項3】
前記分離可能部と前記本体構成部が接続固定可能な嵌合部を、前記分離可能部及び前記本体構成部の対応する位置に少なくとも1つ以上備える、請求項2に記載の衣類乾燥機。
【請求項4】
前記分離可能部の前記嵌合部は、前記分離可能部の後方に、手前側に突き出す少なくとも1つ以上の突起部を有し、
前記本体構成部の前記嵌合部は、前記本体構成部に、前記突起部に対向可能な位置に少なくとも1つ以上の孔部を有し、
前記突起部が前記孔部に嵌り込むことにより前記分離可能部と前記外装部が連結可能である、請求項3に記載の衣類乾燥機。
【請求項5】
前記点検蓋の前記本体構成部の一部と重なる辺に、少なくとも1つ以上の係止孔部を有し、
前記点検蓋は、前記係止孔部を介して留具によって前記本体構成部に固定される、請求項3又は4に記載の衣類乾燥機。
発明の詳細な説明
【技術分野】
【0001】
本発明は、湿気を含む加熱した空気の排気・排湿経路を備えた衣類乾燥機に関する。
続きを表示(約 2,200 文字)
【背景技術】
【0002】
衣類乾燥機は衣類を収納する回転ドラムを有し、回転ドラムを回転させて衣類を動かしながら、加熱した空気を当てることにより衣類に含まれる水蒸気を分離させている。衣類乾燥機には、電気式とガス式の2つの乾燥方式がある。電気式は、電気を使用し、内部に備えたヒーターで衣類を乾燥するヒーター式と、空気を熱交換器により温風に変えて衣類を乾燥するヒートポンプ式がある。ガス式は、ガスを使用して約80~100℃の加熱空気により衣類を乾燥する。また、衣類乾燥機で発生する水蒸気を含む空気は、本体から外部に放出する必要がある。電気式の衣類乾燥機で発生する水蒸気を含む空気は、外気若しくは水で除湿したうえで室内に排気している。ガス式の衣類乾燥機を室内で利用する場合、衣類乾燥機本体に排湿口を設け、排湿口に排湿管を接続し、排湿管を屋外まで設置して、湿気を含んだ加熱空気を屋外に排出している。
従来、特許文献1に示すように、衣類乾燥機の排湿口は、美観のために機器本体の上方後部に設けられることが多い。また、衣類乾燥機は洗濯機の上方に取り付けられることが多い。
【先行技術文献】
【特許文献】
【0003】
特開2013-99459号公報
特開平10-179993号公報
【発明の概要】
【発明が解決しようとする課題】
【0004】
洗濯機の蓋を開けられるようにするため、洗濯機と衣類乾燥機との間のスペースを確保する必要がある。そのため、衣類乾燥機の上面と天井との間のスペースが小さくなり、衣類乾燥機の上面に設けた排湿口と排湿筒を接続する作業等の作業スペースが小さくなる。その結果、機器本体を取り付ける際の作業性が悪くなり、また、機器の故障時や取替時においても、機器本体を取り外す際の作業性が悪くなる。しかし、作業性をよくするために機器上方にメンテナンスのためのスペースを設けると、設置条件が厳しくなる。
【0005】
特許文献2には、多くの空間を必要とせずかつ美観に優れた排湿方向変更装置および衣類乾燥機に関する技術であり、排出口の位置を任意に変更することによりガスの流れの方向を任意に変更することができる排湿室を備えることで、排湿室の厚さが薄くてもガスの流れ方向を変更することができ、衣類乾燥機の上方に空間の余裕がなくとも容易に設置することができることが開示されている。しかし、特許文献2の場合であっても、機器本体の排湿管への取り付け作業、機器本体を排湿管から取り外す作業が困難である。
【0006】
また、排湿口を機器本体の前面に設ける構成とすると、機器本体を取り外しやすくなるが、配管が前面にあることで圧迫感があり美観が損なわれる。また、使用者が排湿管に触れやすくなることで、排湿管が外れて湿気を含んだ加熱空気が屋内に滞留して室内温度や湿度が上昇する恐れがある。
【0007】
本発明は、上記の課題に鑑みてなされたものであり、その目的は、衣類乾燥機の上方の空間がなくても機器の取外し・取付を可能にする、美観に優れた衣類乾燥機を提供する点にある。
【課題を解決するための手段】
【0008】
上記目的を達成するための本発明に係る衣類乾燥機の特徴構成は、
分離可能部と本体構成部とを有する外装部を備える衣類乾燥機であって、
前記本体構成部は、
衣類を収容して乾燥させる回転ドラムと、
一端が前記回転ドラムに連通接続し、湿気を含む加熱空気が通流する本体構成部側排湿経路と、
前記加熱空気を外部に排気する排湿ファンと、を有し、
前記排湿ファンは前記本体構成部側排湿経路に配設されており、
前記分離可能部は、
前記分離可能部の内側の空間と、
前記加熱空気を外部に排出する排湿口と、
前記空間に配設され、前記排湿口に接続する分離可能部側排湿経路と、
前記本体構成部側排湿経路と前記分離可能部側排湿経路を接続する接続部と、
外部から前記空間に連通する点検口と、
前記点検口を閉塞する点検蓋と、を有する点にある。
【0009】
回転ドラム内に収容した衣類は、加熱空気により乾燥させられる。そして、回転ドラム内で衣類から生じる湿気を含んだ加熱空気は、排湿ファンによって回転ドラム、排湿経路の順に通り、排湿管を経て排湿口から屋外に排出される。ここで、衣類乾燥機の上方の空間が小さい状態では、取付時の作業性が悪い。また、機器が故障したときや買替時においても、機器を取り外す際の作業性が悪い。
【0010】
上記特徴構成によれば、排湿経路が有する接続部を接続操作又は接続解除操作をすることにより、本体構成部側排湿経路と分離可能部側排湿経路を接続して排湿経路としたり、排湿経路を本体構成部側排湿経路と分離可能部側排湿経路に分割したりすることができる。また、分離可能部の内側の空間に連通する点検口を設けており、作業者は点検蓋を外し、点検口を介して分離可能部の内側に手を入れ、空間内にある排湿経路の接続部の接続操作、接続解除操作が容易にできる。
従って、上記特徴構成を備える衣類乾燥機は、衣類乾燥機の上方の空間がなくても機器の取外し・取付が可能となる。
(【0011】以降は省略されています)
この特許をJ-PlatPat(特許庁公式サイト)で参照する
関連特許
大阪瓦斯株式会社
継手
18日前
大阪瓦斯株式会社
探査装置
1か月前
大阪瓦斯株式会社
給湯装置
2か月前
大阪瓦斯株式会社
燃焼装置
1か月前
大阪瓦斯株式会社
フライヤー
1か月前
大阪瓦斯株式会社
ガスコンロ
1か月前
大阪瓦斯株式会社
ガスコンロ
2か月前
大阪瓦斯株式会社
撥水性塗料
1か月前
大阪瓦斯株式会社
警報システム
1か月前
大阪瓦斯株式会社
酸化物複合体
1か月前
大阪瓦斯株式会社
高耐熱組成物
1か月前
大阪瓦斯株式会社
蓄電制御装置
1か月前
大阪瓦斯株式会社
管理システム
1か月前
大阪瓦斯株式会社
警報システム
1か月前
大阪瓦斯株式会社
異常診断装置
2か月前
大阪瓦斯株式会社
音声出力装置
1か月前
大阪瓦斯株式会社
ガラス複合体
1か月前
大阪瓦斯株式会社
蓄電制御装置
2か月前
大阪瓦斯株式会社
鮮度維持装置
2か月前
大阪瓦斯株式会社
地中給電設備
2か月前
大阪瓦斯株式会社
燃料電池装置
2か月前
大阪瓦斯株式会社
異常診断装置
2か月前
大阪瓦斯株式会社
動作制御装置
1か月前
大阪瓦斯株式会社
ガラス複合体
1か月前
大阪瓦斯株式会社
制御システム
1か月前
大阪瓦斯株式会社
充放電中継装置
24日前
大阪瓦斯株式会社
熱供給システム
2か月前
大阪瓦斯株式会社
充放電中継装置
24日前
大阪瓦斯株式会社
蓄電池管理装置
2か月前
大阪瓦斯株式会社
加熱調理システム
1か月前
大阪瓦斯株式会社
燃料電池システム
1か月前
大阪瓦斯株式会社
燃料電池システム
10日前
大阪瓦斯株式会社
燃料電池システム
2か月前
大阪瓦斯株式会社
熱電併給システム
1か月前
大阪瓦斯株式会社
燃料電池システム
2か月前
大阪瓦斯株式会社
燃料電池システム
2か月前
続きを見る
他の特許を見る