TOP
|
特許
|
意匠
|
商標
特許ウォッチ
Twitter
他の特許を見る
公開番号
2025149521
公報種別
公開特許公報(A)
公開日
2025-10-08
出願番号
2024050231
出願日
2024-03-26
発明の名称
管理システム
出願人
大阪瓦斯株式会社
代理人
弁理士法人北斗特許事務所
主分類
H04Q
9/00 20060101AFI20251001BHJP(電気通信技術)
要約
【課題】住宅設備機器において遠隔操作に応じた運転が行われているか否かをユーザが把握することができる管理システムを提供する。
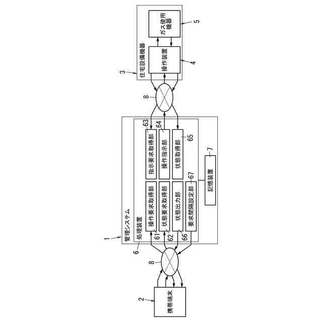
【解決手段】管理システム1は、住宅設備機器3を管理するシステムである。操作要求取得部61は、住宅設備機器3に対する遠隔操作要求を携帯端末2から取得する。指示要求取得部63は、住宅設備機器3に対する操作指示を住宅設備機器3が取得するための指示要求を住宅設備機器3から取得する。操作指示部64は、指示要求取得部63で指示要求が取得されると、遠隔操作要求に基づく操作指示を住宅設備機器3に出力する。状態取得部65は、住宅設備機器3の運転状態を示す機器運転状態を取得する。状態出力部66は、遠隔操作の状態が、遠隔操作要求と指示要求と機器運転状態との取得に基づいて区分けされた複数の状態区分のうちのいずれの状態区分であるかを示す状態情報を携帯端末2に出力する。
【選択図】図1
特許請求の範囲
【請求項1】
ネットワークを介して携帯端末により遠隔操作が可能な住宅設備機器を管理する管理システムであって、
前記住宅設備機器に対する遠隔操作要求を前記携帯端末から取得する操作要求取得部と、
前記住宅設備機器に対する操作指示を前記住宅設備機器が取得するための指示要求を前記住宅設備機器から取得する指示要求取得部と、
前記指示要求取得部で前記指示要求が取得されると、前記遠隔操作要求に基づく前記操作指示を前記住宅設備機器に出力する操作指示部と、
前記操作指示部で前記操作指示が出力されると、前記住宅設備機器の運転状態を示す機器運転状態を取得する状態取得部と、
前記遠隔操作の状態が、前記遠隔操作要求と前記指示要求と前記機器運転状態との取得に基づいて区分けされた複数の状態区分のうちのいずれの状態区分であるかを示す状態情報を前記携帯端末に出力する状態出力部と、を備える、
管理システム。
続きを表示(約 810 文字)
【請求項2】
前記遠隔操作の状態を取得するための状態取得要求を前記携帯端末から取得する状態要求取得部と、
前記管理システムに対して前記携帯端末が前記状態取得要求を行う要求間隔を設定する要求間隔設定部を更に備える、
請求項1に記載の管理システム。
【請求項3】
前記複数の状態区分には、優先順位が設定されており、
前記状態出力部は、前記複数の状態区分のうち2以上の状態区分が出力候補である場合、前記2以上の状態区分のうち高い優先順位が設定されている状態区分を前記状態情報として前記携帯端末に出力する、
請求項1又は2に記載の管理システム。
【請求項4】
前記状態出力部は、
前記操作要求取得部で前記遠隔操作要求が取得される時点から前記指示要求取得部で前記指示要求が取得される前の期間では、前記住宅設備機器が前記操作指示を取得していない状態を示す第1状態区分を前記状態情報として前記携帯端末に出力し、
前記指示要求取得部で前記指示要求が取得される時点から前記状態取得部で前記機器運転状態が取得される前の期間では、前記住宅設備機器が前記操作指示を取得した状態を示す第2状態区分を前記状態情報として前記携帯端末に出力し、
前記状態取得部で前記機器運転状態が取得される時点からの期間では、前記操作指示に基づく運転を前記住宅設備機器が完了した状態を示す第3状態区分を前記状態情報として前記携帯端末に出力する、
請求項1又は2に記載の管理システム。
【請求項5】
前記状態出力部は、
前記指示要求取得部で前記指示要求が取得される時点から所定期間内に前記状態取得部で前記機器運転状態が取得されなかった場合、前記第3状態区分を前記状態情報として前記携帯端末に出力する、
請求項4に記載の管理システム。
発明の詳細な説明
【技術分野】
【0001】
本開示は、一般に管理システムに関し、より詳細には、住宅設備機器を管理する管理システムに関する。
続きを表示(約 2,100 文字)
【背景技術】
【0002】
従来、住宅において各種の住宅設備機器が利用されている。このような住宅設備機器として、例えばお湯張り機能や床暖房機能等を備える給湯暖房装置がある。この種の給湯暖房装置は、例えば、インターネットを介して外部の管理システム等に接続され、例えば管理システムを介して携帯端末により遠隔操作を行って使用量を確認できるように構成されている。
【0003】
特許文献1には、外部サーバと、外部サーバとネットワークを介して相互に通信して機器状態を示す機器状態値を外部サーバに送信するIoT機器と、外部サーバとネットワークを介して相互に同期通信し、外部サーバから送信される機器状態を表示するアプリケーションソフトウェアを有する情報端末とを備えた通信システムが記載されている。外部サーバは、機器状態値を受信した場合に、機器状態値が変化した旨を通知する状態値変化通知を情報端末に送信し、情報端末は、状態値変化通知を受信した場合に、外部サーバに機器状態値を要求するように構成されている。
【先行技術文献】
【特許文献】
【0004】
特開2021-175115号公報
【発明の概要】
【発明が解決しようとする課題】
【0005】
特許文献1に記載の通信システムでは、IoT機器がポーリングによって通信を行っているので、情報端末において遠隔操作が行われた際に、直ちにIoT機器の運転状況が変わらない場合がある。このため、情報端末側で、IoT機器の運転状況の取得を所定時間、保留するように構成されている。したがって、遠隔操作を行ったユーザは、IoT機器が遠隔操作に応じて適切に運転されているか否かを把握することができない。
【0006】
本開示は、上記の点に鑑みてなされ、住宅設備機器において遠隔操作に応じた運転が行われているか否かをユーザが把握することができる管理システムを提供することを目的とする。
【課題を解決するための手段】
【0007】
請求項1の発明に係る管理システムは、ネットワークを介して携帯端末により遠隔操作が可能な住宅設備機器を管理する管理システムである。前記管理システムは、操作要求取得部と、指示要求取得部と、操作指示部と、状態取得部と、状態出力部と、を備える。前記操作要求取得部は、前記住宅設備機器に対する遠隔操作要求を前記携帯端末から取得する。前記指示要求取得部は、前記住宅設備機器に対する操作指示を前記住宅設備機器が取得するための指示要求を前記住宅設備機器から取得する。前記操作指示部は、前記指示要求取得部で前記指示要求が取得されると、前記遠隔操作要求に基づく前記操作指示を前記住宅設備機器に出力する。前記状態取得部は、前記操作指示部で前記操作指示が出力されると、前記住宅設備機器の運転状態を示す機器運転状態を取得する。前記状態出力部は、前記遠隔操作の状態が、前記遠隔操作要求と前記指示要求と前記機器運転状態との取得に基づいて区分けされた複数の状態区分のうちのいずれの状態区分であるかを示す状態情報を前記携帯端末に出力する。
【0008】
請求項2の発明に係る管理システムは、請求項1の発明に係る管理システムにおいて、状態要求取得部と、要求間隔設定部と、を更に備える。前記状態要求取得部は、状態取得要求を前記携帯端末から取得する。前記状態取得要求は、前記遠隔操作の状態を取得するための要求である。前記要求間隔設定部は、前記管理システムに対して前記携帯端末が前記状態取得要求を行う要求間隔を設定する。
【0009】
請求項3の発明に係る管理システムでは、請求項1又は2の発明に係る管理システムにおいて、前記複数の状態区分には、優先順位が設定されている。前記状態出力部は、前記複数の状態区分のうち2以上の状態区分が出力候補である場合、前記2以上の状態区分のうち高い優先順位が設定されている状態区分を前記状態情報として前記携帯端末に出力する。
【0010】
請求項4の発明に係る管理システムは、請求項1又は2の発明に係る管理システムにおいて、前記状態出力部は、前記操作要求取得部で前記遠隔操作要求が取得される時点から前記指示要求取得部で前記指示要求が取得される前の期間では、前記住宅設備機器が前記操作指示を取得していない状態を示す第1状態区分を前記状態情報として前記携帯端末に出力する。前記状態出力部は、前記指示要求取得部で前記指示要求が取得される時点から前記状態取得部で前記機器運転状態が取得される前の期間では、前記住宅設備機器が前記操作指示を取得した状態を示す第2状態区分を前記状態情報として前記携帯端末に出力する。前記状態出力部は、前記状態取得部で前記機器運転状態が取得される時点からの期間では、前記操作指示に基づく運転を前記住宅設備機器が完了した状態を示す第3状態区分を前記状態情報として前記携帯端末に出力する。
(【0011】以降は省略されています)
この特許をJ-PlatPat(特許庁公式サイト)で参照する
関連特許
大阪瓦斯株式会社
継手
25日前
大阪瓦斯株式会社
撥水性塗料
1か月前
大阪瓦斯株式会社
ガスコンロ
1か月前
大阪瓦斯株式会社
制御システム
1か月前
大阪瓦斯株式会社
充放電中継装置
1か月前
大阪瓦斯株式会社
充放電中継装置
1か月前
大阪瓦斯株式会社
エンジンシステム
1か月前
大阪瓦斯株式会社
燃料電池システム
17日前
大阪瓦斯株式会社
メタン生成システム
18日前
大阪瓦斯株式会社
フレキシブル管用継手
25日前
大阪瓦斯株式会社
料理レシピ提案システム
1か月前
大阪瓦斯株式会社
二酸化炭素回収システム
1か月前
大阪瓦斯株式会社
二酸化炭素回収システム
1か月前
大阪瓦斯株式会社
平板型燃料電池スタック
1か月前
大阪瓦斯株式会社
共電解メタネーション装置
1か月前
大阪瓦斯株式会社
共電解メタネーション装置
1か月前
大阪瓦斯株式会社
チタニア被覆銀を含有する組成物
1か月前
大阪瓦斯株式会社
電力融通システム及び電力融通方法
1か月前
大阪瓦斯株式会社
船舶及びその航行計画を生成する情報処理装置
1か月前
大阪瓦斯株式会社
二酸化炭素回収装置および二酸化炭素回収方法
17日前
大阪瓦斯株式会社
二酸化炭素回収方法及び二酸化炭素回収システム
1か月前
大阪瓦斯株式会社
二酸化炭素回収方法及び二酸化炭素回収システム
1か月前
大阪瓦斯株式会社
貯湯式給湯システム及び貯湯式給湯システムの使用方法
1か月前
大阪瓦斯株式会社
測定システム、処理装置、及びコンピュータプログラム
4日前
大阪瓦斯株式会社
電気化学素子積層体、電気化学装置およびエネルギーシステム
1か月前
大阪瓦斯株式会社
エンジンシステム、及びそれを備えたコージェネレーション設備
1か月前
大阪瓦斯株式会社
バイオガス製造装置
2日前
大阪瓦斯株式会社
共電解メタネーション装置及び共電解メタネーション装置の運転方法
1か月前
大阪瓦斯株式会社
板状支持体、電気化学素子、電気化学装置およびエネルギーシステム
1か月前
大阪瓦斯株式会社
電気化学素子の製造方法、電気化学素子、電気化学モジュール、固体酸化物形燃料電池、固体酸化物形電解セル、電気化学装置およびエネルギーシステム
1か月前
大阪瓦斯株式会社
電気化学素子の製造方法、電気化学素子、電気化学モジュール、固体酸化物形燃料電池、固体酸化物形電解セル、電気化学装置およびエネルギーシステム
1か月前
大阪瓦斯株式会社
電気化学素子の製造方法、電気化学素子、電気化学モジュール、固体酸化物形燃料電池、固体酸化物形電解セル、電気化学装置およびエネルギーシステム
1か月前
大阪瓦斯株式会社
イットリア安定化ジルコニア層の製造方法、電機化学素子の製造方法、固体酸化物形燃料電池の製造方法及び固体酸化物形燃料電池セルの製造方法
19日前
個人
イヤーピース
1か月前
個人
イヤーマフ
1か月前
個人
監視カメラシステム
1か月前
続きを見る
他の特許を見る