TOP
|
特許
|
意匠
|
商標
特許ウォッチ
Twitter
他の特許を見る
公開番号
2025154780
公報種別
公開特許公報(A)
公開日
2025-10-10
出願番号
2024057968
出願日
2024-03-29
発明の名称
二酸化炭素回収方法及び二酸化炭素回収システム
出願人
大阪瓦斯株式会社
代理人
弁理士法人R&C
主分類
B01D
53/04 20060101AFI20251002BHJP(物理的または化学的方法または装置一般)
要約
【課題】エネルギーコストが抑えられる二酸化炭素回収方法を提供すること。
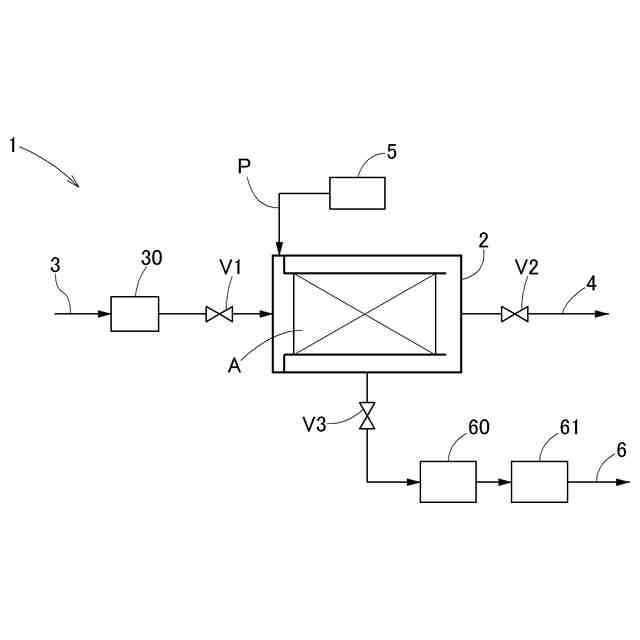
【解決手段】空気に含まれる二酸化炭素を吸着装置2内の吸着材に吸着させる吸着工程と、吸着装置2内の圧力を大気圧未満に減圧する減圧工程と、吸着材Aを加熱して二酸化炭素を脱離させる脱離工程と、吸着材を冷却する冷却工程と、を包含する二酸化炭素回収方法において、脱離工程において、外気と接する吸着装置2の壁部の内面の温度よりも低い温度の飽和蒸気圧となるように吸着装置2内を減圧しつつ、吸着装置2の壁部の内面の温度よりも高い温度の飽和水蒸気を吸着装置2内に投入する。
【選択図】図1
特許請求の範囲
【請求項1】
空気に含まれる二酸化炭素を吸着装置内の吸着材に吸着させる吸着工程と、
前記吸着装置内の圧力を大気圧未満に減圧する減圧工程と、
前記吸着材を加熱して二酸化炭素を脱離させる脱離工程と、
前記吸着材を冷却する冷却工程と、を包含する二酸化炭素回収方法において、
前記脱離工程において、外気と接する前記吸着装置の壁部の内面の温度よりも低い温度の飽和蒸気圧となるように前記吸着装置内を減圧しつつ、前記吸着装置の壁部の内面の温度よりも高い温度の飽和水蒸気を前記吸着装置内に投入する二酸化炭素回収方法。
続きを表示(約 860 文字)
【請求項2】
前記減圧工程において、外気と接する前記吸着装置の壁部の内面の温度よりも低い温度の飽和蒸気圧となるように減圧を行いつつ、二酸化炭素が脱離し難い温度の飽和水蒸気を前記吸着装置内に投入して前記吸着装置内に残留する空気をパージした後、前記脱離工程において、前記吸着装置の壁部の内面の温度よりも高い温度の飽和水蒸気を前記吸着装置内に投入する請求項1に記載の二酸化炭素回収方法。
【請求項3】
前記吸着材が、アミン化合物を含有する多孔質材料を備えて構成される請求項1又は2に記載の二酸化炭素回収方法。
【請求項4】
空気に含まれる二酸化炭素を吸着材に吸着させる吸着装置と、前記吸着装置に空気を供給する空気供給経路と、前記吸着装置から空気を排出する空気排出経路と、前記吸着材を加熱する加熱装置と、前記吸着装置の吸着材に吸着された二酸化炭素を回収する回収経路と、前記吸着装置内を減圧する減圧装置と、を備える二酸化炭素回収システムにおいて、
前記減圧装置によって、外気と接する前記吸着装置の壁部の内面の温度よりも低い温度の飽和蒸気圧となるように前記吸着装置内を減圧しつつ、前記加熱装置によって、前記吸着装置の壁部の内面の温度よりも高い温度の飽和水蒸気を前記吸着装置内に投入して二酸化炭素を前記吸着材から脱離させる、二酸化炭素回収システム。
【請求項5】
前記減圧装置によって、前記吸着装置の壁部の内面の温度よりも低い温度の飽和蒸気圧となるように減圧を行いつつ、二酸化炭素が脱離し難い温度の飽和水蒸気を前記吸着装置内に投入して前記吸着装置内に残留する空気をパージした後、前記加熱装置によって、前記吸着装置の壁部の内面の温度よりも高い温度の飽和水蒸気を前記吸着装置内に投入する、請求項4に記載の二酸化炭素回収システム。
【請求項6】
前記吸着材が、アミン化合物を含有する多孔質材料を備えて構成される請求項4又は5に記載の二酸化炭素回収システム。
発明の詳細な説明
【技術分野】
【0001】
本発明は、空気に含まれる二酸化炭素を回収する二酸化炭素回収方法及び二酸化炭素回収システムに関する。
続きを表示(約 1,600 文字)
【背景技術】
【0002】
化石燃料の燃焼に伴い放出された二酸化炭素による地球温暖化が問題となっており、化石燃料の燃焼に伴う二酸化炭素の大気中への放出を抑制することが急務となっている。一方で、化石燃料の利用が、技術的あるいは経済的に避けられない用途も存在することから、大気中の二酸化炭素を直接回収する(Direct Air Capture)技術への期待が高まっている。
【0003】
二酸化炭素は、水素と反応させてメタンなどの炭化水素に変換することができる。この際、水素の製造を太陽光発電や風力発電のような再生可能エネルギー由来の電力を用いて行うとともに、二酸化炭素は大気から回収したものを利用することとすれば、得られた炭化水素は、燃焼利用しても、燃料の製造から利用までの過程を通算して、大気中の二酸化炭素濃度を増加させることがないので、カーボンニュートラルな炭化水素となる。
【0004】
従来の二酸化炭素回収方法では、一般的に、空気に含まれる二酸化炭素を吸着装置内の吸着材に吸着させる吸着工程と、吸着装置内の圧力を大気圧未満に減圧する減圧工程と、吸着材を加熱して二酸化炭素を脱離させる脱離工程と、吸着材を冷却する冷却工程とが順次繰り返し行われている。この二酸化炭素回収方法によれば、吸着工程において二酸化炭素を吸着材に吸着させた後、減圧工程そして脱離工程において、二酸化炭素を吸着した吸着材を減圧下で加熱して二酸化炭素を吸着材から脱離させることによって、高濃度の二酸化炭素を回収することができる。
【0005】
そのような従来の二酸化炭素回収方法としては、例えば以下の特許文献1に示されるように、脱離工程で水蒸気を用いる方式が知られている。
【先行技術文献】
【特許文献】
【0006】
特許第6622302号公報
【発明の概要】
【発明が解決しようとする課題】
【0007】
従来の二酸化炭素回収方法では、脱離工程で水蒸気を用いる場合、容器圧力や温度等の記載はあるものの、投入した水蒸気を結露させないようにする運用に関する記述はない。運用が適切でなければ、生成した水蒸気が容器等に抜熱され、水蒸気が凝縮し、脱離工程で余計なエネルギーが必要となり、エネルギーコストを抑えるという点で改善する余地がある。
【0008】
本発明の目的は、エネルギーコストが抑えられる二酸化炭素回収方法を提供することにある。
【課題を解決するための手段】
【0009】
本発明に係る二酸化炭素回収方法の構成は、空気に含まれる二酸化炭素を吸着装置内の吸着材に吸着させる吸着工程と、
前記吸着装置内の圧力を大気圧未満に減圧する減圧工程と、
前記吸着材を加熱して二酸化炭素を脱離させる脱離工程と、
前記吸着材を冷却する冷却工程と、を包含する二酸化炭素回収方法において、
前記脱離工程において、外気と接する前記吸着装置の壁部の内面の温度よりも低い温度の飽和蒸気圧となるように前記吸着装置内を減圧しつつ、前記吸着装置の壁部の内面の温度よりも高い温度の飽和水蒸気を前記吸着装置内に投入する。
【0010】
本構成によれば、脱離工程において、外気と接する吸着装置の壁部の内面の温度よりも低い温度の飽和蒸気圧となるように吸着装置内を減圧しつつ、吸着装置の壁部の内面の温度よりも高い温度の飽和水蒸気を吸着装置内に投入することで、たとえ吸着装置内で抜熱されたとしても投入した水蒸気が凝縮せず、脱離工程で余計なエネルギーが不要となり、エネルギーコストを抑えることができる。
(【0011】以降は省略されています)
この特許をJ-PlatPat(特許庁公式サイト)で参照する
関連特許
大阪瓦斯株式会社
継手
10日前
大阪瓦斯株式会社
撥水性塗料
1か月前
大阪瓦斯株式会社
ガスコンロ
26日前
大阪瓦斯株式会社
制御システム
1か月前
大阪瓦斯株式会社
動作制御装置
1か月前
大阪瓦斯株式会社
充放電中継装置
16日前
大阪瓦斯株式会社
充放電中継装置
16日前
大阪瓦斯株式会社
エンジンシステム
1か月前
大阪瓦斯株式会社
燃料電池システム
2日前
大阪瓦斯株式会社
メタン生成システム
3日前
大阪瓦斯株式会社
フレキシブル管用継手
10日前
大阪瓦斯株式会社
料理レシピ提案システム
1か月前
大阪瓦斯株式会社
平板型燃料電池スタック
1か月前
大阪瓦斯株式会社
二酸化炭素回収システム
1か月前
大阪瓦斯株式会社
二酸化炭素回収システム
1か月前
大阪瓦斯株式会社
共電解メタネーション装置
29日前
大阪瓦斯株式会社
共電解メタネーション装置
29日前
大阪瓦斯株式会社
水素製造装置及びその運転方法
1か月前
大阪瓦斯株式会社
チタニア被覆銀を含有する組成物
1か月前
大阪瓦斯株式会社
電力融通システム及び電力融通方法
1か月前
大阪瓦斯株式会社
水素製造装置及び水素製造装置の運転方法
1か月前
大阪瓦斯株式会社
電気化学モジュールおよびエネルギーシステム
1か月前
大阪瓦斯株式会社
電気化学モジュールおよびエネルギーシステム
1か月前
大阪瓦斯株式会社
二酸化炭素回収装置および二酸化炭素回収方法
2日前
大阪瓦斯株式会社
船舶及びその航行計画を生成する情報処理装置
1か月前
大阪瓦斯株式会社
二酸化炭素回収方法及び二酸化炭素回収システム
1か月前
大阪瓦斯株式会社
二酸化炭素回収方法及び二酸化炭素回収システム
1か月前
大阪瓦斯株式会社
貯湯式給湯システム及び貯湯式給湯システムの使用方法
1か月前
大阪瓦斯株式会社
電気化学素子積層体、電気化学装置およびエネルギーシステム
1か月前
大阪瓦斯株式会社
電気化学モジュール、電気化学装置およびエネルギーシステム
1か月前
大阪瓦斯株式会社
エンジンシステム、及びそれを備えたコージェネレーション設備
1か月前
大阪瓦斯株式会社
板状支持体、電気化学素子、電気化学装置およびエネルギーシステム
1か月前
大阪瓦斯株式会社
共電解メタネーション装置及び共電解メタネーション装置の運転方法
29日前
大阪瓦斯株式会社
電気化学素子の製造方法、電気化学素子、電気化学モジュール、固体酸化物形燃料電池、固体酸化物形電解セル、電気化学装置およびエネルギーシステム
1か月前
大阪瓦斯株式会社
電気化学素子の製造方法、電気化学素子、電気化学モジュール、固体酸化物形燃料電池、固体酸化物形電解セル、電気化学装置およびエネルギーシステム
1か月前
大阪瓦斯株式会社
電気化学素子の製造方法、電気化学素子、電気化学モジュール、固体酸化物形燃料電池、固体酸化物形電解セル、電気化学装置およびエネルギーシステム
1か月前
続きを見る
他の特許を見る