TOP
|
特許
|
意匠
|
商標
特許ウォッチ
Twitter
他の特許を見る
10個以上の画像は省略されています。
公開番号
2025152840
公報種別
公開特許公報(A)
公開日
2025-10-10
出願番号
2024054968
出願日
2024-03-28
発明の名称
電気化学モジュール、電気化学装置およびエネルギーシステム
出願人
大阪瓦斯株式会社
代理人
弁理士法人R&C
主分類
H01M
8/2465 20160101AFI20251002BHJP(基本的電気素子)
要約
【課題】電気化学モジュールにおいてガスが漏れる可能性及び製造コストの低減が可能な技術を提供する。
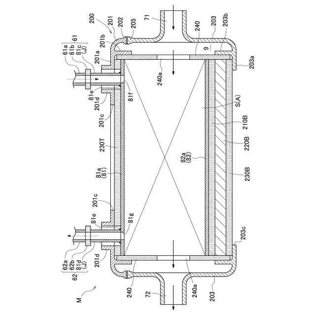
【解決手段】電気化学モジュールは、複数の積層された電気化学素子Aと、電気化学素子Aと電気的に接続される集電体81と、を備える。集電体81は、電気化学素子Aと接触する集電板81aと、還元性成分ガス及び酸化性成分ガスのうちの一方である第1ガスが通流する管部材Jと、を備える。管部材Jが、集電板81aに溶接で固定されている。
【選択図】図15
特許請求の範囲
【請求項1】
複数の積層された電気化学素子と、
前記電気化学素子と電気的に接続される集電体と、を備え、
前記集電体は、
前記電気化学素子と接触する集電板と、
還元性成分ガスまたは酸化性成分ガスである第1ガスが通流する管部材と、を備え、
前記管部材が、前記集電板に溶接で固定されている電気化学モジュール。
続きを表示(約 1,000 文字)
【請求項2】
前記管部材が、NCA-1のステンレスである請求項1に記載の電気化学モジュール。
【請求項3】
前記集電板が、フェライト系ステンレスである請求項1に記載の電気化学モジュール。
【請求項4】
前記集電板の厚みが、0.5mm以上5mm以下である請求項3に記載の電気化学モジュール。
【請求項5】
前記電気化学素子が、内部流路を備える金属製の板状支持体と、前記板状支持体に支持される電気化学反応部と、を備え、
前記集電板が、前記電気化学反応部と接触し、
前記管部材が、前記内部流路に接続されている請求項1に記載の電気化学モジュール。
【請求項6】
前記管部材が、絶縁性を有する接続部材を介して外部配管と接続されている請求項1に記載の電気化学モジュール。
【請求項7】
前記集電体が、
前記管部材である、前記第1ガスを前記電気化学素子に供給する供給管部材と、
前記管部材である、前記第1ガスを前記電気化学素子から排出する排出管部材と、を備える請求項1に記載の電気化学モジュール。
【請求項8】
前記電気化学素子が、内部流路を備える金属製の板状支持体と、前記板状支持体に支持される電気化学反応部と、を備え、
複数の前記電気化学素子が前記第1ガスを通流するための環状シール部を介して積層方向に積層されており、
前記板状支持体の前記内部流路には、前記環状シール部を介して前記供給管部材から前記第1ガスが導入され、
前記積層方向に隣接する前記電気化学素子間に、前記還元性成分ガス及び前記酸化性成分ガスのうちの他方である第2ガスが通流する通流部が形成されている請求項7に記載の電気化学モジュール。
【請求項9】
前記板状支持体は、前記第1ガスが通流する供給路を形成する第1貫通部を有し、
各電気化学素子の前記第1貫通部は、前記環状シール部の環状孔と連通している請求項8に記載の電気化学モジュール。
【請求項10】
前記通流部内において、前記第1貫通部を前記通流部と区画する前記環状シール部としての第1環状シール部を備え、
前記第1貫通部及び前記第1環状シール部により、前記内部流路との間に前記第1ガスを流通する前記供給路が形成される請求項9に記載の電気化学モジュール。
(【請求項11】以降は省略されています)
発明の詳細な説明
【技術分野】
【0001】
本発明は、電気化学モジュール、電気化学装置およびエネルギーシステムに関する。
続きを表示(約 1,200 文字)
【背景技術】
【0002】
特許文献1には、複数の発電単位と一対のエンドプレートとを備える燃料電池スタックが開示されている。一対のエンドプレートは、積層された発電単位を上下から挟むように配置され、燃料電池スタックの出力端子として機能する。燃料電池スタックには、発電単位に燃料ガス及び酸化剤ガスを供給するガス通路部材が設けられている。ガス通路部材は、エンドプレートとの間に絶縁シートが挟まる状態で、ボルト締結によりエンドプレートに押しつけられている。
【先行技術文献】
【特許文献】
【0003】
特開2023-180295号公報
【発明の概要】
【発明が解決しようとする課題】
【0004】
特許文献1に記載の燃料電池スタックでは、ガス通路部材とエンドプレートとの間に絶縁シートが介在している。従って、ガス通路部材と絶縁シートとの間、及び、絶縁シートとエンドプレートとの間からガスが漏れる可能性がある。加えて、燃料電池スタックを構成する部品点数および組み立てに要する工数が増加し、製造コストが増加する。
【0005】
そこで、本発明は上述の課題に鑑みてなされたものであり、ガスが漏れる可能性及び製造コストの低減が可能な技術を提供することを目的とする。
【課題を解決するための手段】
【0006】
本発明に係る電気化学モジュールの特徴構成は、
複数の積層された電気化学素子と、前記電気化学素子と電気的に接続される集電体と、を備え、前記集電体は、前記電気化学素子と接触する集電板と、還元性成分ガス及び酸化性成分ガスのうちの一方である第1ガスが通流する管部材と、を備え、前記管部材が、前記集電板に溶接で固定されている点にある。
【0007】
上記特徴構成によれば、管部材が集電板に溶接で固定されているので、管部材と集電板との間から第1ガスが漏れる可能性を低減することができる。また、管部材と集電板との間に絶縁シート等の部材が介在されないので、部品点数の増加が抑制される。そして管部材と集電板とが溶接で固定されて1つの部品となっているので、電気化学モジュールの組み立て工数を削減することができる。従って、製造コストの低減が実現される。
【0008】
本発明に係る電気化学モジュールの更なる特徴構成は、前記管部材が、NCA-1のステンレスである点にある。
【0009】
上記特徴構成によれば、管部材がNCA-1のステンレスであるから、管部材の耐腐食性を高めると共に、管部材からのCrの飛散を抑制することができる。
【0010】
本発明に係る電気化学モジュールの更なる特徴構成は、前記集電板が、フェライト系ステンレスである点にある。
(【0011】以降は省略されています)
この特許をJ-PlatPat(特許庁公式サイト)で参照する
関連特許
大阪瓦斯株式会社
継手
7日前
大阪瓦斯株式会社
ガスコンロ
23日前
大阪瓦斯株式会社
制御システム
1か月前
大阪瓦斯株式会社
充放電中継装置
13日前
大阪瓦斯株式会社
充放電中継装置
13日前
大阪瓦斯株式会社
メタン生成システム
今日
大阪瓦斯株式会社
フレキシブル管用継手
7日前
大阪瓦斯株式会社
平板型燃料電池スタック
27日前
大阪瓦斯株式会社
共電解メタネーション装置
26日前
大阪瓦斯株式会社
共電解メタネーション装置
26日前
大阪瓦斯株式会社
電力融通システム及び電力融通方法
1か月前
大阪瓦斯株式会社
船舶及びその航行計画を生成する情報処理装置
27日前
大阪瓦斯株式会社
共電解メタネーション装置及び共電解メタネーション装置の運転方法
26日前
大阪瓦斯株式会社
イットリア安定化ジルコニア層の製造方法、電機化学素子の製造方法、固体酸化物形燃料電池の製造方法及び固体酸化物形燃料電池セルの製造方法
1日前
APB株式会社
蓄電セル
26日前
東ソー株式会社
絶縁電線
28日前
株式会社東芝
端子台
20日前
マクセル株式会社
電源装置
20日前
ローム株式会社
半導体装置
27日前
株式会社GSユアサ
蓄電装置
21日前
株式会社GSユアサ
蓄電装置
21日前
三菱電機株式会社
回路遮断器
7日前
株式会社GSユアサ
蓄電装置
13日前
北道電設株式会社
配電具カバー
26日前
トヨタ自動車株式会社
蓄電装置
21日前
日本特殊陶業株式会社
保持装置
29日前
日本特殊陶業株式会社
保持装置
12日前
トヨタ自動車株式会社
冷却構造
28日前
トヨタ自動車株式会社
バッテリ
26日前
日新イオン機器株式会社
基板処理装置
23日前
トヨタ自動車株式会社
密閉型電池
22日前
ローム株式会社
半導体装置
28日前
株式会社デンソー
電子装置
23日前
日亜化学工業株式会社
半導体レーザ素子
23日前
日本無線株式会社
レーダアンテナ
14日前
ローム株式会社
半導体モジュール
今日
続きを見る
他の特許を見る