TOP
|
特許
|
意匠
|
商標
特許ウォッチ
Twitter
他の特許を見る
公開番号
2025154777
公報種別
公開特許公報(A)
公開日
2025-10-10
出願番号
2024057965
出願日
2024-03-29
発明の名称
二酸化炭素回収システム
出願人
大阪瓦斯株式会社
代理人
弁理士法人R&C
主分類
B01D
53/04 20060101AFI20251002BHJP(物理的または化学的方法または装置一般)
要約
【課題】吸着材の放熱効果が高く、より処理効率の高い二酸化炭素回収システムを提供すること。
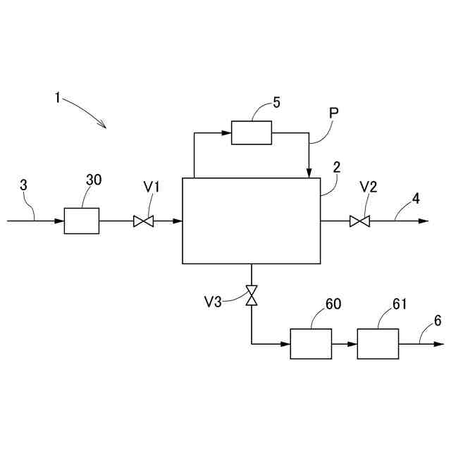
【解決手段】空気に含まれる二酸化炭素を吸着材に吸着させる吸着装置2と、吸着装置2に空気を供給する空気供給経路と、吸着材を加熱又は冷却する加熱/冷却装置と、吸着装置2の吸着材に吸着された二酸化炭素を回収する回収経路と、を備える二酸化炭素回収システムにおいて、吸着装置2が、フィンチューブ式熱交換器20を備え、フィンチューブ式熱交換器20の外表面に吸着材が担持されており、加熱/冷却装置からの加熱媒体又は冷却媒体がフィンチューブ式熱交換器20に供給されることによって吸着材が加熱又は冷却される。
【選択図】図2
特許請求の範囲
【請求項1】
空気に含まれる二酸化炭素を吸着材に吸着させる吸着装置と、前記吸着装置に空気を供給する空気供給経路と、前記吸着材を加熱又は冷却する加熱/冷却装置と、前記吸着装置の吸着材に吸着された二酸化炭素を回収する回収経路と、を備える二酸化炭素回収システムにおいて、
前記吸着装置が、フィンチューブ式熱交換器を備え、前記フィンチューブ式熱交換器の外表面に前記吸着材が担持されており、前記加熱/冷却装置からの加熱媒体又は冷却媒体が前記フィンチューブ式熱交換器に供給されることによって前記吸着材が加熱又は冷却される、二酸化炭素回収システム。
続きを表示(約 210 文字)
【請求項2】
前記加熱媒体が飽和水蒸気又は温水であり、前記冷却媒体が水である請求項1に記載の二酸化炭素回収システム。
【請求項3】
前記加熱/冷却装置が、廃熱、地熱、又は太陽熱を利用して前記加熱媒体を生成するものである請求項1又は2に記載の二酸化炭素回収システム。
【請求項4】
前記吸着材が、アミン化合物を含有する多孔質材料で構成される請求項1又は2に記載の二酸化炭素回収システム。
発明の詳細な説明
【技術分野】
【0001】
本発明は、空気に含まれる二酸化炭素を回収する二酸化炭素回収システムに関する。
続きを表示(約 1,600 文字)
【背景技術】
【0002】
化石燃料の燃焼に伴い放出された二酸化炭素による地球温暖化が問題となっており、化石燃料の燃焼に伴う二酸化炭素の大気中への放出を抑制することが急務となっている。一方で、化石燃料の利用が、技術的あるいは経済的に避けられない用途も存在することから、大気中の二酸化炭素を直接回収する(Direct Air Capture)技術への期待が高まっている。
【0003】
二酸化炭素は、水素と反応させてメタンなどの炭化水素に変換することができる。この際、水素の製造を太陽光発電や風力発電のような再生可能エネルギー由来の電力を用いて行うとともに、二酸化炭素は大気から回収したものを利用することとすれば、得られた炭化水素は、燃焼利用しても、燃料の製造から利用までの過程を通算して、大気中の二酸化炭素濃度を増加させることがないので、カーボンニュートラルな炭化水素となる。
【0004】
従来の二酸化炭素回収システムでは、一般的に、空気に含まれる二酸化炭素を吸着装置内の吸着材に吸着させる吸着工程と、吸着装置内の気圧を大気圧未満に減圧する減圧工程と、吸着材を加熱して二酸化炭素を脱離させる脱離工程と、吸着材を冷却する冷却工程とが順次繰り返し行われている。この二酸化炭素回収システムによれば、吸着工程において二酸化炭素を吸着材に吸着させた後、減圧工程そして脱離工程において、二酸化炭素を吸着した吸着材を減圧下で加熱して二酸化炭素を吸着材から脱離させることによって、高濃度の二酸化炭素を回収することができる。
【0005】
そのような従来の二酸化炭素回収システムとしては、例えば以下の特許文献1に示されるように、アミン化合物が担持されている二酸化炭素吸着板を有する吸着装置を備えるものが知られている。
【先行技術文献】
【特許文献】
【0006】
特開2023-13169号公報
【発明の概要】
【発明が解決しようとする課題】
【0007】
従来の二酸化炭素回収システムでは、脱離工程において、吸着材、特にアミン化合物が担持されているものについては、加熱状態で空気に晒されると酸化して急激に劣化し易くなるため、脱離工程の後は、減圧下で吸着材を冷却するということが行われている。しかしながら、減圧下では放熱が極めて遅くなるため、吸着材が所定の温度に下がるまで多くの時間を要し、処理効率の向上という点において改善する余地がある。
【0008】
本発明の目的は、吸着材の放熱効果が高く、より処理効率の高い二酸化炭素回収システムを提供することにある。
【課題を解決するための手段】
【0009】
本発明に係る二酸化炭素回収システムの構成は、空気に含まれる二酸化炭素を吸着材に吸着させる吸着装置と、前記吸着装置に空気を供給する空気供給経路と、前記吸着材を加熱又は冷却する加熱/冷却装置と、前記吸着装置の吸着材に吸着された二酸化炭素を回収する回収経路と、を備える二酸化炭素回収システムにおいて、
前記吸着装置が、フィンチューブ式熱交換器を備え、前記フィンチューブ式熱交換器の外表面に前記吸着材が担持されており、前記加熱/冷却装置からの加熱媒体又は冷却媒体が前記フィンチューブ式熱交換器に供給されることによって前記吸着材が加熱又は冷却される。
【0010】
本構成によれば、吸着材を担持する基材としてフィンチューブ式熱交換器を使用することによって、放熱が極めて遅い減圧下においても、効率的に吸着材を冷却することが可能となる。さらに脱離工程においても、効率的に吸着材を加熱することが可能となる。結果として、一サイクル当たりの処理時間が短縮されるため、処理効率が向上する。
(【0011】以降は省略されています)
この特許をJ-PlatPat(特許庁公式サイト)で参照する
関連特許
大阪瓦斯株式会社
探査装置
24日前
大阪瓦斯株式会社
燃焼装置
25日前
大阪瓦斯株式会社
ガスコンロ
6日前
大阪瓦斯株式会社
撥水性塗料
23日前
大阪瓦斯株式会社
フライヤー
1か月前
大阪瓦斯株式会社
ガラス複合体
26日前
大阪瓦斯株式会社
ガラス複合体
26日前
大阪瓦斯株式会社
音声出力装置
25日前
大阪瓦斯株式会社
警報システム
25日前
大阪瓦斯株式会社
警報システム
25日前
大阪瓦斯株式会社
管理システム
25日前
大阪瓦斯株式会社
蓄電制御装置
24日前
大阪瓦斯株式会社
酸化物複合体
24日前
大阪瓦斯株式会社
動作制御装置
24日前
大阪瓦斯株式会社
高耐熱組成物
24日前
大阪瓦斯株式会社
制御システム
17日前
大阪瓦斯株式会社
エンジンシステム
23日前
大阪瓦斯株式会社
バイオマス系樹脂
24日前
大阪瓦斯株式会社
燃料電池システム
1か月前
大阪瓦斯株式会社
加熱調理システム
1か月前
大阪瓦斯株式会社
燃料電池システム
1か月前
大阪瓦斯株式会社
音声出力システム
1か月前
大阪瓦斯株式会社
異常診断システム
1か月前
大阪瓦斯株式会社
異常診断システム
1か月前
大阪瓦斯株式会社
熱電併給システム
1か月前
大阪瓦斯株式会社
燃焼制御システム
1か月前
大阪瓦斯株式会社
燃料電池システム
26日前
大阪瓦斯株式会社
燃料電池システム
1か月前
大阪瓦斯株式会社
メタン製造システム
1か月前
大阪瓦斯株式会社
脱衣室床暖房システム
1か月前
大阪瓦斯株式会社
二酸化炭素回収システム
23日前
大阪瓦斯株式会社
発電設備、及び発電方法
1か月前
大阪瓦斯株式会社
平板型燃料電池スタック
10日前
大阪瓦斯株式会社
二酸化炭素回収システム
23日前
大阪瓦斯株式会社
料理レシピ提案システム
19日前
大阪瓦斯株式会社
共電解メタネーション装置
9日前
続きを見る
他の特許を見る