TOP
|
特許
|
意匠
|
商標
特許ウォッチ
Twitter
他の特許を見る
10個以上の画像は省略されています。
公開番号
2025168835
公報種別
公開特許公報(A)
公開日
2025-11-12
出願番号
2024073633
出願日
2024-04-30
発明の名称
フレキシブル管用継手
出願人
大阪瓦斯株式会社
,
日本継手株式会社
代理人
個人
,
個人
主分類
F16L
33/00 20060101AFI20251105BHJP(機械要素または単位;機械または装置の効果的機能を生じ維持するための一般的手段)
要約
【課題】 フレキシブル管の先端が管係合部よりも十分に突出しているか否かの確認につき払われるべき注意をより軽減すること。
【解決手段】 フレキシブル管用継手10は、継手本体20と、フレキシブル管シール材22と、管係合部24と、押輪26とを備える。管係合部24のリテーナ部は、フレキシブル管300に係合可能である。係合部24のシール材対向部は、継手本体20においてシール材収容部に近い位置でフレキシブル管シール材22と対向するように配置される。シール材対向部を、継手本体20内に進入したフレキシブル管300が通過可能である。
【選択図】 図10
特許請求の範囲
【請求項1】
継手本体と、
前記継手本体内にフレキシブル管が進入すると前記継手本体と前記フレキシブル管の外周面との間をシールするフレキシブル管シール材と、
前記継手本体内において前記フレキシブル管と係合する管係合部と、
前記管係合部が前記継手本体から脱落することを防止する押輪とを備え、
前記フレキシブル管には、円周方向全周にわたって延びる山部と谷部とが管軸方向へ交互に並設されており、
前記継手本体が、
前記フレキシブル管の進入口と、
前記進入口を介して前記継手本体の外に連通する前記フレキシブル管の進入路とを有しており、
前記進入路が、
前記進入口に連通し、前記フレキシブル管シール材の少なくとも一部が予め配置されるシール材待機部と、
前記シール材待機部に連通し、前記進入口からみて前記シール材待機部よりも奥側に配置され、前記シール材待機部よりも内径が小さいシール材収容部とを有しており、
前記フレキシブル管シール材が、前記シール材待機部内から前記シール材収容部に引き込まれることに伴って前記フレキシブル管の前記谷部にかみ合うフレキシブル管用継手であって、
前記管係合部が、
前記フレキシブル管に係合可能なリテーナ部と、
前記シール材待機部において前記リテーナ部よりも前記シール材収容部に近い位置で前記フレキシブル管シール材と対向するように配置され、前記継手本体内に進入した前記フレキシブル管が通過可能であるシール材対向部とを有していることを特徴とするフレキシブル管用継手。
続きを表示(約 800 文字)
【請求項2】
前記シール材対向部が予め前記シール材待機部に配置されており、
前記リテーナ部が前記シール材対向部とは別体であることを特徴とする請求項1に記載のフレキシブル管用継手。
【請求項3】
前記シール材対向部が、
前記フレキシブル管シール材側に配置されるシール材側配置部と、
前記進入口側に配置され、前記リテーナ部が進入可能である進入口側配置部とを有していることを特徴とする請求項2に記載のフレキシブル管用継手。
【請求項4】
前記シール材対向部が、前記フレキシブル管シール材と対向するように配置され、前記フレキシブル管シール材に近づくにつれ外径が小さくなるよう窄まる曲面を形成することを特徴とする請求項1に記載のフレキシブル管用継手。
【請求項5】
前記押輪が、前記継手本体内の所定の箇所において前記継手本体に接続されることにより前記管係合部が前記継手本体から脱落することを防止するものであり、
前記継手本体内の前記所定の箇所において前記押輪が前記継手本体に接続される際、前記押輪のいずれかの箇所が、前記フレキシブル管シール材の前記少なくとも一部が前記シール材待機部に配置されている際には前記管係合部のいずれかの箇所が配置され前記フレキシブル管シール材の前記少なくとも一部が前記シール材収容部に引き込まれると前記管係合部が配置されなくなる箇所に配置されることを特徴とする請求項1に記載のフレキシブル管用継手。
【請求項6】
前記リテーナ部が、
ベース部および前記ベース部から突出する爪部をそれぞれ有する接続対象引掛部の対と、
前記接続対象引掛部の対が固定される固定部とを有しており、
前記固定部の素材が膨張黒鉛を含むことを特徴とする請求項1に記載のフレキシブル管用継手。
発明の詳細な説明
【技術分野】
【0001】
本発明はフレキシブル管用継手に関する。
続きを表示(約 2,600 文字)
【背景技術】
【0002】
特許文献1はフレキシブル管用継手を開示する。このフレキシブル管用継手は、継手本体、管係合部、および、押輪を備える。管係合部は継手本体内に収容される。押輪は継手本体内に進入する。継手本体がフレキシブル管の進入口とフレキシブル管の進入路とを有する。進入路に管係合部が配置される。進入路は進入口を介して継手本体の外に連通する。管係合部が、フレキシブル管が貫通する貫通空間を取囲む。管係合部が、フレキシブル管が貫通空間を貫通するとフレキシブル管が貫通空間から後退し抜けることを防止する。押輪が、管係合部がフレキシブル管ごと継手本体内から抜け落ちることを防止する。管係合部が、複数の引掛部と、固定部とを有する。引掛部は、フレキシブル管の外周面にそれぞれ引っ掛かる。固定部には、複数の引掛部が固定される。
【0003】
特許文献1に開示されたフレキシブル管用継手は、狭い場所に設けられているフレキシブル管へ容易に接続できる。
【先行技術文献】
【特許文献】
【0004】
国際公開第2013/132585号パンフレット
【発明の概要】
【発明が解決しようとする課題】
【0005】
特許文献1に開示されたフレキシブル管用継手には、次に述べられる注意が小さくないという問題点がある。その注意は、このフレキシブル管用継手を用いる作業者が払うものである。その注意は、フレキシブル管の先端が管係合部よりも十分に突出しているか否かの確認につき払われるものである。
【0006】
本発明は、この問題点を解消するためになされたものである。その目的は、フレキシブル管の先端が管係合部よりも十分に突出しているか否かの確認につき払われるべき注意がより軽減されるフレキシブル管用継手を提供することにある。
【課題を解決するための手段】
【0007】
図面に基づいて本発明のフレキシブル管用継手が説明される。なおこの欄で図中の符号を使用したのは発明の内容の理解を助けるためである。この欄で図中の符号を使用することには発明の内容を図示した範囲に限定する意図がない。
【0008】
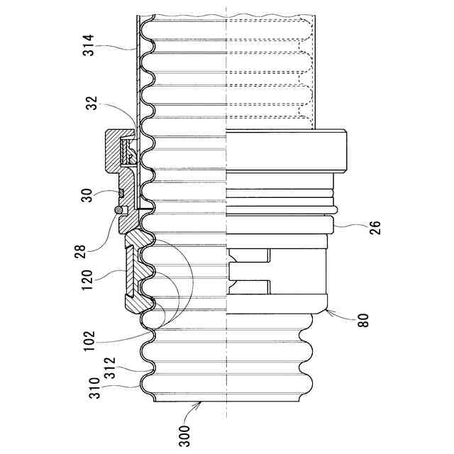
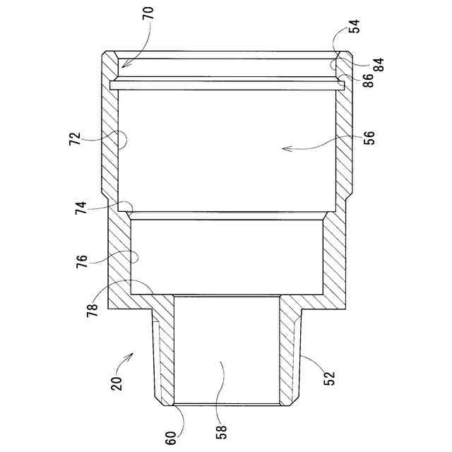
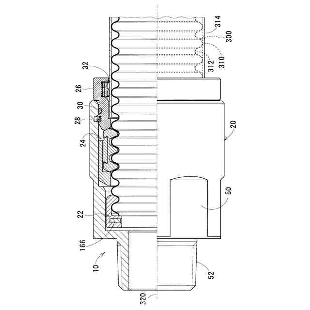
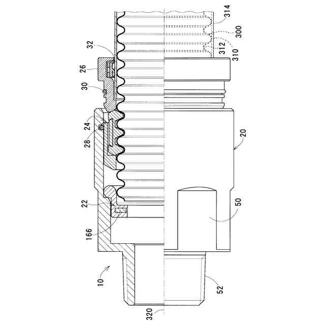
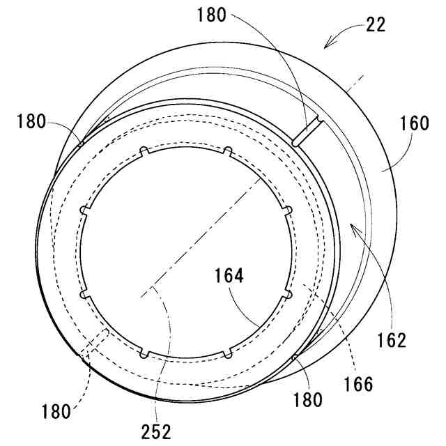
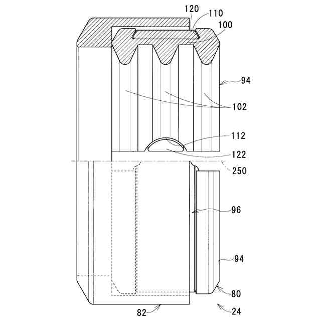
上述した目的を達成するために、本発明のある局面に従うと、フレキシブル管用継手10は、継手本体20と、フレキシブル管シール材22と、管係合部24,424と、押輪26とを備える。フレキシブル管シール材22は、継手本体20内にフレキシブル管300が進入すると継手本体20とフレキシブル管300の外周面との間をシールする。管係合部24,424は、継手本体20内においてフレキシブル管300と係合する。押輪26は、管係合部24,424が継手本体20から脱落することを防止する。フレキシブル管300には、円周方向全周にわたって延びる山部310と谷部312とが管軸方向へ交互に並設されている。継手本体20が、フレキシブル管300の進入口54と、フレキシブル管300の進入路56とを有している。進入路56は進入口54を介して継手本体20の外に連通する。進入路56が、シール材待機部72と、シール材収容部76とを有している。シール材待機部72は、進入口54に連通する。シール材待機部72は、フレキシブル管シール材22の少なくとも一部が予め配置される。シール材収容部76は、シール材待機部72に連通する。シール材収容部76は、進入口54からみてシール材待機部72よりも奥側に配置される。シール材収容部76は、シール材待機部72よりも内径が小さい。フレキシブル管シール材22が、シール材待機部72内からシール材収容部76に引き込まれることに伴ってフレキシブル管300の谷部312にかみ合う。管係合部24,424が、リテーナ部80,480と、シール材対向部82,482とを有している。リテーナ部80,480は、フレキシブル管300に係合可能である。シール材対向部82,482は、シール材待機部72においてリテーナ部80,480よりもシール材収容部76に近い位置でフレキシブル管シール材22と対向するように配置される。シール材対向部82,482は、継手本体20内に進入したフレキシブル管300が通過可能である。
【0009】
シール材待機部72よりも内径が小さい シール材収容部76が進入口54からみてシール材待機部72よりも奥側に配置されると、シール材待機部72とシール材収容部76との間に段差となる箇所が形成されることとなる。加えて、シール材待機部72においてリテーナ部80,480よりもシール材収容部76に近い位置でフレキシブル管シール材22と対向するようにシール材対向部82,482が配置される。この場合、フレキシブル管300の先端がシール材対向部82,482よりも十分に突出していなければ、フレキシブル管シール材22がシール材待機部72内からシール材収容部76に引き込まれることに先だって次に述べられる現象が生じる。その現象は、シール材待機部72とシール材収容部76との段差となる箇所へシール材対向部82,482がフレキシブル管シール材22を押し付ける現象である。その現象が生じると、フレキシブル管シール材22はフレキシブル管300の谷部312にかみ合えなくなる。しかも、管係合部24,424が継手本体20内において奥へ進めなくなる。このようにして管係合部24,424が奥へ進めなくなった場合と、上述された現象が生じずフレキシブル管シール材22がフレキシブル管300の谷部312にかみ合った場合とではフレキシブル管300を介してこのフレキシブル管用継手10を用いる作業者が受ける感触が異なる。その感触の原因となる現象が異なるためである。そのような感触の相違に応じて、フレキシブル管300の先端が管係合部24,424よりも十分に突出しているか否かが確認され得る。それが確認され得るので、その確認につき払われるべき注意がより軽減される。
【0010】
また、上述されたシール材対向部82が予めシール材待機部72に配置されていることが望ましい。この場合、リテーナ部80がシール材対向部82とは別体であることが望ましい。
(【0011】以降は省略されています)
この特許をJ-PlatPat(特許庁公式サイト)で参照する
関連特許
大阪瓦斯株式会社
継手
24日前
大阪瓦斯株式会社
ガスコンロ
1か月前
大阪瓦斯株式会社
制御システム
1か月前
大阪瓦斯株式会社
充放電中継装置
1か月前
大阪瓦斯株式会社
充放電中継装置
1か月前
大阪瓦斯株式会社
燃料電池システム
16日前
大阪瓦斯株式会社
メタン生成システム
17日前
大阪瓦斯株式会社
フレキシブル管用継手
24日前
大阪瓦斯株式会社
平板型燃料電池スタック
1か月前
大阪瓦斯株式会社
料理レシピ提案システム
1か月前
大阪瓦斯株式会社
共電解メタネーション装置
1か月前
大阪瓦斯株式会社
共電解メタネーション装置
1か月前
大阪瓦斯株式会社
電力融通システム及び電力融通方法
1か月前
大阪瓦斯株式会社
二酸化炭素回収装置および二酸化炭素回収方法
16日前
大阪瓦斯株式会社
船舶及びその航行計画を生成する情報処理装置
1か月前
大阪瓦斯株式会社
二酸化炭素回収方法及び二酸化炭素回収システム
1か月前
大阪瓦斯株式会社
貯湯式給湯システム及び貯湯式給湯システムの使用方法
1か月前
大阪瓦斯株式会社
測定システム、処理装置、及びコンピュータプログラム
3日前
大阪瓦斯株式会社
共電解メタネーション装置及び共電解メタネーション装置の運転方法
1か月前
大阪瓦斯株式会社
バイオガス製造装置
1日前
大阪瓦斯株式会社
イットリア安定化ジルコニア層の製造方法、電機化学素子の製造方法、固体酸化物形燃料電池の製造方法及び固体酸化物形燃料電池セルの製造方法
18日前
個人
留め具
1か月前
個人
鍋虫ねじ
3か月前
個人
紛体用仕切弁
3か月前
個人
回転伝達機構
4か月前
個人
差動歯車用歯形
5か月前
個人
ジョイント
2か月前
個人
給排気装置
2か月前
個人
地震の揺れ回避装置
4か月前
株式会社不二工機
電磁弁
6か月前
個人
ナット
1か月前
個人
ナット
2か月前
株式会社不二工機
電磁弁
5か月前
個人
ゲート弁バルブ
16日前
個人
吐出量監視装置
3か月前
カヤバ株式会社
緩衝器
5か月前
続きを見る
他の特許を見る