TOP
|
特許
|
意匠
|
商標
特許ウォッチ
Twitter
他の特許を見る
公開番号
2025175406
公報種別
公開特許公報(A)
公開日
2025-12-03
出願番号
2024081501
出願日
2024-05-20
発明の名称
測定システム、処理装置、及びコンピュータプログラム
出願人
大阪瓦斯株式会社
代理人
弁理士法人イノベンティア
主分類
G01B
11/02 20060101AFI20251126BHJP(測定;試験)
要約
【課題】測定対象のサイズを容易に測定できる測定システムを提供する。
【解決手段】測定システム100は測定対象200の撮影画像から測定対象のサイズを得る測定システムであって、撮影画像を得るためのカメラ13と、測定対象に設置されることによって測定対象とともに撮影された基準物体300のサイズを用いて、撮影画像から測定対象のサイズを得るための演算を行う処理部の一例である処理装置10と、を備える。処理部は、カメラによる測定対象の撮影の際に、基準物体が測定対象に対して演算に必要な位置に設置されるようガイドする、ように構成されている。
【選択図】図1
特許請求の範囲
【請求項1】
測定対象の撮影画像から前記測定対象のサイズを得る測定システムであって、
前記撮影画像を得るためのカメラと、
前記測定対象に設置されることによって前記測定対象とともに撮影された基準物体のサイズを用いて、前記撮影画像から前記測定対象のサイズを得るための演算を行う処理部と、を備え、
前記処理部は、前記カメラによる前記測定対象の撮影の際に、前記基準物体が前記測定対象に対して前記演算に必要な位置に設置されるようガイドする、ように構成されている
測定システム。
続きを表示(約 1,300 文字)
【請求項2】
前記処理部がガイドすることは、前記カメラによる前記測定対象の撮影の際に表示される画面に、前記基準物体の前記測定対象に対する位置を表示する、ことを含む
請求項1に記載の測定システム。
【請求項3】
前記処理部がガイドすることは、前記基準物体を前記演算に必要な位置に設置したことを示すユーザ操作を受け付けると、前記カメラによる前記測定対象の撮影を許可する、ことを含む
請求項1に記載の測定システム。
【請求項4】
前記処理部がガイドすることは、前記撮影画像から得られた前記基準物体と前記測定対象との位置関係を判定し、判定結果に応じて前記演算を実行する、ことを含む
請求項1に記載の測定システム。
【請求項5】
前記処理部がガイドすることは、前記カメラによる前記測定対象の撮影の際に表示される画面に、前記基準物体と前記測定対象とを納める撮影用枠を表示する、ことを含む
請求項1に記載の測定システム。
【請求項6】
前記基準物体は平面体であって、
前記演算は、前記カメラの位置及び画角、前記撮影画像のサイズ、及び前記基準物体のサイズを用いて、前記測定対象の前記撮影画像における座標を実空間における三次元座標に変換する、ことを含む
請求項1に記載の測定システム。
【請求項7】
前記演算は、前記測定対象の対象点の前記撮影画像における座標、前記撮影画像のサイズ、及び前記カメラの画角から得られる、前記カメラの位置に基づく原点から前記対象点に向かう向きの単位ベクトルを算出する、ことを含む
請求項6に記載の測定システム。
【請求項8】
前記演算は、
前記測定対象に設置された前記基準物体の第1~3点をそれぞれ前記対象点として、前記原点から前記第1点に向かう向きの第1単位ベクトル、前記原点から前記第2点に向かう向きの第2単位ベクトル、及び、前記原点から前記第3点に向かう向きの第3単位ベクトルを算出し、
前記第1単位ベクトル、前記第2単位ベクトル、前記第3単位ベクトル、及び、前記基準物体の前記3点それぞれの間の長さを用いて、前記原点から前記第1点までの第1ベクトル、前記原点から前記第2点までの第2ベクトル、及び、前記原点から前記第3点までの第3ベクトルを算出する、ことを含む
請求項7に記載の測定システム。
【請求項9】
前記演算は、前記原点から前記測定対象の前記基準物体が設置された面上の第4点までのベクトルを、前記第4点の前記撮影画像における座標、及び、前記第1~第3ベクトルを用いて算出する、ことを含む
請求項8に記載の測定システム。
【請求項10】
前記演算は、前記原点から前記測定対象の前記基準物体が設置された面に対向する面上の第5点までのベクトルを、前記第5点の前記撮影画像における座標、前記第1ベクトル、及び前記第2ベクトルを用いて算出する、ことを含む
請求項9に記載の測定システム。
(【請求項11】以降は省略されています)
発明の詳細な説明
【技術分野】
【0001】
本開示は、測定システム、処理装置、及びコンピュータプログラムに関する。
続きを表示(約 2,000 文字)
【背景技術】
【0002】
居室内のスペースや物体などのサイズを知りたいときに測定用の道具がなかったり、使い方が難しかったりする場合がある。例えば特開2023-43090号公報(以下、特許文献1)や特開2023-23348号公報(以下、特許文献2)は、モバイル端末を用いたサイズの測定方法を開示している。また、特開2002-133192号公報(以下、特許文献3)は、寸法が未知である対象物体と寸法が既知である基準物体とが撮影されたデジタル画像を、インターネットを介して送信者から受信し、基準物体の寸法に基づいて対象物体の寸法を導出することを含む手法を開示している。
【先行技術文献】
【特許文献】
【0003】
特開2023-43090号公報
特開2023-23348号公報
特開2002-133192号公報
【発明の概要】
【0004】
しかしながら、特許文献1,2に開示された方法でサイズを測定する場合には距離センサやLiDAR(Light Detection And Ranging)機能が必要である。そのため、それらを有さない場合にはサイズが得られない。また、特許文献3に開示された手法であっても、対象物体について所望するサイズが得られない場合がある。そこで、本開示は、測定対象のサイズを容易に測定できる測定システム、演算装置、及びコンピュータプログラムを提供することを目的の1つとする。
【0005】
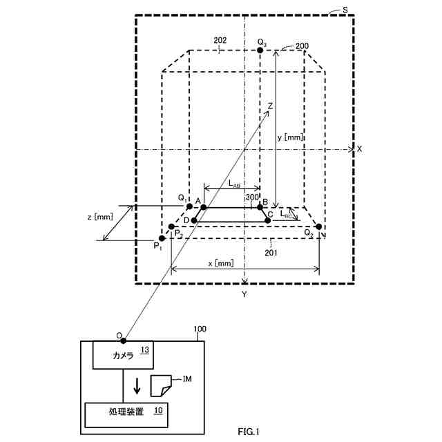
ある実施の形態に従うと、測定システムは測定対象の撮影画像から測定対象のサイズを得る測定システムであって、撮影画像を得るためのカメラと、測定対象に設置されることによって測定対象とともに撮影された基準物体のサイズを用いて、撮影画像から測定対象のサイズを得るための演算を行う処理部と、を備える。処理部は、カメラによる測定対象の撮影の際に、基準物体が測定対象に対して演算に必要な位置に設置されるようガイドする、ように構成されている。
【0006】
ある実施の形態に従うと、測定システムは測定対象の撮影画像から測定対象のサイズを得る測定システムであって、撮影画像を得るためのカメラと、測定対象に設置されることによって測定対象とともに撮影された基準物体のサイズを用いて、撮影画像から測定対象のサイズを得るための演算を行う処理部と、を備える。基準物体は平面体である。演算は、カメラの位置及び画角、撮影画像のサイズ、及び基準物体のサイズを用いて、測定対象の撮影画像における座標を実空間における三次元座標に変換することを含む。
【0007】
ある実施の形態に従うと、処理装置は測定対象の撮影画像から測定対象のサイズを得る演算を行う処理装置であって、カメラによる測定対象の撮影の際に、基準物体が測定対象に対して演算に必要な位置に設置されるようガイドし、測定対象に設置されることによって測定対象とともに撮影された基準物体のサイズを用いて、撮影画像から測定対象のサイズを得る、ように構成されている。
【0008】
ある実施の形態に従うと、処理装置は測定対象の撮影画像から測定対象のサイズを得る演算を行う処理装置であって、測定対象に設置されることによって測定対象とともにカメラによって撮影された基準物体のサイズを用いて撮影画像から測定対象のサイズを得る、ように構成されている。基準物体は平面体である。演算は、カメラの位置及び画角、撮影画像のサイズ、及び基準物体のサイズを用いて、測定対象の撮影画像における座標を実空間における三次元座標に変換することを含む。
【0009】
ある実施の形態に従うと、コンピュータプログラムは、測定対象の撮影画像から測定対象のサイズを得る演算を行う処理装置としてコンピュータを機能させるコンピュータプログラムある。コンピュータプログラムは、カメラによる測定対象の撮影の際に、基準物体が測定対象に対して演算に必要な位置に設置されるようガイドし、測定対象に設置されることによって測定対象とともに撮影された基準物体のサイズを用いて、撮影画像から測定対象のサイズを得ることをコンピュータに実行させる。
【0010】
ある実施の形態に従うと、コンピュータプログラムは、測定対象の撮影画像から測定対象のサイズを得る演算を行う処理装置としてコンピュータを機能させるコンピュータプログラムである。コンピュータプログラムは、測定対象に設置されることによって測定対象とともにカメラによって撮影された基準物体のサイズを用いて撮影画像から測定対象のサイズを得ることをコンピュータに実行させる。基準物体は平面体である。演算は、カメラの位置及び画角、撮影画像のサイズ、及び基準物体のサイズを用いて、測定対象の撮影画像における座標を実空間における三次元座標に変換することを含む。
(【0011】以降は省略されています)
この特許をJ-PlatPat(特許庁公式サイト)で参照する
関連特許
個人
視触覚センサ
1日前
日本精機株式会社
検出装置
1か月前
個人
計量機能付き容器
26日前
日本精機株式会社
発光表示装置
9日前
甲神電機株式会社
電流検出装置
1か月前
株式会社カクマル
境界杭
16日前
ユニパルス株式会社
トルク変換器
1日前
株式会社トプコン
測量装置
8日前
ユニパルス株式会社
トルク変換器
1日前
ユニパルス株式会社
トルク変換器
1日前
大成建設株式会社
風洞実験装置
26日前
日本特殊陶業株式会社
ガスセンサ
2日前
双庸電子株式会社
誤配線検査装置
1か月前
日本信号株式会社
距離画像センサ
29日前
日本特殊陶業株式会社
ガスセンサ
8日前
日本特殊陶業株式会社
ガスセンサ
1日前
日本特殊陶業株式会社
ガスセンサ
24日前
個人
非接触による電磁パルスの測定方法
29日前
個人
計量具及び計量機能付き容器
26日前
個人
液位検視及び品質監視システム
24日前
日置電機株式会社
絶縁抵抗測定装置
1日前
株式会社不二越
X線測定装置
29日前
本陣水越株式会社
車載式計測標的物
3日前
キーコム株式会社
画像作成システム
16日前
日本特殊陶業株式会社
センサ
10日前
株式会社タイガーカワシマ
揚穀装置
8日前
日東精工株式会社
振動波形検査装置
1か月前
株式会社電巧社
試験装置及び試験方法
1か月前
ユニパルス株式会社
トルク変換器、調整部材
1日前
株式会社エルメックス
希釈液収容容器
26日前
株式会社マグネア
磁界検出素子
29日前
理研計器株式会社
ガス検知装置
16日前
スズキ株式会社
タイヤ径算出システム
2日前
CKD株式会社
シート情報確認システム
2日前
株式会社川島製作所
海苔の異物検査装置
22日前
株式会社アイシン
回転角検出装置
16日前
続きを見る
他の特許を見る