TOP
|
特許
|
意匠
|
商標
特許ウォッチ
Twitter
他の特許を見る
公開番号
2025178383
公報種別
公開特許公報(A)
公開日
2025-12-05
出願番号
2025161498,2023189610
出願日
2025-09-29,2023-11-06
発明の名称
バイオガス製造装置
出願人
大阪瓦斯株式会社
代理人
弁理士法人R&C
主分類
C02F
11/04 20060101AFI20251128BHJP(水,廃水,下水または汚泥の処理)
要約
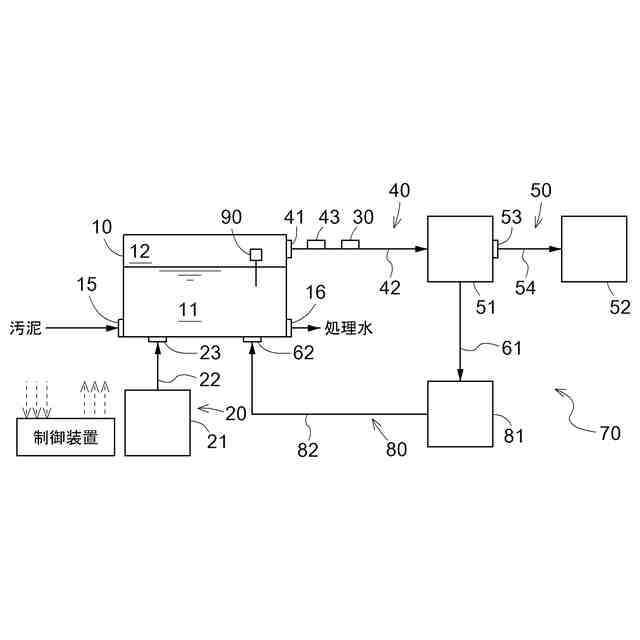
【課題】有機廃棄物のメタン発酵とメタネーションを同時に起こし、メタン発酵槽内で水素と二酸化炭素からメタンに変換し、従来よりも安定的かつ効率的な運転を実現できるバイオガス製造装置を提供する。
【解決手段】有機物が供給されるメタン発酵槽10と、メタン発酵槽10に水素を供給する水素供給手段20と、運転を制御する制御手段を備え、メタン発酵槽10でのメタネーションが実行可能に構成されたバイオガス製造装置であって、メタン発酵槽10で発生したバイオガスを回収する回収手段40と、バイオガス取出路42に設けたガス測定手段30と、二酸化炭素を分離する分離手段50と、二酸化炭素をメタン発酵槽10に供給する二酸化炭素循環手段60を備えるバイオガス製造装置を提供する。ガス測定手段30による測定ガス濃度が予め定めた閾値以下の場合は水素の供給を標準流量より増やし、閾値を超える場合は水素の供給を標準流量より減らす。
【選択図】図1
特許請求の範囲
【請求項1】
有機物が供給されるメタン発酵部と、前記メタン発酵部に水素を供給する水素供給手段と、運転を制御する制御手段とを備え、前記メタン発酵部でのメタネーションが実行可能に構成されたバイオガス製造装置であって、
前記メタン発酵部で発生したバイオガスを回収する回収手段と、
前記回収手段で回収したバイオガスから二酸化炭素を分離する分離部と、
前記分離部で分離した前記二酸化炭素を前記メタン発酵部に供給する二酸化炭素循環手段と、前記バイオガス中のガス濃度を測定するガス測定手段と、を備え、
前記制御手段は、前記ガス測定手段で測定された前記ガス濃度に応じて、前記水素供給手段から供給する前記水素の供給量を調節し、
前記ガス測定手段は、前記バイオガス中のメタン濃度を測定するように構成され、
前記制御手段は、前記ガス測定手段で測定された前記メタン濃度が予め定めた閾値以下となるように、前記水素供給手段から供給する前記水素の供給量を調節するバイオガス製造装置。
続きを表示(約 640 文字)
【請求項2】
前記ガス測定手段は、メタン、二酸化炭素、水素のうち少なくとも1つの濃度を測定する、請求項1に記載のバイオガス製造装置。
【請求項3】
前記制御手段は、前記ガス測定手段で測定された前記メタン濃度が90体積%以下となるように、前記水素供給手段から供給する前記水素の供給量を調節する請求項1に記載のバイオガス製造装置。
【請求項4】
前記ガス測定手段は、前記バイオガス中の前記メタン濃度に加えて、前記バイオガス中の水素濃度を測定するように構成され、
前記制御手段は、前記ガス測定手段で測定された前記水素濃度が予め定めた閾値以下である場合は、前記水素の供給量を標準流量より増やして供給し、前記水素濃度が当該閾値を超える場合は、前記水素の供給量を当該標準流量より減らして供給する請求項1に記載のバイオガス製造装置。
【請求項5】
前記分離部は、前記バイオガス中のガスを分離膜で分離する膜分離部、前記バイオガス中のガスを吸収液に吸収して分離する化学吸収部、前記バイオガス中のガスを吸着材に吸着して分離する圧力変動吸着部のうちのいずれか1つを備える、請求項1又は2に記載のバイオガス製造装置。
【請求項6】
前記分離部で分離した前記二酸化炭素を貯蔵する貯蔵手段を備え、前記貯蔵手段に貯蔵された前記二酸化炭素を前記メタン発酵部に供給する手段を備える、請求項1又は2に記載のバイオガス製造装置。
発明の詳細な説明
【技術分野】
【0001】
本発明は、メタン発酵を利用して有機物を処理するバイオガス製造装置に関する。
続きを表示(約 2,600 文字)
【背景技術】
【0002】
汚泥や生ごみに含まれる有機物をメタン発酵を利用してバイオガス化する技術が知られている。有機物のメタン発酵により得られるバイオガスには、主にメタンと二酸化炭素が含まれている。近年、二酸化炭素排出量の削減やバイオガスの都市ガスとしての利用を目的に、バイオガス中の二酸化炭素を微生物によってメタンに変換する、所謂バイオメタネーション技術の開発が進められている。
【0003】
しかし、メタン発酵槽内の二酸化炭素がメタネーションにより減少すると、メタン発酵槽内の汚泥pHが上昇し、安定的なメタン発酵ができないため、一部の二酸化炭素が残存したバイオガスとして排出せざるを得ない。
【0004】
バイオメタネーション技術としては、例えば特許文献1の記載の手法が提案されている。特許文献1記載の手法は、所謂in situバイオメタネーションであって、メタン発酵工程に水素ガスを加えることで、生成するバイオガス中のメタン/二酸化炭素比を増加させている。
【0005】
また、特許文献2には、メタン発酵によりバイオガスを発生するメタン発酵槽と、当該メタン発酵槽に接続され、当該メタン発酵槽で発生したバイオガスに含まれる二酸化炭素をメタンに変換するメタネーション反応部を備えるバイオガス製造システムに関する技術が提案されている。
【先行技術文献】
【特許文献】
【0006】
特表2019-525888号公報
特開2016-108382号公報
【発明の概要】
【発明が解決しようとする課題】
【0007】
ところで、in situバイオメタネーションにおいては、メタネーションによる二酸化炭素からメタンへの変換が進むことで、発酵液中の二酸化炭素濃度が減少し、当該発酵液のpHが上昇する。そして、発酵液のpHが上昇することにより、発酵液中の遊離アンモニア濃度が増加する。その結果、メタン細菌の活性が低下し、メタネーションによる二酸化炭素からメタンへの変換が進み難くなる。即ち、in situバイオメタネーションを利用する処理システムにおいては、メタネーションが進んでメタン発酵液のpHが上昇すると、システムの運転効率が低下し、最終的にはシステム自体が機能しなくなる虞がある。また、メタン発酵槽に接続してメタネーション反応部を設ける構成を採用した場合、装置の大型化・プロセスの複雑化が避けられない。
【0008】
本発明は、上記の課題に鑑みてなされたものであり、その目的は、有機廃棄物のメタン発酵とメタネーションを同時に起こし、メタン発酵槽内で水素と二酸化炭素からメタンに変換することを実現し、従来よりも安定的かつ効率的な運転を実現できるバイオガス製造装置を提供する点にある。
【課題を解決するための手段】
【0009】
上記目的を達成させるための本発明に係るバイオガス製造装置の特徴構成は、
有機物が供給されるメタン発酵部と、前記メタン発酵部に水素を供給する水素供給手段と、運転を制御する制御手段とを備え、前記メタン発酵部でのメタネーションが実行可能に構成されたバイオガス製造装置であって、
前記メタン発酵部で発生したバイオガスを回収する回収手段と、
前記回収手段で回収したバイオガスから二酸化炭素を分離する分離部と、
前記分離部で分離した前記二酸化炭素を前記メタン発酵部に供給する二酸化炭素循環手段と、前記バイオガス中のガス濃度を測定するガス測定手段と、を備え、
前記制御手段は、前記ガス測定手段で測定された前記ガス濃度に応じて、前記水素供給手段から供給する前記水素の供給量を調節し、
前記ガス測定手段は、前記バイオガス中のメタン濃度を測定するように構成され、
前記制御手段は、前記ガス測定手段で測定された前記メタン濃度が予め定めた閾値以下となるように、前記水素供給手段から供給する前記水素の供給量を調節する点にある。
【0010】
上記特徴構成によれば、水素を水素供給手段によってメタン発酵部に供給する。そのため、メタン発酵部内において、メタン発酵液中でメタン発酵を行いつつ、当該メタン発酵によって発生したバイオガス中の二酸化炭素をメタン細菌によってメタン化できる。
一方、メタン細菌による二酸化炭素のメタン化(メタネーション)が進行すると、メタン発酵部内の二酸化炭素が減少し、メタン発酵液のpHが上昇する。メタン発酵部内への水素の供給流量を減少させるだけでは、メタン発酵部内でのメタン発酵によるバイオガスの発生量が少ないと、メタン発酵部内の二酸化炭素の増加に長時間を要する。
上記特徴構成は、メタン発酵部で発生したバイオガスを回収する回収手段と、回収手段で回収したバイオガスを二酸化炭素とメタンに分離する分離部と、二酸化炭素をメタン発酵部に返送する二酸化炭素循環手段と、ガス濃度を測定するガス測定手段と、を備え、制御手段がガス濃度に応じて水素供給手段からの水素供給量を調節できるよう構成されている。そのため、メタン発酵液中でメタン発酵によって二酸化炭素を発生させつつ、メタン細菌による二酸化炭素のメタン化ができるように、回収したバイオガスから二酸化炭素を分離して返送することで、メタン発酵部内の二酸化炭素を増加させて、メタン発酵液のpHを低下させられる。
また、メタネーションの進行によってメタン発酵部のメタン濃度が上昇して閾値を超える場合に、水素供給手段による水素の供給量を減少しつつ、メタン発酵部から回収したバイオガスを分離して得た二酸化炭素をメタン発酵部に供給することで、メタン発酵部への水素の供給流量を減少させるだけの場合よりもメタン発酵液のpHを閾値未満となるまで速く低下させられる。そのため、メタン発酵液のpHを一定の値よりも低く保ちやすく、メタン発酵液のpH上昇によってメタン細菌の活性が低下し、運転効率が低下し、システム自体が機能しなくなるといった事態の発生を抑えられる。また、メタン発酵部への水素の供給流量を減少させるだけの場合よりもメタネーションを停止している時間を短縮できる。
(【0011】以降は省略されています)
この特許をJ-PlatPat(特許庁公式サイト)で参照する
関連特許
大阪瓦斯株式会社
継手
24日前
大阪瓦斯株式会社
燃焼装置
1か月前
大阪瓦斯株式会社
探査装置
1か月前
大阪瓦斯株式会社
撥水性塗料
1か月前
大阪瓦斯株式会社
ガスコンロ
1か月前
大阪瓦斯株式会社
酸化物複合体
1か月前
大阪瓦斯株式会社
高耐熱組成物
1か月前
大阪瓦斯株式会社
警報システム
1か月前
大阪瓦斯株式会社
蓄電制御装置
1か月前
大阪瓦斯株式会社
ガラス複合体
2か月前
大阪瓦斯株式会社
ガラス複合体
2か月前
大阪瓦斯株式会社
管理システム
1か月前
大阪瓦斯株式会社
制御システム
1か月前
大阪瓦斯株式会社
動作制御装置
1か月前
大阪瓦斯株式会社
音声出力装置
1か月前
大阪瓦斯株式会社
警報システム
1か月前
大阪瓦斯株式会社
充放電中継装置
1か月前
大阪瓦斯株式会社
充放電中継装置
1か月前
大阪瓦斯株式会社
バイオマス系樹脂
1か月前
大阪瓦斯株式会社
エンジンシステム
1か月前
大阪瓦斯株式会社
熱電併給システム
2か月前
大阪瓦斯株式会社
燃料電池システム
16日前
大阪瓦斯株式会社
燃料電池システム
2か月前
大阪瓦斯株式会社
燃焼制御システム
2か月前
大阪瓦斯株式会社
メタン生成システム
17日前
大阪瓦斯株式会社
フレキシブル管用継手
24日前
大阪瓦斯株式会社
料理レシピ提案システム
1か月前
大阪瓦斯株式会社
二酸化炭素回収システム
1か月前
大阪瓦斯株式会社
二酸化炭素回収システム
1か月前
大阪瓦斯株式会社
平板型燃料電池スタック
1か月前
大阪瓦斯株式会社
共電解メタネーション装置
1か月前
大阪瓦斯株式会社
水分状態量可視化システム
1か月前
大阪瓦斯株式会社
共電解メタネーション装置
1か月前
大阪瓦斯株式会社
水素製造装置及びその運転方法
1か月前
大阪瓦斯株式会社
チタニア被覆銀を含有する組成物
1か月前
大阪瓦斯株式会社
電力融通システム及び電力融通方法
1か月前
続きを見る
他の特許を見る