TOP
|
特許
|
意匠
|
商標
特許ウォッチ
Twitter
他の特許を見る
公開番号
2025160728
公報種別
公開特許公報(A)
公開日
2025-10-23
出願番号
2024063484
出願日
2024-04-10
発明の名称
船舶及びその航行計画を生成する情報処理装置
出願人
大阪瓦斯株式会社
代理人
弁理士法人R&C
主分類
B63B
25/16 20060101AFI20251016BHJP(船舶またはその他の水上浮揚構造物;関連艤装品)
要約
【課題】合成メタンの製造コストの低減に寄与可能な船舶及びその航行計画を生成する情報処理装置を提供する。
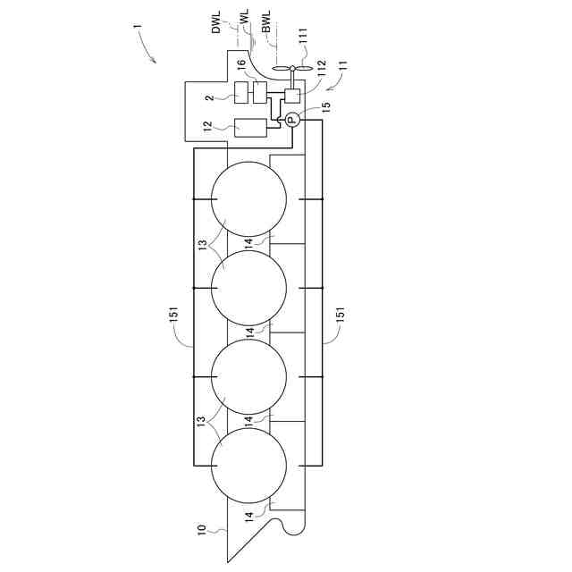
【解決手段】船舶1のバラストタンク14及び/又は液化燃料ガスタンク13の少なくとも一部は、内部圧力及び内部温度を、二酸化炭素が液相となる圧力範囲及び温度範囲内に維持可能なように構成された兼用タンクである。情報処理装置2の生成部は、出発地及び往路寄港地における液化二酸化炭素の取得コストと、目的地までの候補航路ごとの船舶1の航行コストとをデータとして取得すると共に、取得コスト及び航行コストに基づき、目的地への液化二酸化炭素の運搬コストが所定の条件を満たす航行計画をデータとして生成し、航行計画には、往路の所定航路と、所定航路上の所定地点において船舶1に積載される液化二酸化炭素の所定積載量とが含まれる。
【選択図】図1
特許請求の範囲
【請求項1】
少なくとも一つのバラストタンクと、少なくとも一つの液化燃料ガスタンクとが備えられ、
前記バラストタンク及び/又は前記液化燃料ガスタンクの少なくとも一部は、内部圧力及び内部温度を、二酸化炭素が液相となる圧力範囲及び温度範囲内に維持可能なように構成された兼用タンクである、船舶。
続きを表示(約 970 文字)
【請求項2】
出発地から目的地に向かう往路において液化二酸化炭素を運搬し、前記目的地から前記出発地に向かう復路において液化燃料ガスを運搬する請求項1に記載の船舶の航行計画を生成する情報処理装置であって、
前記出発地及び少なくとも一つの往路寄港地における前記液化二酸化炭素の取得コストと、前記目的地までの候補航路ごとの前記船舶の航行コストと、をデータとして取得すると共に、
前記取得コスト及び前記航行コストに基づき、前記目的地への前記液化二酸化炭素の運搬コストが所定の条件を満たす航行計画をデータとして生成する生成部を備え、
前記航行計画は、往路の所定航路と、前記所定航路上の所定地点において前記船舶に積載される前記液化二酸化炭素の所定積載量とを含む、情報処理装置。
【請求項3】
前記生成部は、
前記出発地からの予定出発時刻と、前記目的地までの候補航路ごとの予想航行時間と、をデータとして更に取得すると共に、
前記予定出発時刻及び前記予想航行時間に基づき、前記目的地への予想到着時刻が所定の条件を満たす前記航行計画を生成し、
前記航行計画は、前記出発地から前記目的地までの航行スケジュールを含む、請求項2に記載の情報処理装置。
【請求項4】
前記生成部は、
前記船舶の燃料の積載量と、船体の重量と、満載喫水における排水量と、バラスト喫水における排水量とをデータとして更に取得すると共に、
前記液化二酸化炭素の前記所定積載量と、前記燃料の積載量と、前記船体の重量と、前記満載喫水における排水量と、前記バラスト喫水における排水量とに基づき、前記船舶の喫水線が所定の条件を満たす前記航行計画を生成し、
前記航行計画は、バラスト水の必要積載量を含む、請求項2又は3に記載の情報処理装置。
【請求項5】
前記生成部は、
前記兼用タンクの合計容積と、前記液化二酸化炭素の密度とをデータとして更に取得すると共に、
前記兼用タンクに貯留される前記液化二酸化炭素の量が、前記兼用タンクの合計容積と、前記液化二酸化炭素の密度とに基づいて算出された上限積載量となるように、前記航行計画を生成する、請求項4に記載の情報処理装置。
発明の詳細な説明
【技術分野】
【0001】
本発明は、船舶の航行計画を生成する情報処理装置に関する。
続きを表示(約 2,100 文字)
【背景技術】
【0002】
近年、天然ガスの主成分であるメタンを、再生エネルギーによる電解から生成した水素と、工場などの排気から集めた二酸化炭素とから合成するメタネーション技術が実用化されつつある。合成メタンの製造コストの多くは、水素の生成に用いられる再生エネルギーの調達コストが占めているため、合成メタンの製造コストを効果的に低減させるためには、再生エネルギーが安価に入手できる地域(例えばオーストラリアやアラブなど)においてメタネーションを行う必要がある。一方、二酸化炭素は、燃料を多く消費する地域(例えば日本など)でより多く発生する。そこで、二酸化炭素を燃料消費地から燃料製造地に運搬し、合成メタンを燃料製造地から燃料消費地に運搬する供給チェーンの構築が検討されている。
【0003】
液化燃料ガスの運搬に使用される船舶(特許文献1参照)と、二酸化炭素の運搬に使用される船舶(特許文献2参照)とが従来より知られている。上記供給チェーンの場合、二酸化炭素を二酸化炭素運搬船により燃料製造地に運搬し、合成メタンを液化燃料ガス運搬船により燃料消費地に搬送するという運用が考えられる。
【先行技術文献】
【特許文献】
【0004】
特開2012-245852号公報
特開2024-030419号公報
【発明の概要】
【発明が解決しようとする課題】
【0005】
ところで、上記運用の場合、液化燃料ガス運搬船、二酸化炭素運搬船のいずれも片道しか貨物を運ばないことになるので経済性が低い。また、空荷時の喫水線を調節するために積載されるバラスト水に対する処理が求められるので、そのための費用が発生する(特許文献2参照)。これらは、上記供給チェーンの場合での合成メタンの製造コスト増につながる。
【0006】
本発明は上記課題に鑑みてなされたものであり、その目的は、合成メタンの製造コストの低減に寄与可能な船舶及びその航行計画を生成する情報処理装置を提供することにある。
【課題を解決するための手段】
【0007】
上記目的を達成するための本発明に係る船舶の特徴構成は、
少なくとも一つのバラストタンクと、少なくとも一つの液化燃料ガスタンクとが備えられ、
前記バラストタンク及び/又は前記液化燃料ガスタンクの少なくとも一部が、内部圧力及び内部温度を、二酸化炭素が液相となる圧力範囲及び温度範囲内に維持可能なように構成された兼用タンクである、という点にある。
【0008】
バラストタンク及び/又は液化燃料ガスタンクの少なくとも一部を液化二酸化炭素の貯留が可能な兼用タンクに構成した上記船舶によれば、往路において液化二酸化炭素を積載して合成メタンの製造地に運搬し、復路において液化燃料ガスとしての合成メタンを積載して燃料消費地に運搬するというような運用が可能になるので、経済性が高い。また、往路、復路のいずれにおいても貨物を運搬することで、バラスト水の使用及びそれに伴う処理費用の発生を抑えることができる。したがって、本発明の船舶は、二酸化炭素を燃料消費地から製造地に運搬し、合成メタンを製造地から燃料消費地に運搬する供給チェーンの場合での合成メタンの製造コストの低減に寄与可能である。
【0009】
上記目的を達成するための本発明に係る情報処理装置は、出発地から目的地に向かう往路において液化二酸化炭素を運搬し、前記目的地から前記出発地に向かう復路において液化燃料ガスを運搬する上記船舶の航行計画を生成するものであり、
その特徴構成は、
前記出発地及び少なくとも一つの往路寄港地における前記液化二酸化炭素の取得コストと、前記目的地までの候補航路ごとの前記船舶の航行コストと、をデータとして取得すると共に、
前記取得コスト及び前記航行コストに基づき、前記目的地への前記液化二酸化炭素の運搬コストが所定の条件を満たす航行計画をデータとして生成する生成部を備え、
前記航行計画が、往路の所定航路と、前記所定航路上の所定地点において前記船舶に積載される前記液化二酸化炭素の所定積載量とを含む、という点にある。
【0010】
目的地への液化二酸化炭素の運搬コストを左右する主な要因としては、液化二酸化炭素の取得コストと、目的地までの航行コストがある。液化二酸化炭素の取得コストは、主に取得する地点と量によって決まり、航行コストは、主に目的地までの航路によって決まる。上記情報処理装置によれば、所定の条件を満たす運搬コストとするには、目的地までどのような航路を通ってどの地点でどの量の液化二酸化炭素を積載すべきかを示す航行計画を生成することができる。そのため、例えば、上記情報処理装置により、運搬コストが最も低くなる航行計画を生成することができ、当該航行計画に従って上記船舶を航行させれば、合成メタンの製造コストの低減に寄与可能である。
(【0011】以降は省略されています)
この特許をJ-PlatPat(特許庁公式サイト)で参照する
関連特許
大阪瓦斯株式会社
継手
7日前
大阪瓦斯株式会社
ガスコンロ
23日前
大阪瓦斯株式会社
充放電中継装置
13日前
大阪瓦斯株式会社
充放電中継装置
13日前
大阪瓦斯株式会社
メタン生成システム
今日
大阪瓦斯株式会社
フレキシブル管用継手
7日前
大阪瓦斯株式会社
共電解メタネーション装置
26日前
大阪瓦斯株式会社
共電解メタネーション装置
26日前
大阪瓦斯株式会社
イットリア安定化ジルコニア層の製造方法、電機化学素子の製造方法、固体酸化物形燃料電池の製造方法及び固体酸化物形燃料電池セルの製造方法
1日前
個人
水上遊具
5か月前
個人
洋上研究所
4か月前
個人
船用横揺防止具
9か月前
個人
津波防災ウエア
3か月前
個人
補助機構
8か月前
個人
コンパクトシティ船
8か月前
個人
渦流動力推進構造
8か月前
石田造船株式会社
内航船
12日前
個人
セールのバテンガイド装置
4か月前
炎重工株式会社
浮標
10か月前
炎重工株式会社
浮標
10か月前
個人
水質浄化・集熱昇温システム
5か月前
住友重機械工業株式会社
船舶
4か月前
個人
船舶
10か月前
株式会社フルトン
水中捕捉装置
8か月前
個人
スクリュープロペラ
8か月前
株式会社ラフティ
サーフボード
4か月前
ペアリ株式会社
海の環境改善装置
23日前
個人
回転式による流体流出防止タンカー
8か月前
オーケー工業株式会社
係留フック
9か月前
ヤマハ発動機株式会社
船外機
10か月前
スズキ株式会社
船外機
6か月前
スズキ株式会社
船外機
7か月前
スズキ株式会社
船外機
7か月前
朝日電装株式会社
船外機用照明装置
3か月前
スズキ株式会社
船外機
6か月前
常石造船株式会社
メタノール燃料船
11か月前
続きを見る
他の特許を見る