TOP
|
特許
|
意匠
|
商標
特許ウォッチ
Twitter
他の特許を見る
公開番号
2025139904
公報種別
公開特許公報(A)
公開日
2025-09-29
出願番号
2024038988
出願日
2024-03-13
発明の名称
給湯装置
出願人
大阪瓦斯株式会社
代理人
弁理士法人R&C
主分類
F24H
15/196 20220101AFI20250919BHJP(加熱;レンジ;換気)
要約
【課題】浴槽に貯留されている湯水の利用が指令されたときに、衛生面並びに省エネルギーの観点から適切な運転操作を行えるようにすることが可能な給湯装置を提供する。
【解決手段】湯張り運転及び追焚運転を実行可能な給湯部Gと、各種の情報を表示可能な表示部R1と、給湯部G及び表示部R1の作動を制御する給湯制御手段104と、浴槽に貯留されている湯水の利用が指令されると、浴槽内の湯水の衛生状態を判別する衛生状態判別手段100と、湯水を排出したのち湯張り運転する第一動作を行う場合、並びに、追焚運転したのち足し湯する第二動作を行う場合のそれぞれで使用される資源の使用量と使用料金を算出するエネルギー使用予測手段101と、浴槽に貯留されている湯水の利用が指令されたとき、湯水の衛生状態が良好であると判別すると、第一動作と第二動作のそれぞれについての使用料金を表示部R1に表示する表示制御手段102とを備える。
【選択図】図1
特許請求の範囲
【請求項1】
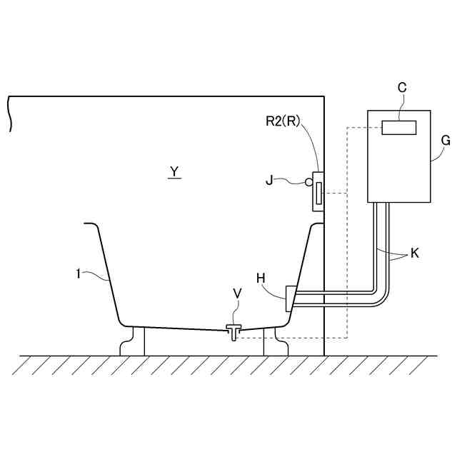
浴槽へ湯張りを行う湯張り運転、及び、前記浴槽に貯留されている残り湯を追焚する追焚運転を実行可能な給湯部と、
手動操作にて前記浴槽に貯留されている湯水の利用を指令する残り湯使用状態指令手段と、
各種の情報を表示可能な表示部と、
前記給湯部及び前記表示部の作動を制御する給湯制御手段と、
前記残り湯使用状態指令手段にて前記浴槽に貯留されている湯水の利用が指令されると、前記浴槽内の湯水の衛生状態を判別する衛生状態判別手段と、
前記給湯部が前記浴槽内の湯水を排出したのち所定の湯量にて湯張り運転する第一動作を行う場合、並びに、前記給湯部が所定の湯温になるまで追焚運転したのち所定の湯量まで足し湯する第二動作を行う場合のそれぞれで使用される資源の使用量と使用料金を算出するエネルギー使用予測手段と、
前記残り湯使用状態指令手段にて前記浴槽に貯留されている湯水の利用が指令されたとき、前記衛生状態判別手段により前記湯水の衛生状態が良好であると判別すると、前記エネルギー使用予測手段にて算出された前記第一動作を行う場合と前記第二動作を行う場合の前記使用料金を表示するように前記表示部の作動を制御する表示制御手段と、が備えられている給湯装置。
続きを表示(約 1,200 文字)
【請求項2】
前記給湯制御手段は、
前記使用料金の表示に対してユーザーが前記第一動作の実行を選択した場合には、前記第一動作を実行し、ユーザーが前記第二動作の実行を選択した場合には、前記第二動作を実行するように、前記給湯部の作動を制御する請求項1に記載の給湯装置。
【請求項3】
前記第二動作を実行するための第二所要時間が前記第一動作を実行するための第一所要時間よりも設定時間以上長い低優位性状態であるか否かを判別する優位性判別手段が備えられ、
前記表示制御手段は、
前記残り湯使用状態指令手段にて前記浴槽に貯留されている湯水の利用が指令されたとき、前記衛生状態判別手段により前記湯水の衛生状態が良好であると判別した場合であっても、前記優位性判別手段により前記低優位性状態であることが判別されると、前記第一動作を実行することを促すメッセージを表示するように前記表示部の作動を制御する請求項1に記載の給湯装置。
【請求項4】
前記衛生状態判別手段は、湯張り運転が開始されたときからの経過時間が所定時間を超えた時間超過条件と、湯張り運転が開始されたときから人が前記浴槽へ入浴した入浴回数が所定回数を超えた回数超過条件の、少なくともいずれかの条件が成立すると、前記湯水の衛生状態が良好でないと判別する請求項1に記載の給湯装置。
【請求項5】
前記浴槽へ人が入る入浴動作及び前記浴槽から人が出る退浴動作を検知する入退浴検知手段と、
前記入退浴検知手段にて前記入浴動作が検知されてから前記退浴動作が検知されるまでの間を1回の入浴単位とし、湯張り運転が開始されたときからの前記入浴単位を積算して前記入浴回数として記憶する入退浴回数計測手段と、が備えられている請求項4に記載の給湯装置。
【請求項6】
前記表示制御手段は、前記衛生状態判別手段が前記湯水の衛生状態が良好でないと判別すると、前記第一動作を実行することを促すメッセージを表示するように前記表示部の作動を制御する請求項1に記載の給湯装置。
【請求項7】
前記給湯制御手段は、前記メッセージの表示に対してユーザーが承諾すると、前記第一動作を実行し、ユーザーが承諾しなければユーザーが指令した運転動作を実行するように、前記給湯部の動作を制御する請求項6に記載の給湯装置。
【請求項8】
前記浴槽が連続して使用されている連続使用状態であるか否かを判別する連続使用判別手段が備えられ、
前記表示制御手段は、前記連続使用判別手段にて前記連続使用状態であることが判別されると、前記使用料金の表示を行わない請求項1に記載の給湯装置。
【請求項9】
前記浴槽に、前記給湯制御手段による指令に基づいて排水状態と貯水状態とに切り換え可能な自動排水栓が備えられている請求項1から8のいずれか一項に記載の給湯装置。
発明の詳細な説明
【技術分野】
【0001】
本発明は、浴槽へ湯張りを行う湯張り運転、及び、前記浴槽に貯留されている残り湯を追焚する追焚運転を実行可能な給湯部を備えている給湯装置に関する。
続きを表示(約 1,800 文字)
【背景技術】
【0002】
上記の給湯装置において、従来では、ユーザーにより湯張り運転や追焚運転が指令されると、その指定された運転動作を実行した場合において、燃焼用ガス及び水道水等の資源についての使用量と使用料金を予測してユーザーに知らせるようにしたものがあった(例えば、特許文献1参照)。
【先行技術文献】
【特許文献】
【0003】
特開2013-178051号公報
【発明の概要】
【発明が解決しようとする課題】
【0004】
上記従来構成では、ユーザーが希望する運転動作を実行した場合に、必要となる資源の使用量や資源の消費に伴って発生する料金をユーザーに知らせることで、省資源化及び省エネルギー化を促すことができる。しかし、上記従来構成では、ユーザーが指定した運転動作に関してのみ資源の使用量や料金を知らせるだけであり、異なった使用の仕方をする場合には対応することはできていなかった。
【0005】
例えば、入浴に利用した浴槽内の残り湯を利用して再度入浴に用いるような場合がある。この場合、残り湯を利用することでエネルギーの節約効果を期待できるが、残り湯が前回に入浴してからの経過時間が短時間であるとは限らず、前回に入浴してからの経過時間が長時間になっていることもある。この場合、そのまま追焚を指令すると、菌や微生物の繁殖の観点から衛生的に好ましくないものとなる。そこで、このような場合には、残り湯を排出したのちに再度、浴槽に湯張りを行った方が良い場合がある。
【0006】
本発明の目的は、浴槽に貯留されている湯水の利用が指令されたときに、衛生面並びに省エネルギーの観点から適切な運転操作を行えるようにすることが可能な給湯装置を提供する点にある。
【課題を解決するための手段】
【0007】
本発明に係る給湯装置の特徴構成は、浴槽へ湯張りを行う湯張り運転、及び、前記浴槽に貯留されている残り湯を追焚する追焚運転を実行可能な給湯部と、手動操作にて前記浴槽に貯留されている湯水の利用を指令する残り湯使用状態指令手段と、各種の情報を表示可能な表示部と、前記給湯部及び前記表示部の作動を制御する給湯制御手段と、前記残り湯使用状態指令手段にて前記浴槽に貯留されている湯水の利用が指令されると、前記浴槽内の湯水の衛生状態を判別する衛生状態判別手段と、前記給湯部が前記浴槽内の湯水を排出したのち所定の湯量にて湯張り運転する第一動作を行う場合、並びに、前記給湯部が所定の湯温になるまで追焚運転したのち所定の湯量まで足し湯する第二動作を行う場合のそれぞれで使用される資源の使用量と使用料金を算出するエネルギー使用予測手段と、前記残り湯使用状態指令手段にて前記浴槽に貯留されている湯水の利用が指令されたとき、前記衛生状態判別手段により前記湯水の衛生状態が良好であると判別すると、前記エネルギー使用予測手段にて算出された前記第一動作を行う場合と前記第二動作を行う場合のそれぞれについての前記資源の使用量と前記使用料金を表示するように前記表示部の作動を制御する表示制御手段と、が備えられている点にある。
【0008】
本発明によれば、ユーザーによって浴槽に貯留されている湯水の利用が指令された場合、例えば、浴槽に残り湯がある場合に、残り湯を追焚する追焚運転されたような場合において、衛生状態判別手段が浴槽内の湯水の衛生状態を判別する。さらに、エネルギー使用予測手段が、浴槽内の湯水を排出したのち所定の湯量にて湯張り運転する第一動作を行う場合、並びに、所定の湯温になるまで追焚運転したのち所定の湯量まで足し湯する第二動作を行う場合のそれぞれで使用される資源の使用量と使用料金を算出する。
【0009】
そして、湯水の衛生状態が良好であると判別されると、第一動作を行う場合と第二動作を行う場合の使用料金が表示部に表示される。その結果、ユーザーは、表示部に表示される情報に基づいて、どちらの使用形態がエネルギーの節約になるかを判断することができる。
【0010】
ユーザーが表示内容から判断した結果により、衛生面においても良好な状態でありながら、省エネルギーに寄与できる使用形態で浴槽内に所望の湯張り状態を実現することができる。
(【0011】以降は省略されています)
この特許をJ-PlatPat(特許庁公式サイト)で参照する
関連特許
大阪瓦斯株式会社
継手
9日前
大阪瓦斯株式会社
探査装置
1か月前
大阪瓦斯株式会社
ガスコンロ
25日前
大阪瓦斯株式会社
撥水性塗料
1か月前
大阪瓦斯株式会社
動作制御装置
1か月前
大阪瓦斯株式会社
酸化物複合体
1か月前
大阪瓦斯株式会社
制御システム
1か月前
大阪瓦斯株式会社
蓄電制御装置
1か月前
大阪瓦斯株式会社
高耐熱組成物
1か月前
大阪瓦斯株式会社
充放電中継装置
15日前
大阪瓦斯株式会社
充放電中継装置
15日前
大阪瓦斯株式会社
バイオマス系樹脂
1か月前
大阪瓦斯株式会社
燃料電池システム
1日前
大阪瓦斯株式会社
エンジンシステム
1か月前
大阪瓦斯株式会社
メタン生成システム
2日前
大阪瓦斯株式会社
フレキシブル管用継手
9日前
大阪瓦斯株式会社
平板型燃料電池スタック
29日前
大阪瓦斯株式会社
料理レシピ提案システム
1か月前
大阪瓦斯株式会社
二酸化炭素回収システム
1か月前
大阪瓦斯株式会社
二酸化炭素回収システム
1か月前
大阪瓦斯株式会社
共電解メタネーション装置
28日前
大阪瓦斯株式会社
共電解メタネーション装置
28日前
大阪瓦斯株式会社
水分状態量可視化システム
1か月前
大阪瓦斯株式会社
水素製造装置及びその運転方法
1か月前
大阪瓦斯株式会社
チタニア被覆銀を含有する組成物
1か月前
大阪瓦斯株式会社
電力融通システム及び電力融通方法
1か月前
大阪瓦斯株式会社
水素製造装置及び水素製造装置の運転方法
1か月前
大阪瓦斯株式会社
電気化学モジュールおよびエネルギーシステム
1か月前
大阪瓦斯株式会社
音声情報出力システムおよび音声情報出力装置
1か月前
大阪瓦斯株式会社
電気化学モジュールおよびエネルギーシステム
1か月前
大阪瓦斯株式会社
二酸化炭素回収装置および二酸化炭素回収方法
1日前
大阪瓦斯株式会社
船舶及びその航行計画を生成する情報処理装置
29日前
大阪瓦斯株式会社
二酸化炭素回収方法及び二酸化炭素回収システム
1か月前
大阪瓦斯株式会社
二酸化炭素回収方法及び二酸化炭素回収システム
1か月前
大阪瓦斯株式会社
貯湯式給湯システム及び貯湯式給湯システムの使用方法
1か月前
大阪瓦斯株式会社
電気化学モジュール、電気化学装置およびエネルギーシステム
1か月前
続きを見る
他の特許を見る