TOP
|
特許
|
意匠
|
商標
特許ウォッチ
Twitter
他の特許を見る
公開番号
2025167984
公報種別
公開特許公報(A)
公開日
2025-11-07
出願番号
2024073052
出願日
2024-04-26
発明の名称
接点材料
出願人
株式会社神戸製鋼所
代理人
個人
,
個人
主分類
C25D
7/00 20060101AFI20251030BHJP(電気分解または電気泳動方法;そのための装置)
要約
【課題】製造コストを抑制しつつ、粗大なクラックの発生を抑制でき、かつ十分な耐摩耗性を有する接点材料を提供する。
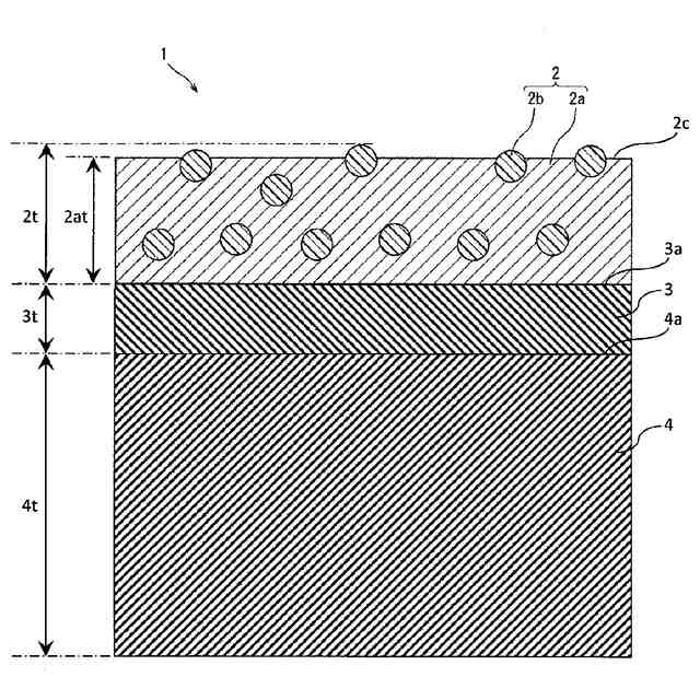
【解決手段】導電性基材と、該導電性基材の表面の少なくとも一部を覆う銀層と、該銀層の表面の少なくとも一部を覆う粒子含有金属層と、を含み、前記銀層は1.0μm以上の厚さを有し、前記粒子含有金属層は、金属材料からなる母相と、該母相に分散された粒子とを含む、接点材料。
【選択図】図1
特許請求の範囲
【請求項1】
導電性基材と、
該導電性基材の表面の少なくとも一部を覆う銀層と、
該銀層の表面の少なくとも一部を覆う粒子含有金属層と、を含み、
前記銀層は1.0μm以上の厚さを有し、
前記粒子含有金属層は、金属材料からなる母相と、該母相に分散された粒子とを含む、接点材料。
続きを表示(約 790 文字)
【請求項2】
前記銀層は、銀含有率が50質量%以上100質量%以下である、請求項1に記載の接点材料。
【請求項3】
前記銀層と前記粒子含有金属層との合計厚さに対する、前記銀層の厚さは、10~60%である、請求項1に記載の接点材料。
【請求項4】
前記粒子は非導電性粒子を含む、請求項1~3いずれか1項に記載の接点材料。
【請求項5】
前記非導電性粒子は、単位分子構造内に、フルオロ基(-F)、メチル基(-CH
3
)、カルボニル基(-C(=O)-)、アミノ基(-NR
1
R
2
であって、R
1
およびR
2
は水素または炭化水素基であり、R
1
およびR
2
は同じでも異なっていてもよい)、ヒドロキシ基(-OH)、エーテル結合(-O-)およびエステル結合(-C(=O)-O-)からなる群から選択されるいずれか1つ以上を含む非導電性有機化合物からなる粒子である、請求項4に記載の接点材料。
【請求項6】
前記母相は、銀および銀合金からなる群から選択された1種以上を含む、請求項1~3いずれか1項に記載の接点材料。
【請求項7】
前記粒子含有金属層が下記式(1)を満たす、請求項1~3いずれか1項に記載の接点材料。
2.0≦A
p
/(A
p
+A
Ag
)×100≦12.0 ・・・(1)
式(1)において、A
p
は、前記接点材料の厚さ方向の断面において、前記粒子のうち、前記母相に埋没した部分の面積であり、A
Ag
は、前記接点材料の厚さ方向の断面における前記母相の面積である。
発明の詳細な説明
【技術分野】
【0001】
本開示は接点材料に関する。
続きを表示(約 1,800 文字)
【背景技術】
【0002】
CO
2
排出規制の強化に伴い、化石燃料への依存度が低い電気自動車(EV)およびプラグインハイブリッド自動車(PHEV)の増加が予想されている。これらの自動車は、日常的にバッテリーへの充電を必要とするため、外部電源と自動車を接続する接点端子材料においては、従来自動車に用いられているものに比べても大幅に多い回数の挿抜を想定する必要がある。また、上記の充電作業を短時間化するためには大電流の通電を要する。接点における発熱損失を極小化するためには、表面接触抵抗の低い表面処理を車体側・電源側の両接点に施すことが必要である。本分野においては導電性の高い(低接触抵抗の)銀(Ag)めっきが適用されることが多いが、一般的にAgめっき膜の硬度は低いうえ、Ag同士の摺動時に「焼き付き」を生じ易いことから、繰り返しの挿抜(摺動)を実施した際に摩耗が容易に進行することが課題となる。
【0003】
このため、現行の電気自動車用充電端子には、挿抜(摺動)の繰り返しに伴う摩耗が発生しても、素地が露出することを防ぐために、接点材料に施される一般的なAgめっき膜(厚さが数μm)に比べて著しく厚いAgめっき膜(厚さが数十μm)の形成が必要となる。これは、端子部材に必要なAg量の増加を意味し、材料費の上昇を招く。また、電気めっき法によって厚いAgめっき膜を形成するためには長時間の通電めっき処理を必要とすることから、著しい生産性の悪化を招くという課題も有している。
【0004】
このような問題に対し、摩耗抑制効果を有する非導電性有機化合物の粒子をAgめっき層に含有させた「粒子共析Agめっき膜」が有効であることが知られている(例えば、特許文献1、2)。
【先行技術文献】
【特許文献】
【0005】
特開2022-154356号公報
特開2024-006857号公報
特開2020-128575号公報
【発明の概要】
【発明が解決しようとする課題】
【0006】
粒子共析Agめっき膜を施した材料に、曲げ・打ち抜きなどの加工を行うと、当該めっき膜に割れ(クラック)が発生しやすくなる。これは、粒子共析Agめっき膜中の粒子-めっき界面がクラックの発生起点となり易いことが、主な理由である。
接点材料に設けられためっき膜にクラックが発生した場合、接点材料の機能面に対する悪影響は少ないものの、目視外観が悪化する問題がある。特に、粗大なクラックが多数発生すると外観が著しく悪化して、ユーザーから忌避されるため、粗大なクラックの発生を抑制することが望まれる。
【0007】
特開2020-128575号公報(特許文献3)には、耐摩耗性、耐熱性および耐割れ性を向上できるコネクタ用端子材(接点材料)として、基材の表面の少なくとも一部に被覆された銀層と、銀層の少なくとも一部に被覆された銀白金合金層とを備えたコネクタ用端子材が開示されている。銀層と銀白金合金層とを反応させてAg
3
Pt金属間化合物を形成することで、耐摩耗性と耐熱性を向上し、Ag
3
Pt金属間化合物の膜厚を0.04μm以上1.9μm以下と薄くすることで耐割れ性を向上している。
しかしながら、特許文献3で使用される白金は高価であるため、接点材料のコストが増加する問題がある。
【0008】
本発明はこのような状況に鑑みてなされたものであり、その目的の1つは、製造コストを抑制しつつ、粗大なクラックの発生を抑制でき、かつ十分な耐摩耗性を有する接点材料を提供することである。
【課題を解決するための手段】
【0009】
本発明の態様1は、
導電性基材と、
該導電性基材の表面の少なくとも一部を覆う銀層と、
該銀層の表面の少なくとも一部を覆う粒子含有金属層と、を含み、
前記銀層は1.0μm以上の厚さを有し、
前記粒子含有金属層は、金属材料からなる母相と、該母相に分散された粒子とを含む、接点材料である。
【0010】
本発明の態様2は、
前記銀層は、銀含有率が50質量%以上100質量%以下である、態様1に記載の接点材料である。
(【0011】以降は省略されています)
この特許をJ-PlatPat(特許庁公式サイト)で参照する
関連特許
株式会社堤水素研究所
水電解装置
23日前
株式会社神戸製鋼所
接点材料
22日前
株式会社ケミカル山本
電解研磨装置用電極
23日前
本田技研工業株式会社
差圧式電解装置
1か月前
東レ株式会社
液体電解用多孔質輸送層およびその製造方法
22日前
株式会社荏原製作所
蒸気発電プラント
1か月前
メルテックス株式会社
極薄電解銅箔及びその製造方法
1か月前
古河電気工業株式会社
端子
1か月前
三菱マテリアル株式会社
皮膜付端子材及びその製造方法
1か月前
株式会社デンソー
電解装置
24日前
旭化成株式会社
電解装置の運転方法
1か月前
大阪瓦斯株式会社
共電解メタネーション装置
1か月前
大阪瓦斯株式会社
共電解メタネーション装置
1か月前
三菱重工業株式会社
皮膜形成装置
1か月前
本田技研工業株式会社
電気化学式水素昇圧システム
1か月前
JX金属株式会社
電着金属の搬送システム及び搬送方法
1か月前
株式会社フジタ
水電解装置
23日前
株式会社デンソー
セル制御システム
1か月前
日本特殊陶業株式会社
ホットモジュール
1か月前
トヨタ自動車株式会社
水電解システム
22日前
日本特殊陶業株式会社
ホットモジュール
1か月前
株式会社ホクトウ
バレルメッキ装置用リード線のリサイクル方法
24日前
株式会社デンソー
電気化学反応装置
3日前
日本碍子株式会社
電気化学セル
23日前
ノリタケ株式会社
燃料極の評価方法および電気化学セルの製造方法
1か月前
日本特殊陶業株式会社
固体酸化物形電解セルおよびその利用
1か月前
三菱重工業株式会社
水素製造システム及び水素製造方法
1か月前
株式会社神鋼環境ソリューション
水電解装置
1か月前
三菱重工業株式会社
電解セル、及び電解装置
1か月前
株式会社神鋼環境ソリューション
水素発生装置
1か月前
株式会社神鋼環境ソリューション
水素発生装置
24日前
ノリタケ株式会社
電気化学スタックの製造方法および電気化学スタック
1か月前
トヨタ自動車株式会社
電解質膜の前処理方法
10日前
株式会社豊田中央研究所
水電解システムおよび水電解装置の制御方法
22日前
日本特殊陶業株式会社
セルスタックシステム
22日前
三菱重工業株式会社
電解セルカートリッジおよびその製造方法
1か月前
続きを見る
他の特許を見る