TOP
|
特許
|
意匠
|
商標
特許ウォッチ
Twitter
他の特許を見る
公開番号
2025151741
公報種別
公開特許公報(A)
公開日
2025-10-09
出願番号
2024053306
出願日
2024-03-28
発明の名称
ホットモジュール
出願人
日本特殊陶業株式会社
代理人
弁理士法人真明センチュリー
主分類
C25B
9/65 20210101AFI20251002BHJP(電気分解または電気泳動方法;そのための装置)
要約
【課題】スタックの温度の低い部分の発生を低減できるホットモジュールを提供する。
【解決手段】ホットモジュールは、陽極と陰極とを隔離する電解質を含む電解セルが積層され電解セルの複数が直列に接続された積層体と、積層体の、電解セルの積層方向の両側に配置され電解セルと直列に接続された、極性が互いに異なる2つの端子と、を含むスタックと、端子の接続部に接続されスタックの複数を直列に接続する電線と、を含み、電解セルの積層方向の両端に位置するスタックの2つの端面の少なくとも一方と電線の一部とが近くに位置する近接部を含み、近接部における電線と端面との間の距離は、近接部の最も近くに位置する接続部と近接部における端面との間の距離よりも短い。
【選択図】図5
特許請求の範囲
【請求項1】
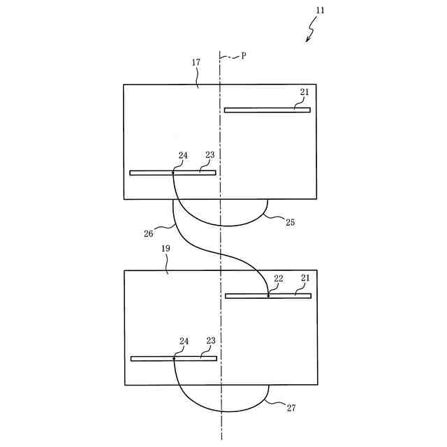
陽極と陰極とを隔離する電解質を含む電解セルが積層され前記電解セルの複数が直列に接続された積層体と、
前記積層体の、前記電解セルの積層方向の両側に配置され前記電解セルと直列に接続された、極性が互いに異なる2つの端子と、を含むスタックと、
前記端子の接続部に接続され前記スタックの複数を直列に接続する電線と、を含むホットモジュールであって、
前記電解セルの積層方向の両端に位置する前記スタックの2つの端面の少なくとも一方と前記電線の一部とが近くに位置する近接部を含み、
前記近接部における前記電線と前記端面との間の距離は、前記近接部の最も近くに位置する前記接続部と前記近接部における前記端面との間の距離よりも短いホットモジュール。
続きを表示(約 490 文字)
【請求項2】
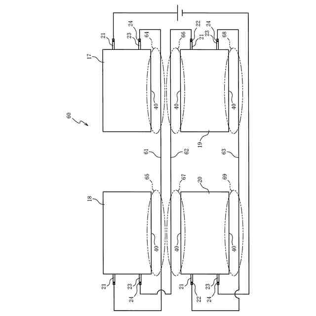
前記電解セルの積層方向に沿って並ぶ前記スタックを含み、
前記近接部は、前記電解セルの積層方向に隣り合う前記スタックの間に設けられている請求項1記載のホットモジュール。
【請求項3】
前記電解セルの積層方向に交わって並ぶ前記スタックを含み、
前記スタックは、前記スタックが並ぶ方向と前記電解セルの積層方向とを含む仮想の平面に関して反対側に前記接続部がそれぞれ配置され、
前記近接部は、前記スタックの前記接続部に接続された前記電線の一部を含む請求項1記載のホットモジュール。
【請求項4】
前記電解セルの積層方向に交わって並ぶ前記スタックを含み、
前記スタックは、反対を向いて前記接続部が配置され、
前記近接部は、前記スタックの前記接続部に接続された前記電線の一部を含む請求項1記載のホットモジュール。
【請求項5】
前記電線は、前記近接部の単位長さ当たりの電気抵抗が、前記近接部以外の単位長さ当たりの電気抵抗以上である請求項1から4のいずれかに記載のホットモジュール。
発明の詳細な説明
【技術分野】
【0001】
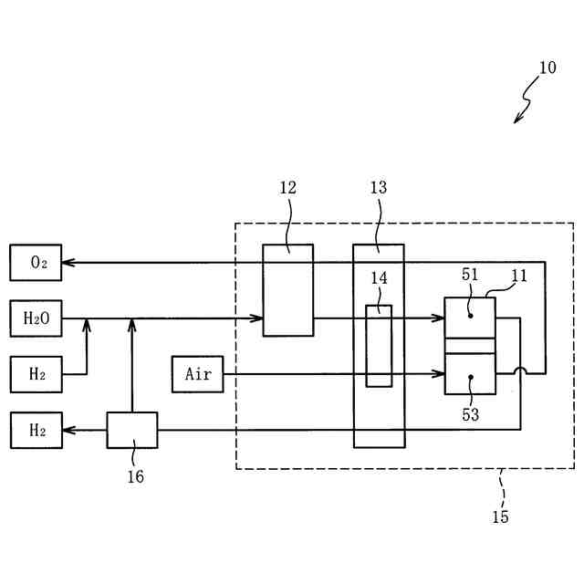
本発明は電解セルが積層されたスタックを含むホットモジュールに関する。
続きを表示(約 1,300 文字)
【背景技術】
【0002】
陽極と陰極とを隔離する電解質を含む電解セルが複数積層された積層体と、電解セルと直列に接続された端子と、を含むスタックは、スタックに供給された電気や熱のエネルギーを使って水蒸気や二酸化炭素等の燃料ガスを電気分解し、水素や炭化水素等のエネルギーキャリアを生成する。燃料ガスの電気分解は吸熱反応であるため、通常、ジュール熱による発熱と吸熱とがバランスする熱中立点を目標に、スタックにエネルギーが供給される。
【先行技術文献】
【特許文献】
【0003】
特表2016-538420号公報
【発明の概要】
【発明が解決しようとする課題】
【0004】
特許文献1に開示された先行技術では、スタックに供給されるエネルギーに対する、スタックが生成するキャリアのエネルギーの比(エネルギー効率)を高めようとしてスタックに供給するエネルギーを必要量にすると、温度の低い部分がスタックに現れやすくなりエネルギーキャリアの生成量が減り、エネルギー効率が低下することがある。
【0005】
本発明はこの問題点を解決するためになされたものであり、スタックの温度の低い部分の発生を低減できるホットモジュールの提供を目的とする。
【課題を解決するための手段】
【0006】
この目的を達成するためのホットモジュールの第1の態様は、陽極と陰極とを隔離する電解質を含む電解セルが積層され電解セルの複数が直列に接続された積層体と、積層体の、電解セルの積層方向の両側に配置され電解セルと直列に接続された、極性が互いに異なる2つの端子と、を含むスタックと、端子の接続部に接続されスタックの複数を直列に接続する電線と、を含むホットモジュールであって、電解セルの積層方向の両端に位置するスタックの2つの端面の少なくとも一方と電線の一部とが近くに位置する近接部を含み、近接部における電線と端面との間の距離は、近接部の最も近くに位置する接続部と近接部における端面との間の距離よりも短い。
【0007】
第2の態様は、第1の態様において、電解セルの積層方向に沿って並ぶスタックを含み、近接部は、電解セルの積層方向に隣り合うスタックの間に設けられている。
【0008】
第3の態様は、第1又は第2の態様において、電解セルの積層方向に交わって並ぶスタックを含み、スタックは、スタックが並ぶ方向と電解セルの積層方向とを含む仮想の平面に関して反対側に接続部がそれぞれ配置され、近接部は、スタックの接続部に接続された電線の一部を含む。
【0009】
第4の態様は、第1又は第2の態様において、電解セルの積層方向に交わって並ぶスタックを含み、スタックは、反対を向いて接続部が配置され、近接部は、スタックの接続部に接続された電線の一部を含む。
【0010】
第5の態様は、第1から第4の態様のいずれかにおいて、電線は、近接部の単位長さ当たりの電気抵抗が、近接部以外の単位長さ当たりの電気抵抗以上である。
【発明の効果】
(【0011】以降は省略されています)
この特許をJ-PlatPat(特許庁公式サイト)で参照する
関連特許
日本特殊陶業株式会社
センサ
27日前
日本特殊陶業株式会社
センサ
27日前
日本特殊陶業株式会社
センサ
27日前
日本特殊陶業株式会社
センサ
27日前
日本特殊陶業株式会社
センサ
27日前
日本特殊陶業株式会社
センサ
13日前
日本特殊陶業株式会社
保持装置
16日前
日本特殊陶業株式会社
保持部材
20日前
日本特殊陶業株式会社
加熱装置
20日前
日本特殊陶業株式会社
圧電素子
13日前
日本特殊陶業株式会社
化学センサ
1日前
日本特殊陶業株式会社
圧電発音体
27日前
日本特殊陶業株式会社
電極埋設部材
今日
日本特殊陶業株式会社
スパークプラグ
20日前
日本特殊陶業株式会社
セラミック部品
28日前
日本特殊陶業株式会社
ホットモジュール
28日前
日本特殊陶業株式会社
ホットモジュール
28日前
日本特殊陶業株式会社
無鉛圧電磁器組成物
13日前
日本特殊陶業株式会社
ガスセンサの製造方法
29日前
日本特殊陶業株式会社
アンモニアの合成装置
9日前
日本特殊陶業株式会社
圧電セラミック積層体
27日前
日本特殊陶業株式会社
アンモニアの合成装置
9日前
日本特殊陶業株式会社
電極および蓄電デバイス
今日
日本特殊陶業株式会社
電極および蓄電デバイス
今日
日本特殊陶業株式会社
アンモニアの合成システム
9日前
日本特殊陶業株式会社
金属有機構造体、および賦形体
1か月前
日本特殊陶業株式会社
回路基板、およびパワーデバイス
22日前
日本特殊陶業株式会社
回路基板、およびパワーデバイス
22日前
日本特殊陶業株式会社
固体酸化物形電解セルおよびその利用
28日前
日本特殊陶業株式会社
固体酸化物形電解セルおよびその利用
28日前
日本特殊陶業株式会社
固体酸化物形電解セルおよびその利用
28日前
日本特殊陶業株式会社
固体酸化物形電解セルおよびその利用
28日前
日本特殊陶業株式会社
固体酸化物形電解セルおよびその利用
28日前
日本特殊陶業株式会社
固体酸化物形電解セルおよびその利用
28日前
日本特殊陶業株式会社
固体酸化物形電解セルおよびその利用
28日前
日本特殊陶業株式会社
固体酸化物形電解セルおよびその利用
28日前
続きを見る
他の特許を見る