TOP
|
特許
|
意匠
|
商標
特許ウォッチ
Twitter
他の特許を見る
公開番号
2025150861
公報種別
公開特許公報(A)
公開日
2025-10-09
出願番号
2024052001
出願日
2024-03-27
発明の名称
固体酸化物形電解セルおよびその利用
出願人
日本特殊陶業株式会社
代理人
個人
,
個人
主分類
C25B
5/00 20060101AFI20251002BHJP(電気分解または電気泳動方法;そのための装置)
要約
【課題】空気極へのクラックの発生を抑制できる技術を提供する。
【解決手段】固体酸化物形電解セルは、一般式A1
x
A2
y
BO
3-δ
(ただし、0.9≦x+y<1、δは酸素欠損量)で表されるペロブスカイト構造を有する複合酸化物を主成分として含有する空気極と、燃料極と、前記空気極と前記燃料極との間に配置された固体電解質層と、を備え、前記空気極は、クロムを含有する第1の物質と、硫黄を含有する第2の物質と、を含み、前記空気極の断面における前記第1の物質と前記第2の物質との面積占有率の合計は、前記固体電解質層側の界面から10μm以内の界面領域よりも、前記固体電解質層側とは反対の表面から10μm以内の表面領域の方が大きい。
【選択図】図2
特許請求の範囲
【請求項1】
一般式A1
x
A2
y
BO
3-δ
(ただし、0.9≦x+y<1、δは酸素欠損量)で表されるペロブスカイト構造を有する複合酸化物を主成分として含有する空気極と、
燃料極と、
前記空気極と前記燃料極との間に配置された固体電解質層と、
を備え、
前記空気極は、
クロムを含有する第1の物質と、
硫黄を含有する第2の物質と、
を含み、
前記空気極の断面における前記第1の物質と前記第2の物質との面積占有率の合計は、前記固体電解質層側の界面から10μm以内の界面領域よりも、前記固体電解質層側とは反対の表面から10μm以内の表面領域の方が大きい、
固体酸化物形電解セル。
続きを表示(約 930 文字)
【請求項2】
請求項1に記載の固体酸化物形電解セルにおいて、
前記空気極の断面における前記第1の物質と前記第2の物質との面積占有率の合計は、
前記表面領域において、0.1%以上かつ10.5%以下であり、
前記界面領域において、0.02%以上かつ4.5%以下である、
固体酸化物形電解セル。
【請求項3】
請求項1または請求項2に記載の固体酸化物形電解セルにおいて、
前記燃料極には、水蒸気を含む燃料ガスが、100~130リットル/(分・cm
2
)の流量で供給されて用いられる、
固体酸化物形電解セル。
【請求項4】
請求項1または請求項2に記載の固体酸化物形電解セルにおいて、
前記空気極には、酸素を含むガスが、30~50リットル/(分・cm
2
)の流量で供給されて用いられる、
固体酸化物形電解セル。
【請求項5】
請求項1または請求項2に記載の固体酸化物形電解セルにおいて、
前記空気極が面する空気室の容積が、9cm
3
~11cm
3
である、
固体酸化物形電解セル。
【請求項6】
請求項1または請求項2に記載の固体酸化物形電解セルと、
前記固体電解質層に配置される、中央が開口したセパレータと、を備える、
セパレータ付きセル。
【請求項7】
請求項1または請求項2に記載の固体酸化物形電解セルを複数積層した電解スタック。
【請求項8】
請求項7に記載の電解スタックと、
前記電解スタックに供給される水蒸気を生成する気化器と、
前記電解スタックに供給されるガスとの間で熱交換を行う熱交換器と、
前記電解スタックを加熱するためのヒータと、
前記電解スタック、前記気化器、前記熱交換器および前記ヒータが内部に配置された断熱材と、を備える、
ホットモジュール。
【請求項9】
請求項8に記載のホットモジュールを備える水素製造装置。
発明の詳細な説明
【技術分野】
【0001】
本開示は、固体酸化物形電解セルおよびその利用に関する。
続きを表示(約 1,800 文字)
【背景技術】
【0002】
水素と酸素との電気化学反応を利用して発電を行う固体酸化物形の燃料電池(以下、「SOFC」という。)が知られている。例えば、特許文献1に記載のSOFCの構成単位である燃料電池の単セルは、固体酸化物を含む電解質層と、電解質層に対して一方側に配置された空気極と、電解質層に対して他方側に配置された燃料極とを備える。空気極に供給された酸素から解離された酸素イオンが、固体電解質の酸素伝導度に基づいて燃料極に移動し、燃料極に供給される燃料ガスに含まれる水素と反応し水蒸気を生成するとともに電気を発生する。
【0003】
上記のSOFCは、逆向きに通電することにより、固体酸化物形電解セル(以下、単に「SOEC」という。)として用いることが可能であり、再生可能エネルギーの導入過程で課題となっている余剰電力等を用いて水蒸気を水素に変換する形態の蓄エネルギー技術として用いられることが知られている。燃料極に水蒸気を供給するとともに、空気極と燃料極の間に電流を流すと、水蒸気が電気分解され燃料極から水素が発生し、燃料極で生成した酸素イオンが固体電解質の酸素伝導度に基づいて空気極に移動し、空気極から酸素が発生する。
【先行技術文献】
【特許文献】
【0004】
特開2023-080459号公報
【発明の概要】
【発明が解決しようとする課題】
【0005】
一般的に、SOFCでは、使用時に燃料極で酸素が消費されるため、空気室側でガス圧力が下がるが、SOECでは、使用時に空気極側で酸素が発生するため、空気室側のガス圧力が上がったり、燃料ガスである水蒸気が気化する際の急激なガス圧力の上昇等により、SOFCとは異なる応力がかかり空気極にクラックが発生する虞がある。また、一般的に、SOECでは、電流密度が低下することを抑制する技術が望まれている。
【課題を解決するための手段】
【0006】
本開示は、以下の形態として実現することができる。
【0007】
(1)本開示の一形態によれば、固体酸化物形電解セルが提供される。この固体酸化物形電解セルは、一般式A1
x
A2
y
BO
3-δ
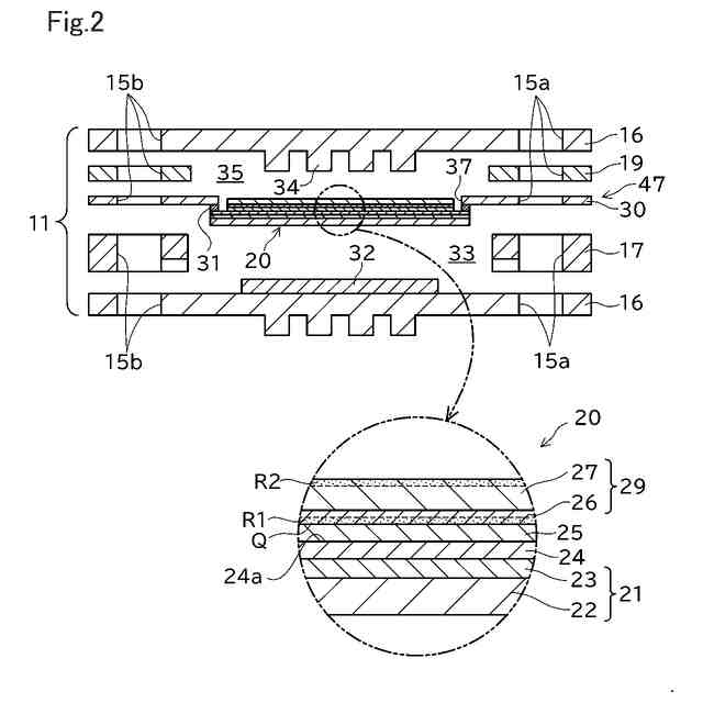
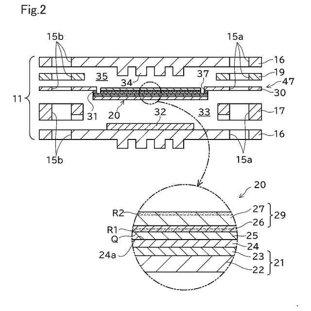
(ただし、0.9≦x+y<1、δは酸素欠損量)で表されるペロブスカイト構造を有する複合酸化物を主成分として含有する空気極と、燃料極と、前記空気極と前記燃料極との間に配置された固体電解質層と、を備え、前記空気極は、クロムを含有する第1の物質と、硫黄を含有する第2の物質と、を含み、前記空気極の断面における前記第1の物質と前記第2の物質との面積占有率の合計は、前記固体電解質層側の界面から10μm以内の界面領域よりも、前記固体電解質層側とは反対の表面から10μm以内の表面領域の方が大きい。この形態の固体酸化物形電解セルよれば、空気極へのクラックの発生を抑制することができる。
【0008】
(2)上記(1)に記載の固体酸化物形電解セルにおいて、前記空気極の断面における前記第1の物質と前記第2の物質との面積占有率の合計は、前記表面領域において、0.1%以上かつ10.5%以下であってもよく、前記界面領域において、0.02%以上かつ4.5%以下であってもよい。この形態の固体酸化物形電解セルによれば、空気極へのクラックの発生を抑制することができる。
【0009】
(3)上記(1)または上記(2)に記載の固体酸化物形電解セルにおいて、前記燃料極には、水蒸気を含む燃料ガスが、100~130リットル/(分・cm
2
)の流量で供給されて用いられてもよい。この形態の固体酸化物形電解セルによれば、空気極へのクラックの発生を抑制することができる。
【0010】
(4)上記(1)から上記(3)までのいずれか一項に記載の固体酸化物形電解セルにおいて、前記空気極には、酸素を含むガスが、30~50リットル/(分・cm
2
)の流量で供給されて用いられてもよい。この形態の固体酸化物形電解セルによれば、空気極へのクラックの発生を抑制することができる。
(【0011】以降は省略されています)
この特許をJ-PlatPat(特許庁公式サイト)で参照する
関連特許
本田技研工業株式会社
差圧式電解装置
13日前
株式会社デンソー
電解装置
今日
旭化成株式会社
電解装置の運転方法
15日前
大阪瓦斯株式会社
共電解メタネーション装置
12日前
大阪瓦斯株式会社
共電解メタネーション装置
12日前
JX金属株式会社
電着金属の搬送システム及び搬送方法
12日前
株式会社ホクトウ
バレルメッキ装置用リード線のリサイクル方法
今日
株式会社神鋼環境ソリューション
水素発生装置
今日
株式会社豊田中央研究所
水電解システム、水電解方法、および、コンピュータプログラム
1日前
三菱重工業株式会社
水電解システム、及び水電解システムの運転方法
6日前
大阪瓦斯株式会社
共電解メタネーション装置及び共電解メタネーション装置の運転方法
12日前
東京瓦斯株式会社
水電解セルスタック診断方法、水電解セルスタック診断システム
今日
株式会社神戸製鋼所
水素供給システムおよび水素供給方法
14日前
株式会社日立製作所
水素製造システム、電力供給装置及び水素製造システムの制御方法
12日前
株式会社荏原製作所
めっき装置、およびめっき方法
6日前
株式会社大北製作所
金属と熱硬化性炭素繊維強化プラスチックとの接合体及び接合方法
12日前
日本電解株式会社
表面処理銅箔およびその製造方法
12日前
南亞塑膠工業股分有限公司
銅箔複合構造およびその製造方法
8日前
株式会社堀場製作所
水電解評価装置、水電解装置評価方法及び水電解評価装置用プログラム
12日前
国立大学法人東北大学
電解精製装置、電解精製方法
6日前
三菱重工業株式会社
電解セルスタック、電解セルカートリッジ、電解セルモジュールおよび電解セルスタックの製造方法
6日前
東京瓦斯株式会社
アニオン交換膜形水電解用アノード触媒、アニオン交換膜形水電解用アノード触媒層、アニオン交換膜形水電解セル、及び水電解セルスタック
12日前
日本特殊陶業株式会社
電気化学セル、固体酸化物形電解セル、セルスタック、ホットモジュール、およびガス製造装置
12日前
ラム リサーチ コーポレーション
アルカリ電気めっき溶液からの電気充填
8日前
深セン市必極必特汽車用品有限公司
空調衣服用の電圧調整可能なモバイル電源
8日前
花王株式会社
体脂肪変化の予測方法
15日前
株式会社Hyperion FoodTech
培地組成物および培養方法
1日前
公益財団法人鉄道総合技術研究所
摩擦材の摩耗量推定方法とその摩耗量推定装置
15日前
スタリクラ ソシエテ アノニム
ASDに対する治療
今日
富士電機株式会社
スイッチング制御回路、電源回路
9日前
ザ・ヘンリー・エム・ジャクソン・ファンデイション・フォー・ジ・アドヴァンスメント・オヴ・ミリタリー・メディシン,インコーポレイテッド
敗血症を患う個体における重症疾患の予測及び対処
8日前
他の特許を見る