TOP
|
特許
|
意匠
|
商標
特許ウォッチ
Twitter
他の特許を見る
公開番号
2025146530
公報種別
公開特許公報(A)
公開日
2025-10-03
出願番号
2024047363
出願日
2024-03-22
発明の名称
電解反応装置
出願人
一般財団法人電力中央研究所
代理人
個人
,
個人
主分類
C25B
9/00 20210101AFI20250926BHJP(電気分解または電気泳動方法;そのための装置)
要約
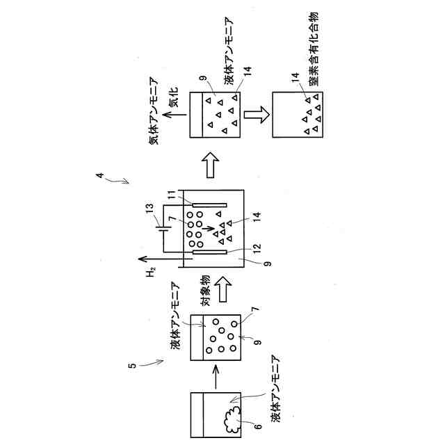
【課題】アンモニアを有効に利用し、常温で窒素含有化合物を得る。
【解決手段】対象物を液体アンモニアに溶解して溶媒1とし、対象物が溶解された溶媒1を電解手段で電解することで窒素含有化合物を得る。
【選択図】図1
特許請求の範囲
【請求項1】
アンモニアを主成分とする溶媒に、対象物が溶解された電解液と、
前記電解液を電解することで前記対象物から窒素含有化合物を得る電解手段とを備えた
ことを特徴とする電解反応装置。
続きを表示(約 930 文字)
【請求項2】
請求項1に記載の電解反応装置において、
前記対象物は、有機物であり、
前記溶媒は、液体アンモニアである
ことを特徴とする電解反応装置。
【請求項3】
請求項2に記載の電解反応装置において、
前記対象物としての有機物は、
少なくとも、アルキル基、アルデヒド基、カルボキシル基、アミノ基、イミド基、ヒドロキシル基、カルボニル基、エーテル基、ニトロ基、スルホ基のいずれか一つの官能基を持つ脂肪族化合物または芳香族化合物である
ことを特徴とする電解反応装置。
【請求項4】
請求項2に記載の電解反応装置において、
前記対象物としての有機物は、
少なくとも、糖、タンパク質、脂質、リグニン、抽出成分、無機物、ビタミンのいずれか一つを含む
ことを特徴とする電解反応装置。
【請求項5】
請求項3に記載の電解反応装置において、
前記対象物としての有機物は、
少なくとも、m-メチルアニソール、m-アニスアルデヒド、プロピルベンゼン、ヘキサナール、安息香酸、p-クマル酸のいずれか一つを含む有機物である
ことを特徴とする電解反応装置。
【請求項6】
請求項3、もしくは、請求項4に記載の電解反応装置において、
前記窒素含有化合物は、
少なくとも、アミン、イミン、ニトリル、アミド、イミドのいずれか一つを含む
ことを特徴とする電解反応装置。
【請求項7】
請求項2から請求項5のいずれか一項に記載の電解反応装置において、
前記電解液は、
アンモニアを主成分とする溶媒を用いて、有機物を含む被溶解部材を、液体に溶解する溶解成分と、非溶解成分とに分離する分離手段における、非溶解成分が分離された溶媒が用いられる
ことを特徴とする電解反応装置。
【請求項8】
請求項7に記載の電解反応装置において、
前記分離手段で溶解成分と、非溶解成分とに分離される被溶解部材は、バイオマスである
ことを特徴とする電解反応装置。
発明の詳細な説明
【技術分野】
【0001】
本発明は、アンモニアを溶媒として対象物を電解することで窒素含有化合物を生成する電解反応装置に関する。
続きを表示(約 1,300 文字)
【背景技術】
【0002】
窒素含有化合物(アミノ基、シアノ基等を有する有機化合物)は医薬品、樹脂等の合成の主要原料であり、有機化合物合成の中間体として不可欠な化合物である。
【0003】
窒素含有化合物として、例えば、ニトリル化合物の合成においては、シアン化銅やシアン化ナトリウムを窒素源として用いるか、もしくはアンモニアを用いた触媒反応により合成されている(特許文献1、2参照)。特許文献1をはじめとする化学的なシアノ化、電解的なシアノ化の技術を適用することで、芳香族ニトリル化合物を効率よく製造することができる。
【0004】
しかし、化学的、電解的なシアノ化の技術では、窒素化合物を得るために、窒素源として、毒性の高い物質(CuCN、NaCN)が必要となっていた。また、アンモニアを用いてニトリル化合物を合成する技術では、ニトリル化合物を得るために高温・高圧、及び、高額な触媒が必要とされているのが実情であった。
【0005】
またアミノ基を有する化合物を合成するアミノ化反応においては、アミノ基を直接有機化合物に導入することは難しく、高温、高圧、および高額な触媒を必要とし、また多くの中間体を経由するために合成プロセスが複雑になっているのが実情であった。
【先行技術文献】
【特許文献】
【0006】
特開2021-070667号公報
特開2021-138644号公報
【発明の概要】
【発明が解決しようとする課題】
【0007】
本発明は上記状況に鑑みてなされたもので、窒素源として毒性の高い物質(CuCN、NaCN)を用いることなく、アンモニアを有効に利用することで、窒素含有化合物を直接的に得ることができる電解反応装置(液体アンモニアを用いた電解反応装置)を提供することを目的とする。
【課題を解決するための手段】
【0008】
上記目的を達成するための請求項1に係る本発明の電解反応装置は、アンモニアを主成分とする溶媒に、対象物が溶解された電解液と、前記電解液を電解することで前記対象物から窒素含有化合物を得る電解手段とを備えたことを特徴とする。
【0009】
請求項1に係る本発明では、対象物(例えば、有機物)を、アンモニアを主成分とする溶媒(液体アンモニア)の中で電解することで、アンモニアを窒素源として対象物から窒素含有化合物を得ることができる。つまり、アンモニアを有効に利用し、窒素源として毒性の高い物質(CuCN、NaCN)を使用することなく、常温で、アミン、イミン、ニトリル、アミド、イミドなどの窒素含有化合物を直接的に得ることができる。
【0010】
尚、アンモニアを主成分とする溶媒としての液体アンモニアは、100%の純度のアンモニアだけの意味ではなく、不純物などが含まれるものを包含する意味である。また、電解反応装置の還元側で得られた水素(H
2
)は、各種の燃料(例えば、燃料電池の燃料)として用いることができる。
(【0011】以降は省略されています)
特許ウォッチbot のツイートを見る
この特許をJ-PlatPat(特許庁公式サイト)で参照する
関連特許
株式会社堤水素研究所
水電解装置
1か月前
株式会社神戸製鋼所
接点材料
1か月前
株式会社ケミカル山本
電解研磨装置用電極
1か月前
本田技研工業株式会社
電解装置
2日前
本田技研工業株式会社
差圧式電解装置
1か月前
株式会社荏原製作所
蒸気発電プラント
2か月前
東レ株式会社
液体電解用多孔質輸送層およびその製造方法
1か月前
メルテックス株式会社
極薄電解銅箔及びその製造方法
1か月前
睦技研株式会社
バレルめっき装置
6日前
株式会社デンソー
電解装置
1か月前
旭化成株式会社
電解装置の運転方法
1か月前
大阪瓦斯株式会社
共電解メタネーション装置
1か月前
大阪瓦斯株式会社
共電解メタネーション装置
1か月前
株式会社トクヤマ
電解槽ユニット
6日前
株式会社トクヤマ
電解槽ユニット
6日前
三菱重工業株式会社
皮膜形成装置
2か月前
株式会社フジタ
水電解装置
1か月前
JX金属株式会社
電着金属の搬送システム及び搬送方法
1か月前
本田技研工業株式会社
電気化学式水素昇圧システム
1か月前
トヨタ自動車株式会社
水電解システム
1日前
日本碍子株式会社
電気化学セル
1か月前
株式会社デンソー
セル制御システム
2か月前
株式会社デンソー
電気化学反応装置
15日前
トヨタ自動車株式会社
水電解システム
1か月前
株式会社ホクトウ
バレルメッキ装置用リード線のリサイクル方法
1か月前
ノリタケ株式会社
燃料極の評価方法および電気化学セルの製造方法
2か月前
株式会社神鋼環境ソリューション
水電解装置
2か月前
三菱重工業株式会社
水素製造システム及び水素製造方法
2か月前
株式会社神鋼環境ソリューション
水素発生装置
2か月前
株式会社神鋼環境ソリューション
水素発生装置
1か月前
ノリタケ株式会社
電気化学スタックの製造方法および電気化学スタック
2か月前
三菱重工業株式会社
電解セル、及び電解装置
2か月前
トヨタ自動車株式会社
電解質膜の前処理方法
22日前
三菱重工業株式会社
電解セルカートリッジおよびその製造方法
1か月前
株式会社豊田中央研究所
水電解システムおよび水電解装置の制御方法
1か月前
日本特殊陶業株式会社
セルスタックシステム
1か月前
続きを見る
他の特許を見る