TOP
|
特許
|
意匠
|
商標
特許ウォッチ
Twitter
他の特許を見る
10個以上の画像は省略されています。
公開番号
2025151930
公報種別
公開特許公報(A)
公開日
2025-10-09
出願番号
2024053567
出願日
2024-03-28
発明の名称
電解セル、及び電解装置
出願人
三菱重工業株式会社
代理人
個人
,
個人
,
個人
,
個人
,
個人
主分類
C25B
13/04 20210101AFI20251002BHJP(電気分解または電気泳動方法;そのための装置)
要約
【課題】電解液の漏洩がさらに抑制された電解セル、及び電解装置を提供する。
【解決手段】電解セルでは、絶縁パッキンは、環状をなすパッキン本体と、パッキン本体の内側に形成され第一供給孔、及び第一排出孔をそれぞれ外周側から囲む円弧状の円弧パッキンと、三角パッキンと、を有し、セパレータとアニオン交換膜との間に挟持されて弾性変形する前の状態の円弧パッキンでは、第一拡散案内部とアニオン交換膜との間の隙間よりも厚さが大きく設定され、三角パッキンでは、パッキン本体よりも厚さが大きく設定されている。
【選択図】図7
特許請求の範囲
【請求項1】
一対のセパレータと、
該一対のセパレータ同士の間に配置されたアニオン交換膜と、
該アニオン交換膜とそれぞれの前記セパレータとの間に設けられた絶縁パッキンと、
を備え、
前記セパレータは、
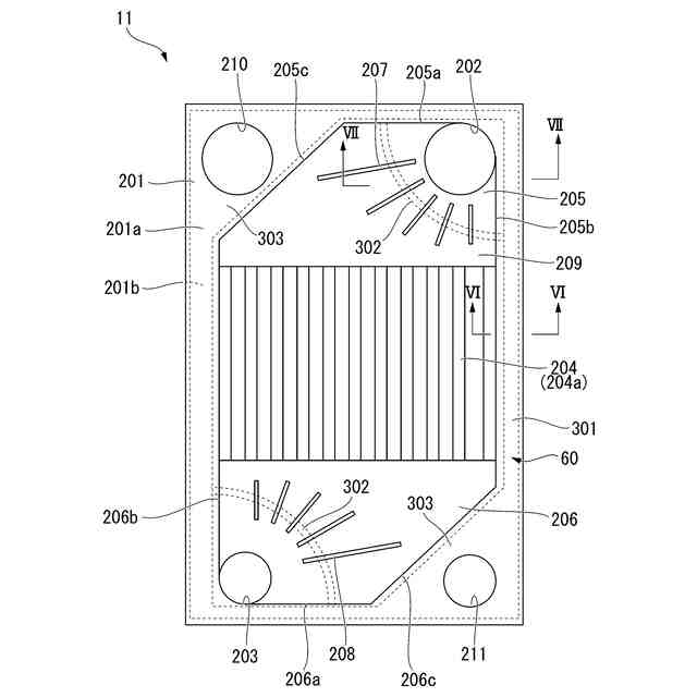
矩形板状をなし、厚さ方向の一方側を向く第一面、及び他方側を向く第二面を有するセパレータ本体と、
前記第一面における前記セパレータ本体の一の対角線上に形成され、前記第一面から前記第二面に向かって前記セパレータ本体を貫通する第一供給孔、及び第一排出孔と、
前記第一供給孔と前記第一排出孔との間の領域に形成され、前記セパレータ本体の長手方向に延びるとともに該長手方向に直交する幅方向に間隔をあけて配列された複数の第一溝部を有する主流路と、
前記第一供給孔から前記第一溝部までの間に広がるとともに前記第一面側から前記第二面側に向かって凹み、前記第一面側から見て前記第一供給孔から前記第一溝部に向かうに従って前記幅方向の寸法が次第に拡大する台形状の第一拡散流路と、
前記第一溝部から前記第一排出孔までの間に広がるとともに前記第一面側から前記第二面側に向かって凹み、前記第一面側から見て前記第一溝部から前記第一排出孔に向かうに従って前記幅方向の寸法が次第に縮小する台形状の第一収束流路と、
前記第一拡散流路内に設けられて、前記第二面側から前記第一面側に向かって突出するとともに、前記第一供給孔から放射状に延びることで流体を前記第一供給孔から前記第一溝部にかけて案内する第一拡散案内部と、
前記第一収束流路内に設けられて、前記第二面側から前記第一面側に向かって突出するとともに、前記第一排出孔から放射状に延びることで流体を前記第一溝部から前記第一排出孔にかけて案内する第一収束案内部と、
を有し、
前記絶縁パッキンは、
前記主流路、前記第一拡散流路、及び前記第一収束流路の外側に配置され、前記第一面側から見て環状をなすパッキン本体と、
該パッキン本体の内側に形成され、前記第一拡散案内部、及び前記第一収束案内部をそれぞれまたぐようにして延びるとともに、前記第一供給孔、及び前記第一排出孔をそれぞれ外周側から囲む円弧状の円弧パッキンと、
前記パッキン本体の内側に形成され、前記第一拡散流路、及び前記第一収束流路の斜辺までそれぞれ広がる三角パッキンと、
を有し、
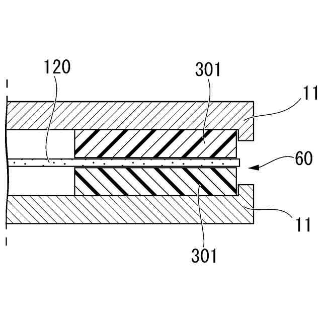
前記セパレータと前記アニオン交換膜との間に挟持されて弾性変形する前の状態の前記円弧パッキンでは、前記第一拡散案内部と前記アニオン交換膜との間の隙間よりも厚さが大きく設定されている電解セル。
続きを表示(約 650 文字)
【請求項2】
前記円弧パッキンでは、前記第一拡散案内部と前記アニオン交換膜との間の隙間よりも厚さが0.1mmから1.0mm大きく設定されている請求項1に記載の電解セル。
【請求項3】
前記セパレータ本体には、前記パッキン本体の一部を収容する収容溝が形成されている請求項1又は2に記載の電解セル。
【請求項4】
全荷重が500N以上の繰り返し荷重負荷試験において、最大荷重が500Nの時の弾性圧縮変位量を100%と定義した場合、荷重を除荷した5秒後の弾性圧縮変位量が、荷重500Nの時の弾性圧縮変位量の90%以下である材料で形成されている請求項1又は2に記載の電解セル。
【請求項5】
前記絶縁パッキンは、硬度が50以上60以下のエチレンプロピレンジエンゴムで形成されている請求項1又は2に記載の電解セル。
【請求項6】
前記セパレータは、前記第一排出孔、及び前記第一供給孔の周縁に沿って周方向に間隔をあけて設けられた複数の第一凸部、及び第二凸部と、前記主流路の上流側、及び下流側にそれぞれ設けられ、該主流路に交差する方向に間隔をあけて配列された複数の第三凸部、及び第四凸部と、をさらに有する請求項1又は2に記載の電解セル。
【請求項7】
請求項1又は2に記載の電解セルと、
前記電解セルに電解液を供給する電解液供給部と、
前記電解セルに電圧を印加する電源部と、
を備える電解装置。
発明の詳細な説明
【技術分野】
【0001】
本開示は、電解セル、及び電解装置に関する。
続きを表示(約 2,500 文字)
【背景技術】
【0002】
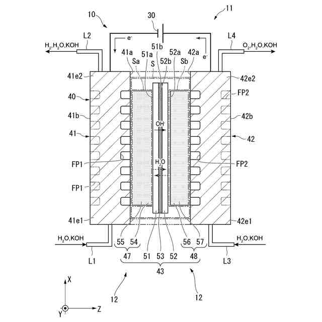
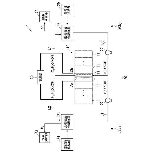
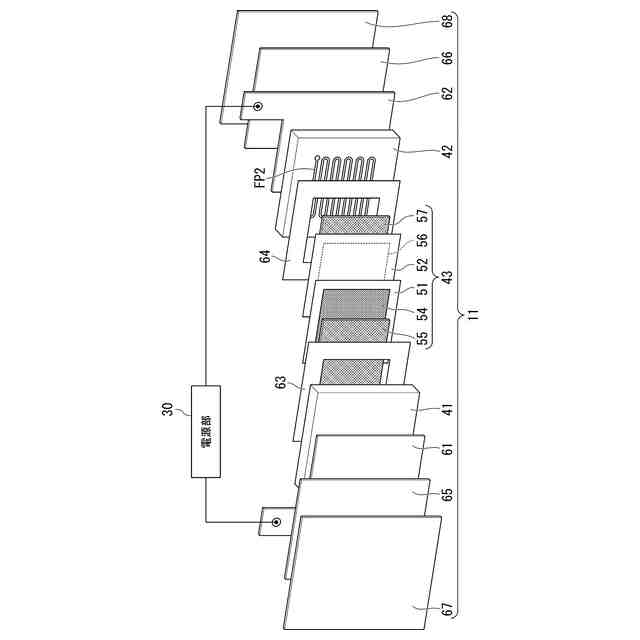
水素を生成するための装置として、水を電気分解する装置(電解装置)が知られている。この種の装置では、イオン交換膜によって陰極室と陽極室に区画された電解槽内に水を充填し、陰極と陽極に電力を供給することで水の電気分解が行われる。陰極室では水と電子の反応によって水素が発生する。この反応によって生じた水酸化物イオンはイオン交換膜を透過して陽極室に到達する。陽極室ではこの水酸化物イオンから、酸素と水が発生する。このような反応が継続することで、大量の水素を得ることができる。
【0003】
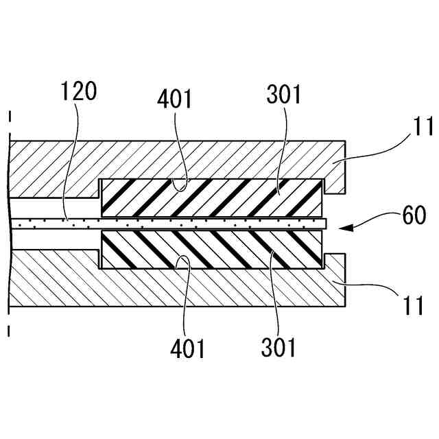
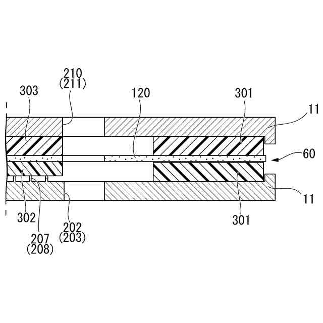
より詳細には、イオン交換膜は、セパレータと呼ばれる板状の部材によって厚さ方向の両側から挟持されており、当該セパレータの表面には電解液が流れる流路が形成されている。流路からの電解液の漏洩を防ぐために、セパレータとイオン交換膜との間にはシール部材(絶縁パッキン)が介在している(例えば下記特許文献1参照)。下記特許文献1に係る装置では、厚さが一様な樹脂材料がシール部材として用いられている。
【先行技術文献】
【特許文献】
【0004】
特開2021-191886号公報
【発明の概要】
【発明が解決しようとする課題】
【0005】
ここで、流路に電解液を高圧状態で流した場合、セパレータと絶縁パッキンとの間の面圧分布は、位置によって変化する傾向にある。すると、上記のように厚さが一様な絶縁パッキンを用いた場合、面圧が小さい領域では十分なシール効果が得られない。結果として、電解液の漏洩を生じてしまう虞がある。
【0006】
本開示は上記課題を解決するためになされたものであって、電解液の漏洩がさらに抑制された電解セル、及び電解装置を提供することを目的とする。
【課題を解決するための手段】
【0007】
上記課題を解決するために、本開示に係る電解セルは、一対のセパレータと、該一対のセパレータ同士の間に配置されたアニオン交換膜と、該アニオン交換膜とそれぞれの前記セパレータとの間に設けられた絶縁パッキンと、を備え、前記セパレータは、矩形板状をなし、厚さ方向の一方側を向く第一面、及び他方側を向く第二面を有するセパレータ本体と、前記第一面における前記セパレータ本体の一の対角線上に形成され、前記第一面から前記第二面に向かって前記セパレータ本体を貫通する第一供給孔、及び第一排出孔と、前記第一供給孔と前記第一排出孔との間の領域に形成され、前記セパレータ本体の長手方向に延びるとともに該長手方向に直交する幅方向に間隔をあけて配列された複数の第一溝部を有する主流路と、前記第一供給孔から前記第一溝部までの間に広がるとともに前記第一面側から前記第二面側に向かって凹み、前記第一面側から見て前記第一供給孔から前記第一溝部に向かうに従って前記幅方向の寸法が次第に拡大する台形状の第一拡散流路と、前記第一溝部から前記第一排出孔までの間に広がるとともに前記第一面側から前記第二面側に向かって凹み、前記第一面側から見て前記第一溝部から前記第一排出孔に向かうに従って前記幅方向の寸法が次第に縮小する台形状の第一収束流路と、前記拡散流路内に設けられて、前記第二面側から前記第一面側に向かって突出するとともに、前記第一供給孔から放射状に延びることで流体を前記第一供給孔から前記第一溝部にかけて案内する第一拡散案内部と、前記第一収束流路内に設けられて、前記第二面側から前記第一面側に向かって突出するとともに、前記第一排出孔から放射状に延びることで流体を前記第一溝部から前記第一排出孔にかけて案内する第一収束案内部と、を有し、前記絶縁パッキンは、前記主流路、前記第一拡散流路、及び前記第一収束流路の外側に配置され、前記第一面側から見て環状をなすパッキン本体と、該パッキン本体の内側に形成され、前記第一拡散案内部、及び前記第一収束案内部をそれぞれまたぐようにして延びるとともに、前記第一供給孔、及び前記第一排出孔をそれぞれ外周側から囲む円弧状の円弧パッキンと、前記パッキン本体の内側に形成され、前記第一拡散流路、及び前記第一収束流路の斜辺までそれぞれ広がる三角パッキンと、を有し、前記セパレータと前記アニオン交換膜との間に挟持されて弾性変形する前の状態の前記円弧パッキンでは、前記第一拡散案内部と前記アニオン交換膜との間の隙間よりも厚さが大きく設定され、前記三角パッキンでは、前記パッキン本体よりも厚さが大きく設定されている。
【0008】
本開示に係る電解装置は、上記の電解セルと、前記電解セルに電解液を供給する電解液供給部と、前記電解セルに電圧を印加する電源部と、を備える。
【発明の効果】
【0009】
本開示によれば、電解液の漏洩がさらに抑制された電解セル、及び電解装置を提供することができる。
【図面の簡単な説明】
【0010】
本開示の実施形態に係る電解装置の構成を示す模式図である。
本開示の実施形態に係る電解セルの構成を示す模式断面図である。
本開示の実施形態に係る電解セルの構成を示す分解斜視図である。
本開示の実施形態に係るセパレータと絶縁パッキンの構成を示す平面図である。
本開示の実施形態に係る電解セルスタックの構成を示す模式断面図である。
図4のVI-VI線における断面図である。
図4のVII-VII線における断面図である。
本開示の実施形態に係る絶縁パッキンの材質と荷重試験の結果の一例との関係を示すグラフである。
本開示の実施形態に係るセパレータの変形例を示す断面図である。
本開示の実施形態に係るセパレータのさらなる変形例を示す平面図である。
【発明を実施するための形態】
(【0011】以降は省略されています)
この特許をJ-PlatPat(特許庁公式サイト)で参照する
関連特許
三菱重工業株式会社
ボイラ壁
10日前
三菱重工業株式会社
加熱装置
17日前
三菱重工業株式会社
動力装置
13日前
三菱重工業株式会社
燃焼筒の取付方法
10日前
三菱重工業株式会社
蒸気タービンシステム
6日前
三菱重工業株式会社
ガスタービン起動方法
6日前
三菱重工業株式会社
ガスタービン制御方法
17日前
三菱重工業株式会社
燃焼設備および制御方法
12日前
三菱重工業株式会社
ガス処理装置および方法
4日前
三菱重工業株式会社
計測システムおよび計測方法
4日前
三菱重工業株式会社
バーナ及びこれを備えたボイラ
24日前
三菱重工業株式会社
バーナ及びこれを備えたボイラ
24日前
三菱重工業株式会社
レドックスフロー電池システム
10日前
三菱重工業株式会社
水素吸蔵材料および原子力設備
5日前
三菱重工業株式会社
インバータ装置及びその保護方法
4日前
三菱重工業株式会社
インバータ基板及びインバータ装置
4日前
三菱重工業株式会社
演算方法、プログラム及び演算装置
12日前
三菱重工業株式会社
電動ファンおよび電動垂直離着陸機
7日前
三菱重工業株式会社
燃料噴射装置および往復動内燃機関
18日前
三菱重工業株式会社
RPB装置及び酸性ガス回収システム
4日前
三菱重工業株式会社
炉壁及びガス化炉並びに炉壁の製造方法
13日前
三菱重工業株式会社
電解セルカートリッジおよびその製造方法
19日前
三菱重工業株式会社
ガスタービン発電プラント、及びその運転方法
10日前
三菱重工業株式会社
水電解システム、及び水電解システムの運転方法
4日前
三菱重工業株式会社
制御装置、制御方法、監視システム及びプログラム
5日前
三菱重工業株式会社
接着剤の膜厚測定方法、および接合部材の製造方法
19日前
三菱重工業株式会社
触媒及びその製造方法、並びに炭化水素の製造方法
5日前
三菱重工業株式会社
制御装置、CO2回収装置、制御方法及びプログラム
17日前
三菱重工業株式会社
経路設定方法、移動体、管理システム及びプログラム
19日前
三菱重工業株式会社
劣化判定装置、劣化判定システム、および、劣化判定方法
17日前
三菱重工業株式会社
制御装置、ガスタービンの燃料供給系統、制御方法及びプログラム
20日前
三菱重工業株式会社
制御装置、ガスタービンの燃料供給設備、制御方法及びプログラム
7日前
三菱重工業株式会社
粉砕テーブル及び固体燃料粉砕装置並びに粉砕テーブルの補修方法
24日前
三菱重工業株式会社
多ビーム位相差計測装置及びこれを備えたレーザビーム制御システム
4日前
三菱重工業株式会社
流路形成板、分割環、静翼、ガスタービン、及び流路形成板の製造方法
11日前
三菱重工業株式会社
フォールトツリー作成方法、フォールトツリー作成装置およびプログラム
10日前
続きを見る
他の特許を見る