TOP
|
特許
|
意匠
|
商標
特許ウォッチ
Twitter
他の特許を見る
公開番号
2025162361
公報種別
公開特許公報(A)
公開日
2025-10-27
出願番号
2024065619
出願日
2024-04-15
発明の名称
制御装置、ガスタービンの燃料供給設備、制御方法及びプログラム
出願人
三菱重工業株式会社
代理人
個人
,
個人
,
個人
,
個人
,
個人
主分類
F02C
7/232 20060101AFI20251020BHJP(燃焼機関;熱ガスまたは燃焼生成物を利用する機関設備)
要約
【課題】ガスタービンの燃焼器のノズル等に残留した燃料を回収する技術を提供する。
【解決手段】制御装置は、ガスタービンの運転停止後に、前記ガスタービンの回転数が定格回転数よりも低い所定の低速回転数となることを起点として、燃焼器の空気を前記燃焼器に設けられたノズルを通じて、当該ノズルに係る燃料供給系統に逆流させるとともに、当該燃料供給系統に接続された、燃料を回収するための燃料回収系統へ前記空気を導く逆ブロー制御を行う手段、を備える。
【選択図】図1
特許請求の範囲
【請求項1】
ガスタービンの運転停止後に、前記ガスタービンの回転数が定格回転数よりも低い所定の低速回転数となることを起点として、燃焼器の空気を前記燃焼器に設けられたノズルを通じて、当該ノズルに係る燃料供給系統に逆流させるとともに、当該燃料供給系統に接続された、燃料を回収するための燃料回収系統へ前記空気を導く逆ブロー制御を行う手段、
を備える制御装置。
続きを表示(約 1,100 文字)
【請求項2】
前記逆ブロー制御を行う手段は、前記回転数が前記低速回転数まで低下してから所定の時間が経過すると、前記逆ブロー制御を実行する、
請求項1に記載の制御装置。
【請求項3】
前記逆ブロー制御を行う手段は、前記回転数が前記低速回転数まで低下すると同時に前記逆ブロー制御を実行する、
請求項1に記載の制御装置。
【請求項4】
前記逆ブロー制御を行う手段は、前記逆ブロー制御において、前記燃料回収系統に設けられたドレンバルブを閉から開とすることにより前記空気を導く、
請求項1から請求項3の何れか1項に記載の制御装置。
【請求項5】
前記燃焼器へ燃料を供給する複数の燃料供給系統のうち、前記ガスタービンの運転を停止する場合にその運転停止前に燃料の供給を停止する第1の燃料供給系統について、前記逆ブロー制御の前に圧力を低下させる制御を行う脱圧手段、
をさらに備える請求項1から請求項3の何れか1項に記載の制御装置。
【請求項6】
前記ガスタービンの運転停止前に、前記第1の燃料供給系統に高圧空気を供給するパージ手段、
をさらに備える請求項5に記載の制御装置。
【請求項7】
前記脱圧手段は、前記第1の燃料供給系統に接続された配管に設けられたベントバルブを閉から開とすることにより、前記圧力を低下させる、
請求項5に記載の制御装置。
【請求項8】
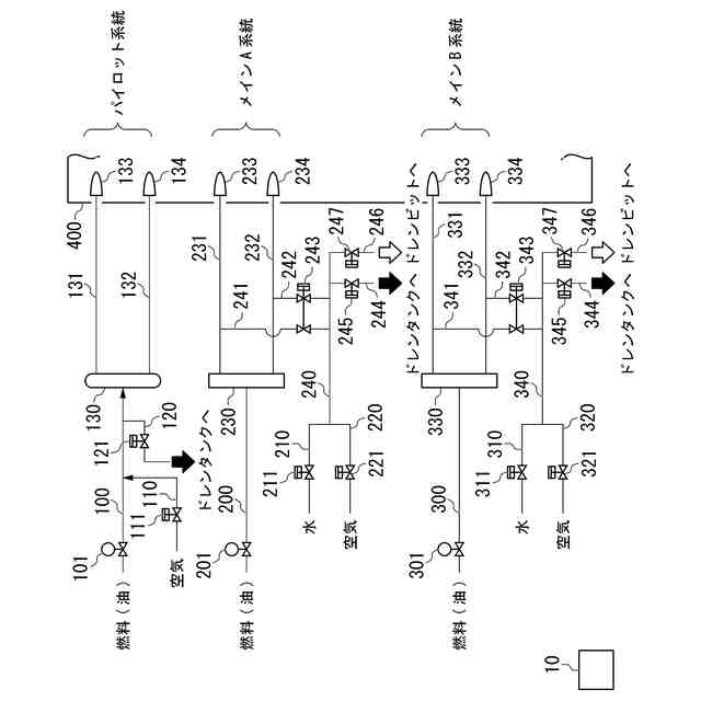
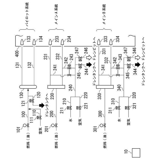
ガスタービンの燃焼器と、
前記燃焼器へ燃料を供給する燃料供給系統と、
当該燃料供給系統に接続された前記燃料を回収するための燃料回収系統と、
前記燃料回収系統に設けられたドレンバルブと、
請求項1または請求項2に記載の制御装置と、
を備えるガスタービンの燃料供給設備。
【請求項9】
ガスタービンの運転停止後に、前記ガスタービンの回転数が定格回転数よりも低い所定の低速回転数となることを起点として、燃焼器の空気を前記燃焼器に設けられたノズルを通じて、当該ノズルに係る燃料供給系統に逆流させるとともに、当該燃料供給系統に接続された、燃料を回収するための燃料回収系統へ前記空気を導くよう制御する、
制御方法。
【請求項10】
コンピュータを、
ガスタービンの運転停止後に、前記ガスタービンの回転数が定格回転数よりも低い所定の低速回転数となることを起点として、燃焼器の空気を前記燃焼器に設けられたノズルを通じて、当該ノズルに係る燃料供給系統に逆流させるとともに、当該燃料供給系統に接続された、燃料を回収するための燃料回収系統へ前記空気を導く逆ブロー制御を行う手段、
として機能させるためのプログラム。
発明の詳細な説明
【技術分野】
【0001】
本開示は、制御装置、ガスタービンの燃料供給設備、制御方法及びプログラムに関する。
続きを表示(約 1,300 文字)
【背景技術】
【0002】
特許文献1には、油燃料とガス燃料を切換えて使用でき、かつ燃料供給系統がメインA、メインB、パイロットの3系統を有するガスタービンの燃焼器のノズルにおいて、燃料を油からガスに切替えた直後に、メインA、メインB、パイロットの各系統に水や空気を流すことにより、各系統に残留する油をパージする方法が開示されている。このパージ方法によれば、油燃料が残留したままガス燃料を燃焼させることにより、高温状態に置かれたノズル内の油燃料がコーキングして固化し、ノズルを閉塞してしまうことを防ぐことができる。しかし、ノズル内の未使用の燃料を排出してしまうことになり、無駄が生じる。
【先行技術文献】
【特許文献】
【0003】
特開2001-59427号公報
【発明の概要】
【発明が解決しようとする課題】
【0004】
ガスタービンの燃焼器のノズル等に残留した燃料を回収する技術を提供する。
【0005】
本開示は、上記課題を解決することができる制御装置、ガスタービンの燃料供給設備、制御方法及びプログラムを提供する。
【課題を解決するための手段】
【0006】
本開示に係る制御装置は、ガスタービンの運転停止後に、前記ガスタービンの回転数が定格回転数よりも低い所定の低速回転数となることを起点として、燃焼器の空気を前記燃焼器に設けられたノズルを通じて、当該ノズルに係る燃料供給系統を逆流させるとともに、当該燃料供給系統に接続された、燃料を回収するための燃料回収系統へ前記空気を導く逆ブロー制御を行う手段、を備える。
【0007】
本開示に係るガスタービンの燃料供給設備は、ガスタービンの燃焼器と、前記燃焼器へ燃料を供給する燃料供給系統と、当該燃料供給系統に接続された前記燃料を回収するための燃料回収系統と、前記燃料回収系統に設けられたドレンバルブと、上記の制御装置と、を備える。
【0008】
本開示に係る制御方法は、ガスタービンの運転停止後に、前記ガスタービンの回転数が定格回転数よりも低い所定の低速回転数となることを起点として、燃焼器の空気を前記燃焼器に設けられたノズルを通じて、当該ノズルに係る燃料供給系統を逆流させるとともに、当該燃料供給系統に接続された、燃料を回収するための燃料回収系統へ前記空気を導くよう制御する。
【0009】
本開示に係るプログラムは、コンピュータを、ガスタービンの運転停止後に、前記ガスタービンの回転数が定格回転数よりも低い所定の低速回転数となることを起点として、燃焼器の空気を前記燃焼器に設けられたノズルを通じて、当該ノズルに係る燃料供給系統を逆流させるとともに、当該燃料供給系統に接続された、燃料を回収するための燃料回収系統へ前記空気を導く逆ブロー制御を行う手段、として機能させる。
【発明の効果】
【0010】
本開示の制御装置、ガスタービンの燃料供給設備、制御方法及びプログラムによれば、ガスタービンの燃焼器のノズル等に残留した燃料を回収することができる。
【図面の簡単な説明】
(【0011】以降は省略されています)
この特許をJ-PlatPat(特許庁公式サイト)で参照する
関連特許
三菱重工業株式会社
加熱装置
10日前
三菱重工業株式会社
ボイラ壁
3日前
三菱重工業株式会社
動力装置
6日前
三菱重工業株式会社
皮膜形成装置
17日前
三菱重工業株式会社
ポンプシステム
17日前
三菱重工業株式会社
超音波探傷方法
17日前
三菱重工業株式会社
燃焼筒の取付方法
3日前
三菱重工業株式会社
メタン酸化触媒装置
17日前
三菱重工業株式会社
ガスタービン制御方法
10日前
三菱重工業株式会社
炭化炉及びその制御方法
17日前
三菱重工業株式会社
燃焼設備および制御方法
5日前
三菱重工業株式会社
バーナ及びこれを備えたボイラ
17日前
三菱重工業株式会社
バーナ及びこれを備えたボイラ
17日前
三菱重工業株式会社
レドックスフロー電池システム
3日前
三菱重工業株式会社
電動ファンおよび電動垂直離着陸機
今日
三菱重工業株式会社
水素製造システム及び水素製造方法
17日前
三菱重工業株式会社
演算方法、プログラム及び演算装置
5日前
三菱重工業株式会社
燃料噴射装置および往復動内燃機関
11日前
三菱重工業株式会社
渦電流探傷装置、及び渦電流探傷方法
17日前
三菱重工業株式会社
洗浄装置、分離システム及び洗浄方法
17日前
三菱重工業株式会社
炉壁及びガス化炉並びに炉壁の製造方法
6日前
三菱重工業株式会社
蓄圧システム及び蓄圧システムの運転方法
18日前
三菱重工業株式会社
電解セルカートリッジおよびその製造方法
12日前
三菱重工業株式会社
電解モジュールの冷却方法及び電解システム
17日前
三菱重工業株式会社
ガスタービン発電プラント、及びその運転方法
3日前
三菱重工業株式会社
接着剤の膜厚測定方法、および接合部材の製造方法
12日前
三菱重工業株式会社
制御装置、CO2回収装置、制御方法及びプログラム
10日前
三菱重工業株式会社
経路設定方法、移動体、管理システム及びプログラム
12日前
三菱重工業株式会社
劣化判定装置、劣化判定システム、および、劣化判定方法
10日前
三菱重工業株式会社
タービン架台及びタービン装置並びにタービン架台の製造方法
17日前
三菱重工業株式会社
制御装置、ガスタービンの燃料供給設備、制御方法及びプログラム
今日
三菱重工業株式会社
制御装置、ガスタービンの燃料供給系統、制御方法及びプログラム
13日前
三菱重工業株式会社
粉砕テーブル及び固体燃料粉砕装置並びに粉砕テーブルの補修方法
17日前
三菱重工業株式会社
固体燃料粉砕装置及びボイラ設備並びに固体燃料粉砕装置の運転方法
18日前
三菱重工業株式会社
濃度算出装置、燃焼制御装置、濃度算出方法及び濃度算出プログラム
18日前
三菱重工業株式会社
流路形成板、分割環、静翼、ガスタービン、及び流路形成板の製造方法
4日前
続きを見る
他の特許を見る