TOP
|
特許
|
意匠
|
商標
特許ウォッチ
Twitter
他の特許を見る
公開番号
2025168118
公報種別
公開特許公報(A)
公開日
2025-11-07
出願番号
2024073262
出願日
2024-04-27
発明の名称
シリンダブロック補強プレート及びシリンダブロックの補強方法
出願人
株式会社コルトスピード
代理人
個人
主分類
F02F
1/10 20060101AFI20251030BHJP(燃焼機関;熱ガスまたは燃焼生成物を利用する機関設備)
要約
【課題】自動車整備の市場や自動車のエンジンを高性能化する所謂エンジンチューニングの市場において、オープンデッキ型シリンダブロックを効率よく補強するための補強プレート及びシリンダブロック補強方法を提供する。
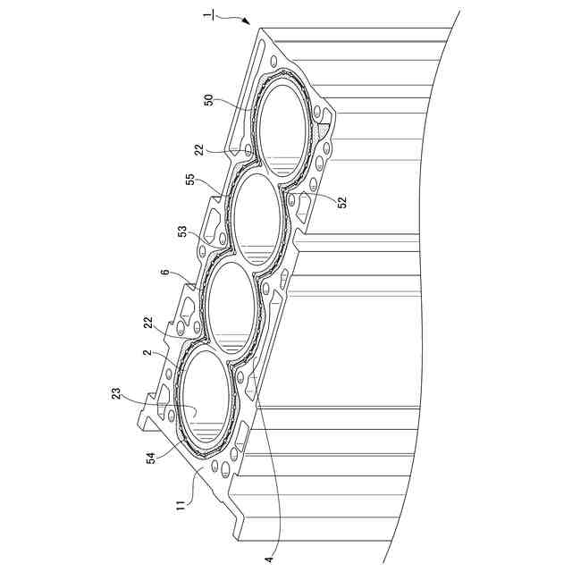
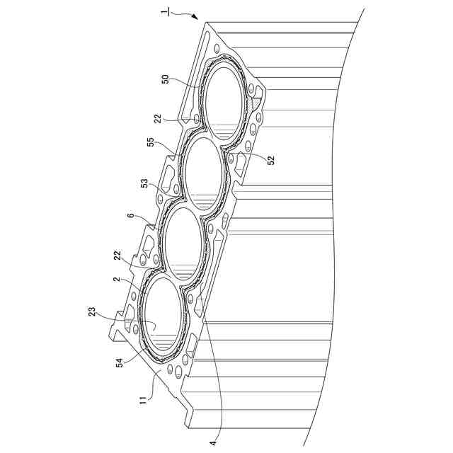
【解決手段】オープンデッキ型のシリンダブロック1のシリンダ壁2を補強するためのシリンダブロック補強プレート50であって、シリンダブロック補強プレート50は、開口部31を略覆い尽くす所要形状のリング部51を互いに連結して一体形成した板材から成り、シリンダブロック補強プレート50には周方向の所要個所にシリンダブロック補強プレート50の上面から下面にかけて貫通し冷却水路と空気抜き孔として機能する複数の貫通孔52,53,54,55と、シリンダブロック補強プレート50の上面に刻設され、全ての貫通孔52,53,54,55の上部開口部を接続する条溝6とを有する。
【選択図】図1
特許請求の範囲
【請求項1】
ピストンを摺動可能に嵌入するシリンダ壁と、前記シリンダ壁から離隔したブロック壁と、前記シリンダ壁と前記ブロック壁との間に冷却水路が形成され、前記冷却水路の上面側であるデッキ部に開口部が形成されたオープンデッキ型のシリンダブロックの前記シリンダ壁を補強するためのシリンダブロック補強プレートであって、前記シリンダブロック補強プレートは、前記開口部を略覆い尽くす所要形状のリング部を互いに連結して一体形成した板材から成り、前記シリンダブロック補強プレートには周方向の所要個所に前記シリンダブロック補強プレートの上面から下面に貫通し冷却水路と空気抜き孔として機能する複数の貫通孔と、前記シリンダブロック補強プレートの上面に刻設され、全ての前記貫通孔の上部開口部を連接する条溝とを有することを特徴とするシリンダブロック補強プレート。
続きを表示(約 740 文字)
【請求項2】
前記シリンダブロック補強プレートに貫設された前記貫通孔の一部が、前記シリンダブロックのデッキ部に積層し組付けられるヘッドガスケットの貫通孔と略垂直に連通し、さらに前記ヘッドガスケットの上方に載置され組付けられるシリンダヘッドの冷却水路と略垂直に連通する位置に貫設されていることを特徴とする請求項1に記載のシリンダブロック補強プレート。
【請求項3】
前記シリンダブロック補強プレートに貫設された複数の前記貫通孔のうち、リング部を互いに連結した連結部頂点近傍に貫設された貫通孔の内径が、それ以外の位置に貫設された他の貫通孔の内径よりも大きい内径で形成されていることを特徴とする請求項1または請求項2に記載のシリンダブロック補強プレート。
【請求項4】
自動車整備の市場や自動車のエンジンを高性能化する所謂エンジンチューニングの市場において、オープンデッキ型のシリンダブロックを効率的に補強する補強方法であって、シリンダブロックのデッキ部に開口された冷却水路の開口部を所要形状に広げるシリンダブロック追加工工程と、前記シリンダブロック追加工工程で広げられた開口部に請求項1から請求項3のいずれか1項に記載のシリンダブロック補強プレートを上面側から圧入する補強プレート圧入工程と、シリンダブロック補強プレートを圧入した後のシリンダブロックのデッキ部を平滑な状態に加工するシリンダブロック上面加工工程と、デッキ部を平滑な状態に加工した後のシリンダ内壁を真円加工するシリンダボアボーリング工程と、真円加工後のシリンダ内壁の表面仕上げをするシリンダボアホーニング工程とを備えて構成したことを特徴とするオープンデッキ型シリンダブロックの補強方法。
発明の詳細な説明
【技術分野】
【0001】
本発明は、オープンデッキ型のシリンダブロックの補強部材である補強プレート及びシリンダブロックの補強方法に関し、詳しくは、自動車整備の市場や自動車の内燃機関(以下エンジンと称す)を高性能化する所謂エンジンチューニングの市場において、オープンデッキ型のシリンダブロックを効率的に補強する補強部材と、シリンダブロックの補強方法に関するものである。
続きを表示(約 1,800 文字)
【背景技術】
【0002】
従来より水冷式エンジンに使用されるシリンダブロックとして、アルミダイカストで製造され、シリンダブロックのブロック壁とシリンダ壁との間に設けられる冷却水の水路が、シリンダブロックの上面であるデッキ部において開放されている、所謂オープンデッキ型のシリンダブロックが多く採用されている。
【0003】
アルミダイカスト鋳造で製造されたオープンデッキ型シリンダブロックは、生産性に優れ、製品の軽量化が図れることやコスト削減も実現できるメリットがある一方、ブロック壁とシリンダ壁との間が開放された空間となる構造であるため、シリンダ壁の強度やブロック壁の振動に関する問題があった。
【0004】
その問題に対応するために特許文献1には、シリンダブロックのブロック壁とシリンダ壁との間であって、ブロック壁の所定振動波の腹に相当する位置に、補強部材となる複数のリブを設けた構造が記載されている。
【先行技術文献】
【特許文献】
【0005】
特開2001-317405号公報
【発明の概要】
【発明が解決しようとする課題】
【0006】
しかし、特許文献1に開示されたシリンダブロックでは、ブロック壁とシリンダ壁がリブで連結されているだけなので、シリンダ壁がデッキ部近傍での強度が不足し、エンジンの燃焼圧力によってシリンダ壁が膨張し変形しやすく、燃焼室の密封性が確保されない問題があった。特に、実走行を重ねた場合の劣化に対する強度不足や、自動車メーカーが新車組付けした状態のエンジンをさらに高性能化するエンジンチューニングを実施したことにより、燃焼圧力がより上昇した場合の変形を防止して密封性を確保するためには、シリンダ壁の特にデッキ部近傍における強度を補強する必要があった。
【0007】
本発明は、上記課題を鑑みてなされたものであり、その具体的目的は、自動車整備の市場や、自動車のエンジンを高性能化する所謂エンジンチューニングの市場において、オープンデッキ型シリンダブロックを効率よく補強するための補強プレート及びシリンダブロックの補強方法を提供することを目的とする。
【課題を解決するための手段】
【0008】
本発明は、上記目的を達成するために案出されたものである。詳述するならば、本発明のシリンダブロック補強プレートは、ピストンを摺動可能に嵌入するシリンダ壁と、前記シリンダ壁から離隔したブロック壁と、前記シリンダ壁と前記ブロック壁との間に冷却水路が形成され、前記冷却水路の上面部に開口部が形成されたオープンデッキ型シリンダブロックにおいて、前記シリンダ壁を前記オープンデッキ型シリンダブロックの上面部分であるデッキ部近傍で補強するためのシリンダブロック補強プレートであって、前記シリンダブロック補強プレートは、前記開口部を略覆い尽くす所要形状のリング部を互いに連結して一体形成した板材から成り、前記シリンダブロック補強プレートには周方向の所要個所に前記シリンダブロック補強プレートの上面から下面にかけて貫通し、冷却水路として機能すると共に冷却水に混入する気体を排出する空気抜きとして機能する複数の貫通孔と、前記シリンダブロック補強プレートの上面に刻設され、全ての前記貫通孔の上部開口部を接続する凹形状の条溝とを有する構成が含まれる。
【0009】
本発明のシリンダブロック補強プレートは、デッキ部面一に圧入装着することで、シリンダ壁とブロック壁とをデッキ部近傍で連結して、シリンダ壁の強度を補強すると共に、複数の貫通孔と夫々の貫通孔の上部開口部を連接する凹形状の条溝で、冷却水を循環させる冷却水路として機能する冷却効果と、冷却水内に発生する気体を効率よく排出できる効果がある。
【0010】
本発明には、前記シリンダブロック補強プレートに貫設された複数の貫通孔のうち一部が、前記シリンダブロックのデッキ部の上面に積層し組付けられるヘッドガスケットの貫通孔と略垂直に連通し、さらに前記ヘッドガスケットの上方に載置され組付けられるシリンダヘッドの冷却水路と、略垂直に連通する位置に貫設されている構成が含まれる。
(【0011】以降は省略されています)
この特許をJ-PlatPat(特許庁公式サイト)で参照する
関連特許
個人
擬似オイル発電装置
5日前
個人
バンケル型内燃機関の改良
1か月前
ダイハツ工業株式会社
発電装置
今日
スズキ株式会社
車両の制御装置
1か月前
スズキ株式会社
車両の制御装置
26日前
本田技研工業株式会社
車両
1か月前
本田技研工業株式会社
車両
1か月前
株式会社クボタ
作業車
26日前
トヨタ自動車株式会社
電磁弁
1か月前
株式会社クボタ
作業車両
1か月前
本田技研工業株式会社
内燃機関
1か月前
株式会社クボタ
作業車両
26日前
本田技研工業株式会社
内燃機関
1か月前
トヨタ自動車株式会社
車両制御装置
26日前
本田技研工業株式会社
始動制御装置
1か月前
本田技研工業株式会社
始動制御装置
1か月前
トヨタ自動車株式会社
電磁弁の制御装置
1か月前
トヨタ自動車株式会社
エンジン制御装置
21日前
トヨタ自動車株式会社
V型8気筒エンジン
1か月前
本田技研工業株式会社
可変ファンネル装置
1か月前
大阪瓦斯株式会社
エンジンシステム
1か月前
川崎重工業株式会社
ガスタービンエンジン
22日前
トヨタ自動車株式会社
内燃機関の制御装置
12日前
本田技研工業株式会社
内燃機関の吸気構造
1か月前
トヨタ自動車株式会社
フレックス燃料車両
12日前
マツダ株式会社
エンジン
1か月前
トヨタ自動車株式会社
水素エンジンの制御装置
20日前
富士電機株式会社
駆動回路
20日前
三菱重工業株式会社
燃焼筒の取付方法
26日前
株式会社SUBARU
車両
1か月前
本田技研工業株式会社
内燃機関の制御装置
1か月前
三菱重工業株式会社
動力装置
29日前
スズキ株式会社
多気筒エンジンの制御装置
14日前
本田技研工業株式会社
内燃機関の制御装置
1か月前
マツダ株式会社
エンジンの制御装置
1か月前
三菱重工業株式会社
ガスタービン制御方法
1か月前
続きを見る
他の特許を見る