TOP
|
特許
|
意匠
|
商標
特許ウォッチ
Twitter
他の特許を見る
公開番号
2025152051
公報種別
公開特許公報(A)
公開日
2025-10-09
出願番号
2024053761
出願日
2024-03-28
発明の名称
内燃機関の制御装置
出願人
本田技研工業株式会社
代理人
個人
,
個人
,
個人
主分類
F02D
19/08 20060101AFI20251002BHJP(燃焼機関;熱ガスまたは燃焼生成物を利用する機関設備)
要約
【課題】アルコールを含有する燃料を気筒内に直接噴射する火花点火内燃機関を低温環境下で始動させる場合であっても、良好な始動性が得られる内燃機関の制御装置を提供する。
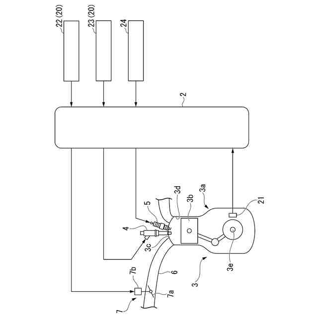
【解決手段】アルコールを含有する燃料を気筒内に直接噴射する火花点火内燃機関の制御装置であって、燃料噴射装置4から前記気筒3a内に前記燃料を噴射する噴射タイミングと、前記気筒内の前記燃料に火花点火する点火タイミングとを制御する制御手段2と、環境温度を検出する環境温度検出手段20と、を有し、前記制御手段は、前記環境温度が所定値以下である場合、前記燃料を前記気筒内に噴射している燃料噴射期間内に前記燃料に火花点火する、内燃機関の制御装置とする。
【選択図】図1
特許請求の範囲
【請求項1】
アルコールを含有する燃料を気筒内に直接噴射する火花点火内燃機関の制御装置であって、
燃料噴射装置から前記気筒内に前記燃料を噴射する噴射タイミングと、前記気筒内の前記燃料に火花点火する点火タイミングとを制御する制御手段と、
環境温度を検出する環境温度検出手段と、を有し、
前記制御手段は、前記環境温度が所定値以下である場合、前記燃料を前記気筒内に噴射している燃料噴射期間内に前記燃料に火花点火する、内燃機関の制御装置。
続きを表示(約 1,000 文字)
【請求項2】
前記環境温度検出手段が、前記気筒に吸入される外気の温度を検出する外気温検出手段と、
エンジン水の温度を検出するエンジン水温検出手段と、を有し、
前記環境温度が、前記外気の温度および/または前記エンジン水の温度である、請求項1に記載の内燃機関の制御装置。
【請求項3】
前記制御手段は、前記環境温度が、5℃~-40℃の範囲内である場合、前記燃料噴射期間内に前記燃料に火花点火する、請求項1に記載の内燃機関の制御装置。
【請求項4】
前記燃料中に含まれるアルコール含有量を検出するアルコール濃度検出手段を有し、
前記制御手段は、前記燃料中のアルコール濃度が所定値以上である場合、前記燃料噴射期間内に前記燃料に火花点火する、請求項1に記載の内燃機関の制御装置。
【請求項5】
前記制御手段は、前記燃料中のアルコール濃度が、90体積%以上である場合、前記燃料噴射期間内に前記燃料に火花点火する、請求項4に記載の内燃機関の制御装置。
【請求項6】
クランクシャフトの回転を検出し、クランク角度信号および上死点信号を出力するクランク角度検出手段を有し、
前記制御手段は、圧縮行程において前記燃料噴射装置から前記気筒内に前記燃料を噴射する、請求項1に記載の内燃機関の制御装置。
【請求項7】
前記制御手段は、前記燃料噴射期間のうち遅角の1/3の期間内に前記燃料に火花点火する、請求項1に記載の内燃機関の制御装置。
【請求項8】
前記気筒内の圧力を検出する気筒内圧力検出手段を有し、
前記制御手段は、前記気筒内の圧力の変化に基づいて、前記燃料が点火したか否かを判断し、前記燃料の点火したサイクルの連続数が所定値以下である場合に、前記燃料噴射期間内に前記燃料に火花点火する、請求項1に記載の内燃機関の制御装置。
【請求項9】
クランクシャフトの回転を検出し、クランク角度信号を出力するクランク角度検出手段を有し、
前記制御手段は、クランク角度の変化に基づいて、前記燃料が点火したか否かを判断し、前記燃料の点火したサイクルの連続数が所定値以下である場合に、前記燃料噴射期間内に前記燃料に火花点火する、請求項1に記載の内燃機関の制御装置。
発明の詳細な説明
【技術分野】
【0001】
本発明は、内燃機関の制御装置に関する。
続きを表示(約 1,600 文字)
【背景技術】
【0002】
従来、気候変動の緩和または影響軽減を目的とした取り組みが継続され、この実現に向けて二酸化炭素の排出量低減に関する研究開発が行われている。
近年、火花点火内燃機関(SI機関)において、ガソリンの代替燃料として、アルコールを含む燃料を使用することが試みられている。
【0003】
例えば、特許文献1には、アルコールとガソリンの混合燃料を使用し、始動時に燃料を増量制御する内燃機関の燃料制御装置が提案されている。特許文献1には、混合燃料中のアルコール濃度を検出するアルコール濃度検出手段と、混合燃料中のガソリンの低沸点成分の割合を検出する低沸点成分含有率検出手段と、アルコール濃度が所定値以上の時、前記ガソリンの低沸点成分の割合が低いほど、燃料噴射量を更に増量補正する増量補正手段と、を設けた燃料制御装置が記載されている。
【0004】
また、特許文献2には、アルコールを含有する燃料を用いるとともに、当該燃料を気筒内に直接、噴射する内燃機関の制御装置が提案されている。特許文献2には、内燃機関の温度を表す機関温度パラメータを取得する機関温度パラメータ取得手段と、燃料のアルコール濃度を取得するアルコール濃度取得手段と、内燃機関の負荷を取得する負荷取得手段と、内燃機関の低温始動後に、前記取得された機関温度パラメータ、アルコール濃度及び内燃機関の負荷に応じ、燃料の噴射モードとして、吸気行程において燃料を噴射する吸気行程噴射、及び圧縮行程において燃料を噴射する圧縮行程噴射の一方を選択し、実行する制御手段と、を備える制御装置が記載されている。
【先行技術文献】
【特許文献】
【0005】
特開平5-340286号公報
特開2020-180550号公報
【発明の概要】
【発明が解決しようとする課題】
【0006】
メタノール、エタノールなどのアルコールは、沸点未満の温度で気化しにくく、ガソリンと比較して気化潜熱が大きい。このため、燃料を気筒内に直接噴射する火花点火内燃機関において、アルコールを含有する燃料を用いる場合、燃料としてガソリンを用いる場合と比較して、低温環境下での始動不良が生じやすい。このことから、アルコールを含有する燃料を気筒内に直接噴射する火花点火内燃機関では、低温環境下での始動性を向上させることが要求されていた。
【0007】
本願は、上記課題に鑑みてなされたものであり、アルコールを含有する燃料を気筒内に直接噴射する火花点火内燃機関を低温環境下で始動させる場合であっても、良好な始動性が得られる内燃機関の制御装置を提供すること目的とする。
【課題を解決するための手段】
【0008】
上記課題を解決するため、以下の手段を提供する。
【0009】
本発明の第一の態様の内燃機関の制御装置は、アルコールを含有する燃料を気筒(3a)内に直接噴射する火花点火内燃機関(3)の制御装置であって、燃料噴射装置(4)から前記気筒(3a)内に前記燃料を噴射する噴射タイミングと、前記気筒(3a)内の前記燃料に火花点火する点火タイミングとを制御する制御手段(2)と、環境温度を検出する環境温度検出手段(20)と、を有し、前記制御手段(2)は、前記環境温度が所定値以下である場合、前記燃料を前記気筒(3a)内に噴射している燃料噴射期間内に前記燃料に火花点火する、ものである。
【0010】
第一の態様の内燃機関の制御装置では、制御手段が、環境温度が所定値以下である場合に、アルコールを含有する燃料を気筒内に噴射している燃料噴射期間内に、燃料に火花点火する。このため、アルコールを含有する燃料を気筒内に直接噴射する火花点火内燃機関を、所定の環境温度以下の低温環境下で始動させる場合であっても、良好な始動性が得られる。
(【0011】以降は省略されています)
この特許をJ-PlatPat(特許庁公式サイト)で参照する
関連特許
本田技研工業株式会社
飛行体
3日前
本田技研工業株式会社
回転電機
5日前
本田技研工業株式会社
灯火器構造
3日前
本田技研工業株式会社
蓄電システム
12日前
本田技研工業株式会社
冷却液タンク
10日前
本田技研工業株式会社
差圧式電解装置
1か月前
本田技研工業株式会社
回転電機のロータ
1か月前
本田技研工業株式会社
スポット溶接方法
1か月前
本田技研工業株式会社
回転電機用ロータ
19日前
本田技研工業株式会社
加水分解処理装置
3日前
本田技研工業株式会社
金属シリコンの製造方法
19日前
本田技研工業株式会社
水素同位体分離システム
3日前
本田技研工業株式会社
非接触電力伝送システム
12日前
本田技研工業株式会社
積層体、積層体の製造方法
11日前
本田技研工業株式会社
電力変換装置、および車両
11日前
本田技研工業株式会社
制御装置、および、制御方法
1か月前
本田技研工業株式会社
情報処理方法及びプログラム
1か月前
本田技研工業株式会社
軟磁性鋼板およびその製造方法
3日前
本田技研工業株式会社
有機物処理装置および有機物処理方法
3日前
本田技研工業株式会社
有機物処理装置および有機物処理方法
3日前
本田技研工業株式会社
電解システムの制御装置および電解システム
4日前
本田技研工業株式会社
音声認識装置、音声認識方法、及びプログラム
5日前
本田技研工業株式会社
情報処理装置、情報処理方法、およびプログラム
1か月前
本田技研工業株式会社
三次元モデル生成装置及び三次元モデル評価システム
3日前
本田技研工業株式会社
作動装置
1か月前
株式会社ダイセル
アルミニウム合金製摺動部材用潤滑剤
3日前
本田技研工業株式会社
制御装置
1か月前
本田技研工業株式会社
移動体の制御装置、移動体の制御方法、およびプログラム
26日前
本田技研工業株式会社
車両、制御方法、プログラム、記憶媒体、及び情報処理装置
1か月前
本田技研工業株式会社
有機物処理装置、有機物処理方法、および燃料ガスの製造方法
3日前
本田技研工業株式会社
電池の充電状態の補正方法、電池均等化方法、端末機器及び車両
18日前
タイガースポリマー株式会社
二次電池用加圧袋およびその製造方法
3日前
本田技研工業株式会社
移動体支援装置および移動体システム
1か月前
本田技研工業株式会社
熱媒体組み合わせ最適化装置、熱媒体組み合わせ最適化方法、および、熱媒体組み合わせ最適化プログラム
19日前
個人
擬似オイル発電装置
24日前
個人
バンケル型内燃機関の改良
1か月前
続きを見る
他の特許を見る