TOP
|
特許
|
意匠
|
商標
特許ウォッチ
Twitter
他の特許を見る
10個以上の画像は省略されています。
公開番号
2025151091
公報種別
公開特許公報(A)
公開日
2025-10-09
出願番号
2024052331
出願日
2024-03-27
発明の名称
内燃機関の吸気構造
出願人
本田技研工業株式会社
代理人
個人
,
個人
主分類
F02D
9/10 20060101AFI20251002BHJP(燃焼機関;熱ガスまたは燃焼生成物を利用する機関設備)
要約
【課題】吸気路が主流路とタンブル流路とに仕切られた内燃機関の吸気構造において、より強力なタンブル流の発生を可能にし、燃焼効率を向上させて二酸化炭素排出量低減を可能にする内燃機関の吸気構造を提供する。
【解決手段】吸気流路80と、スロットル弁72,172,272と、吸気流路80を吸気流れ方向に分ける仕切部81と、仕切部81に分けられる主流路80Bとタンブル流路80Aとを備え、スロットル弁72,172,272の弁体74,174,274は、弁軸73を挟んで二分されるタンブル流路80A側の一端側半体74A,174A,274Aと、主流路80B側の他端側半体74B,174B,274Bとからなり、スロットル弁72,172,272の低開度時に、一端側半体74A,174A,174A側の第一開口部79Aが、他端側半体74B,174B,274B側の第二開口部79Bより大きく開口し、より強力なタンブル流を発生させる。
【選択図】図5
特許請求の範囲
【請求項1】
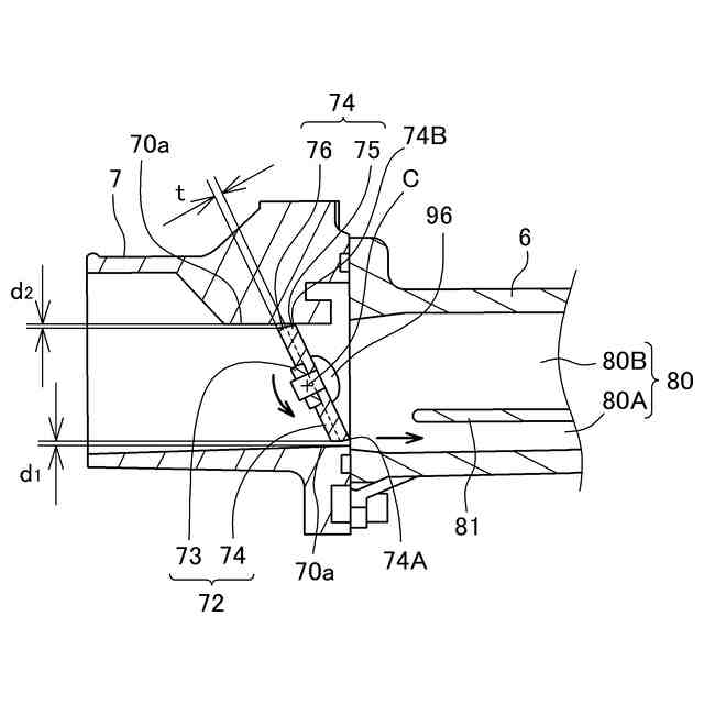
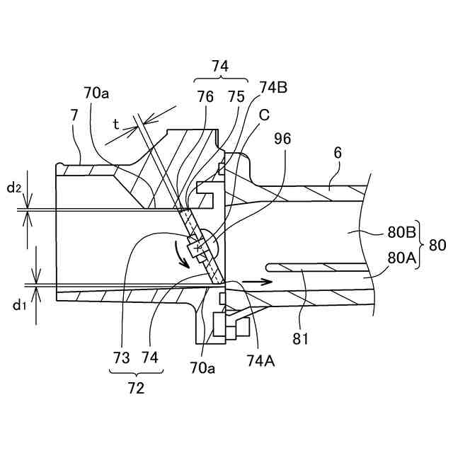
燃焼室(36)に吸気が流入する吸気流路(80)と、
前記吸気流路(80)の吸気の流量を制御するスロットル弁(72,172,272)と、
前記スロットル弁(72,172,272)の下流に配設され、前記吸気流路(80)を吸気流れ方向に分ける仕切部(81)と、
前記吸気流路(80)が前記仕切部(81)に分けられる主流路(80B)と、
前記吸気流路(80)が前記仕切部(81)に分けられるタンブル流路(80A)と、を備え、
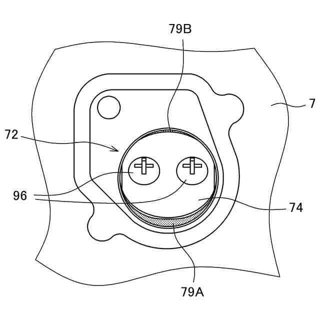
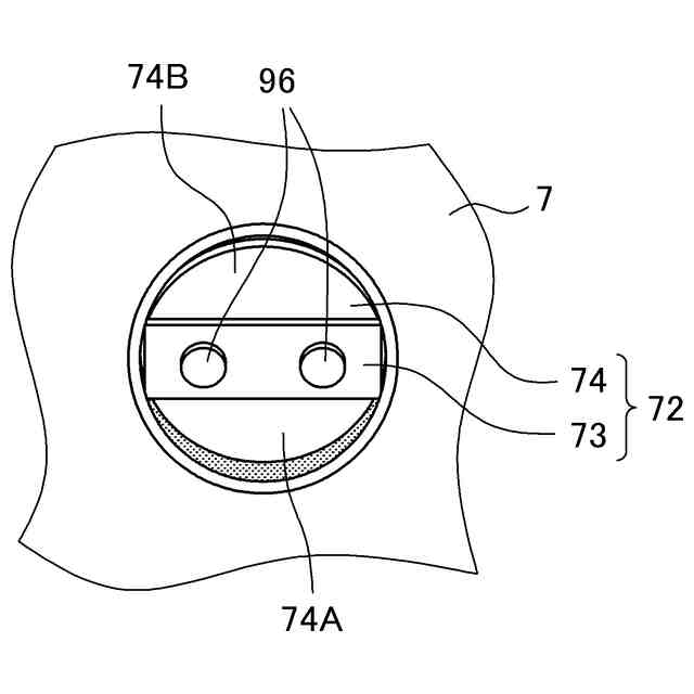
前記スロットル弁(72,172,272)は、スロットルボディ(7)に回動自在に支承される弁軸(73)と、前記弁軸(73)と一体に回動される弁体(74,174,274)を有し、
前記弁体(74,174,274)は、前記弁軸(73)を挟んで二分される前記タンブル流路(80A)側の一端側半体(74A,174A,274A)と、前記主流路(80B)側の他端側半体(74B,174B,274B)とからなり、
前記スロットル弁(72,172,272)の低開度時に、前記一端側半体(74A,174A,174A)側の第一開口部(79A)が、前記他端側半体(74B,174B,274B)側の第二開口部(79B)より大きく開口することを特徴とする内燃機関の吸気構造。
続きを表示(約 1,300 文字)
【請求項2】
前記弁体(74,174)は、前記弁軸(73)の軸中心(C)に対して、下流側にオフセットした弁体本体部(75,175)と、前記弁体本体部(75,175)に厚みを持たせたマージン部(76,176)を有し、
前記スロットル弁(72,172)の開口開始時に、前記弁体(74,174)の前記一端側半体(74A,174A)は前記タンブル流路(80A)側に近づくように回動することを特徴とする請求項1に記載の内燃機関の吸気構造。
【請求項3】
前記マージン部(76)は、前記弁体本体部(75)の吸気流れ方向における上流側に設けられることを特徴とする請求項2に記載の内燃機関の吸気構造。
【請求項4】
前記マージン部(176)は、前記弁体本体部(175)の吸気流れ方向における下流側に設けられることを特徴とする請求項2に記載の内燃機関の吸気構造。
【請求項5】
前記一端側半体(74A,174A)の前記マージン部(76,176)に、面取り部(77,177)を有することを特徴とする請求項3または請求項4に記載の内燃機関の吸気構造。
【請求項6】
前記他端側半体(174B)の前記マージン部(176)に、前記スロットル弁(172)の開閉時に、前記スロットルボディ(7)との干渉を防ぐための逃げ部(178)を有することを特徴とする請求項4に記載の内燃機関の吸気構造。
【請求項7】
前記他端側半体(74B,174B)の前記マージン部(76,176)に、面取り部(77,177)を有することを特徴とする請求項3または請求項4に記載の内燃機関の吸気構造。
【請求項8】
前記スロットル弁(72,172)の閉塞時に、前記他端側半体(74B,174B)の上流側の縁部が前記スロットルボディ(7)の内壁面(7a)に当接して閉塞し、前記他端側半体(74B,174B)の下流側の縁部が前記スロットルボディ(7)の前記内壁面(70a)から離間するように、前記弁体(74,174)に、上流側から下流側に向けた面取り部(77B,177B)を有することを特徴とする請求項2または請求項3に記載の内燃機関の吸気構造。
【請求項9】
前記弁体(274)は、前記弁軸(73)の軸中心(C)に対して、上流側にオフセットした弁体本体部(275)と、前記弁体本体部(275)に厚みを持たせたマージン部(276)を有し、
前記マージン部(276)は、前記弁体本体部(275)の吸気流れ方向における上流側に設けられ、
前記スロットル弁(272)の開口開始時に、前記弁体(274)の前記他端側半体(274B)は前記主流路(80B)側に近づくように回動することを特徴とする請求項1に記載の内燃機関の吸気構造。
【請求項10】
前記マージン部(76,176,276)は、前記弁体本体部(75,175,275)と一体部材であることを特徴とする請求項2、請求項3および請求項9のいずれかに記載の内燃機関の吸気構造。
(【請求項11】以降は省略されています)
発明の詳細な説明
【技術分野】
【0001】
本発明は、内燃機関の吸気路が主流路とタンブル流路とに仕切られた内燃機関の吸気構造に関する。
続きを表示(約 1,800 文字)
【背景技術】
【0002】
従来から、気候変動の緩和または影響軽減を目的とした取り組みが継続され、この実現に向けて二酸化炭素の排出量低減に関する研究開発が行われている。
ところで、二酸化炭素排出量低減に関する技術においては、内燃機関の燃焼効率を向上させるために、より強力なタンブル流を発生させることが課題である。
点火後の火炎伝播の効率を高めることで燃焼効率を向上させるべく燃焼室内にタンブル流を発生させる内燃機関の吸気構造が種々提案されている(例えば特許文献1参照)。
【0003】
例えば、特許文献1の内燃機関の吸気構造では、吸気路中にスロットル弁の下流側にインレットパイプから吸気ポートへと続けて仕切部である仕切板部を設け、この仕切板部により吸気路を上下の下側副通路と上側主通路とに仕切られて、下側副通路がタンブル流路となるものである。
【0004】
上記特許文献に開示された内燃機関の吸気構造ではタンブル弁が設けられていないが、スロットル弁を徐開時、すなわち低開度領域において、スロットル弁の開口部から流れる吸気によって弁体の下流側に発生する負圧により、主流路側の吸気がタンブル流路側に流れ、タンブル流路側の吸気に合流して、タンブル流の発生をさせるものであるが、さらなるタンブル流の流動強化により、燃焼効率の向上が望まれる。
【先行技術文献】
【特許文献】
【0005】
特開2019-23459号公報
【発明の概要】
【発明が解決しようとする課題】
【0006】
上記点に鑑みて、本発明は、内燃機関の吸気路が主流路とタンブル流路とに仕切られた内燃機関の吸気構造において、より強力なタンブル流の発生を可能にし、燃焼室での火炎伝播の効率を更に高めて燃焼効率を向上させ、二酸化炭素排出量低減を可能にする内燃機関の吸気構造を提供することにある。
【課題を解決するための手段】
【0007】
上記の課題を解決するために、本発明は、燃焼室に吸気が流入する吸気流路と、
前記吸気流路の吸気の流量を制御するスロットル弁と、
前記スロットル弁の下流に配設され、前記吸気流路を吸気流れ方向に分ける仕切部と、
前記吸気流路が前記仕切部に分けられる主流路と、
前記吸気流路が前記仕切部に分けられるタンブル流路と、を備え、
前記スロットル弁は、スロットルボディに回動自在に支承される弁軸と、前記弁軸と一体に回動される弁体を有し、
前記弁体は、前記弁軸を挟んで二分される前記タンブル流路側の一端側半体と、前記主流路側の他端側半体とからなり、
前記スロットル弁の低開度時に、前記一端側半体側の第一開口部が、前記他端側半体側の第二開口部より大きく開口することを特徴とする内燃機関の吸気構造である。
【0008】
前記構成によれば、スロットル弁の低開度時に、一端側半体側の第一開口部が、他端側半体側の第二開口部より大きく開口するので、タンブル流路に向かう吸気量が増加し、タンブル流路内の流速が高まり、より強力なタンブル流が生成され、燃焼室での火炎伝播の効率を高めて燃焼効率を向上させ、二酸化炭素排出量低減を可能にすることができる。
【0009】
前記構成において、前記弁体を、前記弁軸の軸中心に対して、下流側にオフセットした弁体本体部と、前記弁体本体部に厚みを持たせたマージン部を有して、
前記スロットル弁の開口開始時に、前記弁体の前記一端側半体は前記タンブル流路側に近づくように回動するようにしてもよい。
【0010】
前記構成によれば、弁体は、弁軸の軸中心に対して下流側にオフセットした弁体本体部と、弁体本体部に厚みを持たせたマージン部を有し、スロットル弁の開口開始時に、弁体の一端側半体はタンブル流路側に近づくように回動されるので、タンブル流路側の第一開口部が、主流路側の第二開口部より大きく開口し、タンブル流路に向かう吸気量が増加し、タンブル流路内の流速が高まり、より強力なタンブル流を生成することができる。
(【0011】以降は省略されています)
この特許をJ-PlatPat(特許庁公式サイト)で参照する
関連特許
本田技研工業株式会社
飛行体
3日前
本田技研工業株式会社
回転電機
5日前
本田技研工業株式会社
灯火器構造
3日前
本田技研工業株式会社
冷却液タンク
10日前
本田技研工業株式会社
蓄電システム
12日前
本田技研工業株式会社
回転電機用ロータ
19日前
本田技研工業株式会社
加水分解処理装置
3日前
本田技研工業株式会社
金属シリコンの製造方法
19日前
本田技研工業株式会社
非接触電力伝送システム
12日前
本田技研工業株式会社
水素同位体分離システム
3日前
本田技研工業株式会社
電力変換装置、および車両
11日前
本田技研工業株式会社
積層体、積層体の製造方法
11日前
本田技研工業株式会社
情報処理方法及びプログラム
1か月前
本田技研工業株式会社
軟磁性鋼板およびその製造方法
3日前
本田技研工業株式会社
有機物処理装置および有機物処理方法
3日前
本田技研工業株式会社
有機物処理装置および有機物処理方法
3日前
本田技研工業株式会社
電解システムの制御装置および電解システム
4日前
本田技研工業株式会社
音声認識装置、音声認識方法、及びプログラム
5日前
本田技研工業株式会社
情報処理装置、情報処理方法、およびプログラム
1か月前
本田技研工業株式会社
三次元モデル生成装置及び三次元モデル評価システム
3日前
株式会社ダイセル
アルミニウム合金製摺動部材用潤滑剤
3日前
本田技研工業株式会社
移動体の制御装置、移動体の制御方法、およびプログラム
26日前
本田技研工業株式会社
作動装置
1か月前
本田技研工業株式会社
車両、制御方法、プログラム、記憶媒体、及び情報処理装置
1か月前
本田技研工業株式会社
有機物処理装置、有機物処理方法、および燃料ガスの製造方法
3日前
本田技研工業株式会社
電池の充電状態の補正方法、電池均等化方法、端末機器及び車両
18日前
タイガースポリマー株式会社
二次電池用加圧袋およびその製造方法
3日前
本田技研工業株式会社
熱媒体組み合わせ最適化装置、熱媒体組み合わせ最適化方法、および、熱媒体組み合わせ最適化プログラム
19日前
個人
擬似オイル発電装置
24日前
個人
ガバナー
11日前
ダイハツ工業株式会社
発電装置
19日前
株式会社ミクニ
二次空気供給システム
4日前
トヨタ自動車株式会社
制御装置
3日前
株式会社ミクニ
インテークマニホールド
3日前
株式会社ミクニ
インテークマニホールド
3日前
トヨタ自動車株式会社
制御装置
18日前
続きを見る
他の特許を見る