TOP
|
特許
|
意匠
|
商標
特許ウォッチ
Twitter
他の特許を見る
10個以上の画像は省略されています。
公開番号
2025152065
公報種別
公開特許公報(A)
公開日
2025-10-09
出願番号
2024053784
出願日
2024-03-28
発明の名称
エンジンの制御装置
出願人
マツダ株式会社
代理人
弁理士法人前田特許事務所
主分類
F02D
45/00 20060101AFI20251002BHJP(燃焼機関;熱ガスまたは燃焼生成物を利用する機関設備)
要約
【課題】燃焼サイクル間の規則性を有する燃焼変動を抑制する。
【解決手段】エンジンの制御装置は、吸気バルブ11及び排気バルブ12の開閉によってガス交換が行われる気筒2を有し、かつ複数の気筒が順次、燃焼サイクルを実行することにより運転するエンジン1と、エンジンに取り付けられ、かつ複数の気筒それぞれの燃焼に関係するデバイスと、デバイスに制御信号を出力することによって、エンジンの運転を制御するコントローラ100と、を備え、コントローラは、エンジンのプラントモデル1000であって、燃焼サイクル間の燃焼変動の規則性を表すプラントモデルに基づいて、複数の気筒それぞれの燃焼前に、気筒の状態量を推定しかつ推定した状態量に基づき補正した制御信号をデバイスに出力する。
【選択図】図8
特許請求の範囲
【請求項1】
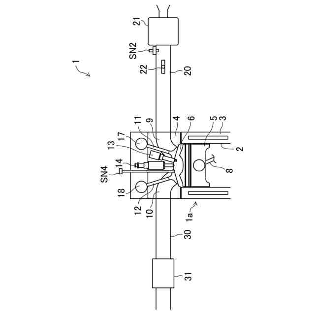
吸気バルブ及び排気バルブの開閉によってガス交換が行われる気筒を有し、かつ複数の前記気筒が順次、燃焼サイクルを実行することにより運転するエンジンと、
前記エンジンに取り付けられ、かつ前記複数の気筒それぞれの燃焼に関係するデバイスと、
前記デバイスに制御信号を出力することによって、前記エンジンの運転を制御するコントローラと、を備え、
前記コントローラは、前記エンジンのプラントモデルであって、前記燃焼サイクル間の規則性を有する燃焼変動を表すプラントモデルに基づいて、前記複数の気筒それぞれの燃焼前に、前記気筒の状態量を推定しかつ推定した状態量に基づき補正した制御信号を前記デバイスに出力する、
エンジンの制御装置。
続きを表示(約 1,200 文字)
【請求項2】
請求項1に記載のエンジンの制御装置において、
前記プラントモデルは、一燃焼サイクル毎に、前記気筒の状態量を推定するモデルであり、
前記コントローラは、前記プラントモデルに基づいて、前記気筒の状態量として、温度、空気量、既燃ガス量、及び燃料量を推定する、
エンジンの制御装置。
【請求項3】
請求項2に記載のエンジンの制御装置において、
前記プラントモデルは、前記気筒のガス交換に関係する物理モデルと、前記気筒内の燃焼に関係する統計モデルとの結合モデルである、
エンジンの制御装置。
【請求項4】
請求項2又は3に記載のエンジンの制御装置において、
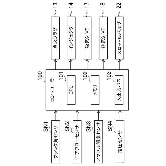
前記複数の気筒のそれぞれに対応して前記エンジンに取り付けられ、かつ気筒内の圧力に対応する信号を、前記コントローラへ出力する指圧センサを備え、
前記コントローラは、前記指圧センサの信号に基づく前記気筒内の燃焼状態と、前記プラントモデルとに基づいて、次に燃焼が行われる気筒の前記吸気バルブが閉じる前に、当該気筒の状態量を推定する、
エンジンの制御装置。
【請求項5】
請求項4に記載のエンジンの制御装置において、
前記指圧センサの信号に基づく燃焼状態は、図示平均有効圧力(IMEP)と燃焼重心(MFB50)とを含む、
エンジンの制御装置。
【請求項6】
請求項4に記載のエンジンの制御装置において、
前記デバイスは、前記複数の気筒のそれぞれに対応して前記エンジンに取り付けられ、かつ前記気筒内へ供給される燃料を噴射するインジェクタを含み、
前記コントローラは、推定した状態量に基づいて、燃料噴射量を調整する、
エンジンの制御装置。
【請求項7】
請求項6に記載のエンジンの制御装置において、
前記インジェクタは、少なくとも前記吸気バルブが閉じる前の吸気行程において、燃料を噴射し、
前記コントローラは、前記吸気行程における前記インジェクタによる前記燃料噴射量を調整する、
エンジンの制御装置。
【請求項8】
請求項4に記載のエンジンの制御装置において、
前記デバイスは、前記吸気バルブの開閉タイミングを変更する吸気動弁機構を含み、
前記コントローラは、推定した状態量に基づいて、前記吸気バルブの開閉タイミングを調整する、
エンジンの制御装置。
【請求項9】
請求項4に記載のエンジンの制御装置において、
前記デバイスは、前記複数の気筒のそれぞれに対応して前記エンジンに取り付けられ、かつ前記気筒内の混合気に点火する点火プラグを含み、
前記コントローラは、推定した状態量に基づいて、前記点火プラグの点火タイミングを調整する、
エンジンの制御装置。
発明の詳細な説明
【技術分野】
【0001】
ここに開示する技術は、エンジンの制御装置に関する。
続きを表示(約 1,500 文字)
【背景技術】
【0002】
特許文献1には、従来の内燃機関制御装置が記載されている。この内燃機関制御装置は、排気ガスをシリンダの筒内に戻すEGR(Exhaust Gas Recirculation)制御を行い、燃焼サイクルにおいて吸気バルブ及び排気バルブの双方が閉じている状態における筒内のガスの温度とEGR率とを求め、この求めたガスの温度とEGR率とに基づいて点火タイミングを補正する。
【先行技術文献】
【特許文献】
【0003】
特許第6594825号公報
【発明の概要】
【発明が解決しようとする課題】
【0004】
特許文献1に記載された従来の制御装置は、吸気バルブが閉じた後に、筒内のガスの温度とEGR率とを求めて、当該燃焼サイクルにおける点火タイミングを補正する。つまり、従来の制御装置は、一サイクル毎に気筒の状態量を計測して、デバイスの制御量の補正を行っていた。
【0005】
これに対し、本願発明者らは、前のサイクルの燃焼が後のサイクルの燃焼に影響を及ぼすことによって、サイクルの進行に対して規則性を有する燃焼変動が発生することを、新たに見出した。このような複数の燃焼サイクルにまたがる長期的な燃焼変動は、従来の制御装置のように一サイクル毎に気筒の状態量を計測していたのでは、計測することができず、燃焼変動を抑制することもできない。
【0006】
ここに開示する技術は、燃焼サイクル間の規則性を有する燃焼変動を抑制する。
【課題を解決するための手段】
【0007】
ここに開示する技術は、エンジンの制御装置に係る。このエンジンの制御装置は、
吸気バルブ及び排気バルブの開閉によってガス交換が行われる気筒を有し、かつ複数の前記気筒が順次、燃焼サイクルを実行することにより運転するエンジンと、
前記エンジンに取り付けられ、かつ前記複数の気筒それぞれの燃焼に関係するデバイスと、
前記デバイスに制御信号を出力することによって、前記エンジンの運転を制御するコントローラと、を備え、
前記コントローラは、前記エンジンのプラントモデルであって、前記燃焼サイクル間の規則性を有する燃焼変動を表すプラントモデルに基づいて、前記複数の気筒それぞれの燃焼前に、前記気筒の状態量を推定しかつ推定した状態量に基づき補正した制御信号を前記デバイスに出力する。
【0008】
コントローラは、デバイスに制御信号を出力することを通じて、エンジンの複数の気筒それぞれの燃焼を制御する。複数の気筒が順次、燃焼サイクルを実行することにより、エンジンは運転する。
【0009】
コントローラは、プラントモデルに基づいて、複数の気筒それぞれの燃焼前に、気筒の状態量を推定する。コントローラは、プラントモデルを用いることにより、複数の気筒それぞれの燃焼前に、気筒の状態量を推定できる。
【0010】
プラントモデルは、燃焼サイクル間の規則性を有する燃焼変動を表す。燃焼サイクル間の規則性を有する燃焼変動は、前のサイクルの燃焼が後のサイクルの燃焼に影響を及ぼすことによって生じる。コントローラは、推定した気筒の状態量に基づいてデバイスの制御量を補正する。コントローラは、燃焼サイクル間の規則性を有する燃焼変動が抑制されるよう、デバイスの制御量を補正する。コントローラが、補正した制御信号をデバイスに出力することにより、燃焼サイクル間の規則性を有する燃焼変動が抑制される。
(【0011】以降は省略されています)
この特許をJ-PlatPat(特許庁公式サイト)で参照する
関連特許
マツダ株式会社
回転電機
5日前
マツダ株式会社
運転支援装置
1か月前
マツダ株式会社
運転支援装置
1か月前
マツダ株式会社
車体後部構造
27日前
マツダ株式会社
車両の下部構造
7日前
マツダ株式会社
車両の下部構造
5日前
マツダ株式会社
車両の前部構造
6日前
マツダ株式会社
車両の前部構造
6日前
マツダ株式会社
車両の下部構造
5日前
マツダ株式会社
車両の上部構造
1か月前
マツダ株式会社
車両の下部構造
7日前
マツダ株式会社
バッテリユニット
26日前
マツダ株式会社
バッテリ冷却構造
13日前
マツダ株式会社
バッテリユニット
26日前
マツダ株式会社
バッテリ冷却構造
13日前
マツダ株式会社
車両用フレーム部材
6日前
マツダ株式会社
車両用フレーム部材
6日前
マツダ株式会社
車両の状態量検出装置
今日
マツダ株式会社
運転者の覚醒維持装置
6日前
マツダ株式会社
塗布方法及び塗布装置
13日前
マツダ株式会社
バッテリ温度制御システム
1か月前
マツダ株式会社
車両のドア構造およびその製造方法
1か月前
マツダ株式会社
車両用フレーム部材および車体前部構造
13日前
マツダ株式会社
車両用フレーム部材および車体前部構造
13日前
マツダ株式会社
車両の構造設計方法及び構造設計プログラム
7日前
マツダ株式会社
バッテリユニットを搭載した車両の前部車体構造
26日前
マツダ株式会社
車両の上部構造、および車両の上部構造の製造方法
1か月前
マツダ株式会社
バッテリユニット及びバッテリユニットの製造方法。
26日前
マツダ株式会社
車両用空調装置の冷媒取り出し方法及び車両用空調装置
5日前
マツダ株式会社
樹脂成形品の解析方法、解析装置、解析用プログラム及び記録媒体
1か月前
マツダ株式会社
ゴム材料の応力-ひずみ特性予測方法、装置、プログラム、記録媒体及び設計方法
1か月前
個人
バンケル型内燃機関の改良
1か月前
個人
擬似オイル発電装置
19日前
個人
ガバナー
6日前
スズキ株式会社
車両の制御装置
1か月前
ダイハツ工業株式会社
発電装置
14日前
続きを見る
他の特許を見る