TOP
|
特許
|
意匠
|
商標
特許ウォッチ
Twitter
他の特許を見る
公開番号
2025154366
公報種別
公開特許公報(A)
公開日
2025-10-10
出願番号
2024057316
出願日
2024-03-29
発明の名称
バッテリ温度制御システム
出願人
マツダ株式会社
代理人
弁理士法人前田特許事務所
主分類
H01M
10/633 20140101AFI20251002BHJP(基本的電気素子)
要約
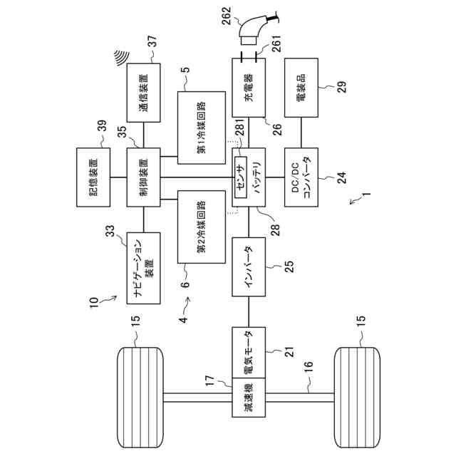
【課題】電動自動車のバッテリの温度調節を正確に行うバッテリ温度制御システムを提供する。
【解決手段】電動自動車1の温度制御システム10は、モータ21と、モータへ供給する電気エネルギを蓄積するバッテリ28と、バッテリの温度を調節する温度調節装置4と、バッテリの充電開始時の温度が充電に適した目標温度になるよう、温度調節装置を使った温度調節制御を行う制御装置35と、を備え、制御装置は、充電スポットへ電動自動車が向かっている最中に温度調節制御を行う。制御装置はまた、電動自動車が充電スポットに到着するまでの間の、バッテリの自己発熱による温度上昇を予測し、かつ、予測した温度上昇を考慮して温度調節制御を行う。
【選択図】図3
特許請求の範囲
【請求項1】
電動自動車に搭載されかつ前記電動自動車の走行用駆動力を出力するモータと、
前記モータへ供給する電気エネルギを蓄積するバッテリと、
前記バッテリの温度を調節する温度調節装置と、
前記バッテリの充電開始時の温度が充電に適した目標温度になるよう、前記温度調節装置を使った温度調節制御を行う制御装置と、を備え、
前記制御装置は、前記バッテリが充電される充電スポットへ前記電動自動車が向かっている最中に前記温度調節制御を行い、
前記制御装置はまた、前記電動自動車が前記充電スポットに到着するまでの間の、前記バッテリの自己発熱による温度上昇を予測し、かつ予測した温度上昇を考慮して前記温度調節制御を行う、
バッテリ温度制御システム。
続きを表示(約 1,300 文字)
【請求項2】
請求項1に記載のバッテリ温度制御システムにおいて、
前記温度調節装置は、前記バッテリの電気エネルギを消費して前記バッテリを加熱し、
前記制御装置は、前記バッテリの自己発熱による温度上昇を考慮した上で前記バッテリの温度を目標温度とするために加熱が必要な場合、前記温度調節装置を使って前記バッテリを加熱し、加熱が不要な場合、前記温度調節装置を使わない、
バッテリ温度制御システム。
【請求項3】
請求項2に記載バッテリ温度制御システムにおいて、
前記温度調節装置は、前記バッテリに当接する電気ヒータ、又は、前記バッテリに当接した温調プレートの冷媒を加温する電気ヒータを含む、
バッテリ温度制御システム。
【請求項4】
請求項3に記載のバッテリ温度制御システムにおいて、
前記温度調節装置は、前記電気ヒータと、前記電気ヒータよりも消費エネルギが低い第2加熱装置とを含み、
前記制御装置は、前記バッテリの温度を目標温度とするために必要な加熱量に応じて、前記電気ヒータ又は前記第2加熱装置を選択する、
バッテリ温度制御システム。
【請求項5】
請求項1に記載のバッテリ温度制御システムにおいて、
前記温度調節装置は、走行風を利用して前記バッテリを冷却する第1冷却装置と、前記バッテリの電気エネルギを消費して前記バッテリを冷却する第2冷却装置と、を含み、
前記制御装置は、前記バッテリの自己発熱による温度上昇を考慮した上で前記バッテリの温度を目標温度とするために必要な冷却量に応じて、前記第1冷却装置又は前記第2冷却装置を選択する、
バッテリ温度制御システム。
【請求項6】
請求項1に記載のバッテリ温度制御システムにおいて、
前記制御装置は、交通環境に関する情報に基づいて、前記電動自動車が前記充電スポットへ到着するまでに必要な電気エネルギを予測すると共に、当該電気エネルギに基づいて、前記バッテリの自己発熱による温度上昇を予測する、
バッテリ温度制御システム。
【請求項7】
請求項6に記載のバッテリ温度制御システムにおいて、
前記制御装置はまた、前記電動自動車のユーザの運転操作に関する情報に基づいて、前記電動自動車が前記充電スポットへ到着するまでに必要な電気エネルギを予測する、
バッテリ温度制御システム。
【請求項8】
請求項6又は7に記載のバッテリ温度制御システムにおいて、
前記制御装置はまた、前記電動自動車に関する情報に基づいて、前記電動自動車が前記充電スポットへ到着するまでに必要な電気エネルギを予測する、
バッテリ温度制御システム。
【請求項9】
請求項1に記載のバッテリ温度制御システムにおいて、
前記制御装置は、前記温度調節制御を実行しながら前記充電スポットへ到着した際に前記バッテリのSOCが所定の許容値を下回ると予測した場合、前記SOCが前記許容値以上となるよう前記温度調節制御による電気エネルギの消費量を減らす、
バッテリ温度制御システム。
発明の詳細な説明
【技術分野】
【0001】
ここに開示する技術は、バッテリ温度制御システムに関する。
続きを表示(約 1,800 文字)
【背景技術】
【0002】
特許文献1には、従来の電池温調制御装置が記載されている。電池温調制御装置は、電気自動車又はプラグインハイブリッド自動車に搭載されている。自動車は、走行用電動モータへ供給される走行用電力を蓄える二次電池を備えている。電池温調制御装置は、自動車の走行中に、充電を行う充電器が乗員によって選択されると、選択された充電器に到着した時に電池の温度が目標電池温度になるよう、電池の温度を調整する。充電開始時に電池の温度が所定の温度となっているため、電池の充電時間が長くなってしまうことが抑制される。
【先行技術文献】
【特許文献】
【0003】
特開2022-100892号公報
【発明の概要】
【発明が解決しようとする課題】
【0004】
前記従来の電池温調制御装置は、充電器に到着するまでの間に、電池の自己発熱により電池の温度が上がることは考慮されていない。電池の自己発熱を考慮しないと、充電器に到着した時に電池の温度が目標電池温度から、ずれる場合がある。また、電池の自己発熱を考慮しないと、電池を無駄に加熱又は冷却することにもなる。
【0005】
ここに開示する技術は、電動自動車のバッテリの温度調節を正確に行う。
【課題を解決するための手段】
【0006】
ここに開示する技術は、バッテリ温度制御システムに係る。このバッテリ温度制御システムは、
電動自動車に搭載されかつ前記電動自動車の走行用駆動力を出力するモータと、
前記モータへ供給する電気エネルギを蓄積するバッテリと、
前記バッテリの温度を調節する温度調節装置と、
前記バッテリの充電開始時の温度が充電に適した目標温度になるよう、前記温度調節装置を使った温度調節制御を行う制御装置と、を備え、
前記制御装置は、前記バッテリが充電される充電スポットへ前記電動自動車が向かっている最中に前記温度調節制御を行い、
前記制御装置はまた、前記電動自動車が前記充電スポットに到着するまでの間の、前記バッテリの自己発熱による温度上昇を予測し、かつ予測した温度上昇を考慮して前記温度調節制御を行う。
【0007】
電動自動車は、バッテリから電気エネルギの供給を受けたモータが走行用駆動力を出力することによって、走行する。電動自動車の走行距離が長くなれば、バッテリのSOCは低下する。電動自動車の走行中にバッテリのSOCが低下すれば、電動自動車のユーザは、例えば充電スポットに停車をして、バッテリの充電を行う。バッテリは急速充電される場合がある。バッテリの充電時間が短くなるよう、バッテリの充電を開始する際のバッテリの温度は所定の温度であることが好ましい。
【0008】
制御装置は、温度調節装置を使ってバッテリの温度調節制御を行う。制御装置は、詳細には、電動自動車が充電スポットへ到着してバッテリの充電を開始する際のバッテリの温度が目標温度となるよう、充電スポットへ電動自動車が向かっている最中に温度調節制御を行う。
【0009】
電動自動車は充電スポットまで走行するため、電動自動車が充電スポットに到着するまでの間にも、バッテリはモータへ電気エネルギを供給している。そのため、バッテリの温度は、電動自動車が充電スポットに到着するまでの間に、バッテリの自己発熱により上昇する場合がある。制御装置は、バッテリの自己発熱による温度上昇を予測し、予測した温度上昇を考慮して温度調節制御を行う。制御装置は、電動自動車が充電スポットへ到着してバッテリの充電を開始する際のバッテリの温度を、正確に目標温度にすることができる。その結果、バッテリの充電時間が短くなる。
【0010】
前記温度調節装置は、前記バッテリの電気エネルギを消費して前記バッテリを加熱し、
前記制御装置は、前記バッテリの自己発熱による温度上昇を考慮した上で前記バッテリの温度を目標温度とするために加熱が必要な場合、前記温度調節装置を使って前記バッテリを加熱し、加熱が不要な場合、前記温度調節装置を使わない、としてもよい。
(【0011】以降は省略されています)
この特許をJ-PlatPat(特許庁公式サイト)で参照する
関連特許
マツダ株式会社
二次電池
1か月前
マツダ株式会社
二次電池
1か月前
マツダ株式会社
車載機器
1か月前
マツダ株式会社
回転電機
5日前
マツダ株式会社
運転支援装置
1か月前
マツダ株式会社
運転支援装置
1か月前
マツダ株式会社
車体後部構造
27日前
マツダ株式会社
運転支援装置
1か月前
マツダ株式会社
車両の下部構造
5日前
マツダ株式会社
車両の前部構造
6日前
マツダ株式会社
車両の下部構造
7日前
マツダ株式会社
車両の上部構造
1か月前
マツダ株式会社
車両の前部構造
6日前
マツダ株式会社
車両の前部構造
1か月前
マツダ株式会社
車両の下部構造
5日前
マツダ株式会社
車両の下部構造
7日前
マツダ株式会社
バッテリ冷却構造
13日前
マツダ株式会社
バッテリ冷却構造
13日前
マツダ株式会社
バッテリユニット
26日前
マツダ株式会社
バッテリユニット
26日前
マツダ株式会社
車両用フレーム部材
6日前
マツダ株式会社
車両用フレーム部材
6日前
マツダ株式会社
二次電池の制御装置
1か月前
マツダ株式会社
車両の状態量検出装置
今日
マツダ株式会社
塗布方法及び塗布装置
13日前
マツダ株式会社
運転者の覚醒維持装置
6日前
マツダ株式会社
車両のパワートレイン構造
1か月前
マツダ株式会社
車両のパワートレイン構造
1か月前
マツダ株式会社
車両のパワートレイン構造
1か月前
マツダ株式会社
車両のパワートレイン構造
1か月前
マツダ株式会社
バッテリ温度制御システム
1か月前
マツダ株式会社
車両の合流位置評価装置及び方法
1か月前
マツダ株式会社
車両の合流位置評価装置及び方法
1か月前
マツダ株式会社
車両の合流位置評価装置及び方法
1か月前
マツダ株式会社
車両の合流位置評価装置及び方法
1か月前
マツダ株式会社
車両のドア構造およびその製造方法
1か月前
続きを見る
他の特許を見る