TOP
|
特許
|
意匠
|
商標
特許ウォッチ
Twitter
他の特許を見る
10個以上の画像は省略されています。
公開番号
2025152720
公報種別
公開特許公報(A)
公開日
2025-10-10
出願番号
2024054754
出願日
2024-03-28
発明の名称
車両の合流位置評価装置及び方法
出願人
マツダ株式会社
代理人
弁理士法人三協国際特許事務所
主分類
B60W
30/10 20060101AFI20251002BHJP(車両一般)
要約
【課題】車両の合流シーンにおいて、合流位置の評価を短時間で適切に行う。
【解決手段】合流位置評価装置は、自車両の周囲の交通環境を取得する取得部(12)と、自車両が他車群の中に割り込むときの割込み先ギャップの候補である合流位置候補を抽出する抽出部(12)と、運転挙動モデルを用いて自車両及び他車群の将来挙動をシミュレーションすることにより、合流位置候補ごとに、合流の成否に関する第1の評価値と、これとは異なる第2の評価値と、を算出するシミュレーション部(13)と、求めた第1の評価値に基づき合流位置候補を絞り込み、絞り込んだ当該合流位置候補の優劣を第2の評価値に基づき評価する評価部(14)と、を備える。
【選択図】図1
特許請求の範囲
【請求項1】
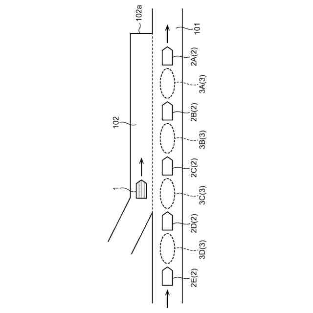
自車両が支線を通って本線に合流するときの合流位置を評価する装置であって、
前記本線を走行する他車群の位置及び速度並びに道路形状を含む、前記自車両の周囲の交通環境を取得する取得部と、
前記取得部が取得した前記交通環境に基づいて、前記自車両が前記他車群の中に割り込むときの割込み先ギャップの候補である合流位置候補を抽出する抽出部と、
前記自車両及び前記他車群の挙動を予測する運転挙動モデルを用いて前記自車両及び前記他車群の将来挙動をシミュレーションすることにより、前記抽出部が抽出した前記合流位置候補ごとに、合流の成否に関する第1の評価値と、これとは異なる第2の評価値と、を算出するシミュレーション部と、
前記シミュレーション部が求めた前記第1の評価値に基づき前記合流位置候補を絞り込み、絞り込んだ当該合流位置候補の優劣を前記第2の評価値に基づき評価する評価部と、を備えた、車両の合流位置評価装置。
続きを表示(約 1,000 文字)
【請求項2】
請求項1に記載の車両の合流位置評価装置において、
前記シミュレーション部は、前記自車両の合流が完了したか又は合流完了が見込まれた時点における前記支線の終端までの残り距離又は残り時間に基づく余裕評価値を、前記第1の評価値として算出し、
前記評価部は、前記抽出部が抽出した前記合流位置候補から、前記余裕評価値が相対的に大きい合流位置候補に絞り込む、車両の合流位置評価装置。
【請求項3】
請求項2に記載の車両の合流位置評価装置において、
前記シミュレーション部は、前記自車両の合流に伴って当該自車両の後ろの他車両である後続車に及ぼす影響の大きさを表す後続車影響度を、前記第2の評価値として算出し、
前記評価部は、前記後続車影響度が小さい前記合流位置候補を、前記後続車影響度が大きい前記合流位置候補よりも優れていると評価する、車両の合流位置評価装置。
【請求項4】
請求項1~3のいずれか1項に記載の車両の合流位置評価装置において、
前記運転挙動モデルは、前記他車群の挙動を予測するモデルとして、先行車両との間に適切な車間距離を維持しながら走行するのに必要な加速度を出力する追従走行モデルを含む、車両の合流位置評価装置。
【請求項5】
請求項3に記載の車両の合流位置評価装置において、
前記運転挙動モデルは、前記自車両の挙動を予測するモデルとして、所定の目標位置及び目標速度との差に比例した加速度を出力する比例モデルを含む、車両の合流位置評価装置。
【請求項6】
自車両が支線を通って本線に合流するときの合流位置を評価する方法であって、
前記本線を走行する他車群の位置及び速度並びに道路形状を含む、前記自車両の周囲の交通環境を取得するステップと、
取得した前記交通環境に基づいて、前記自車両が前記他車群の中に割り込むときの割込み先ギャップの候補である合流位置候補を抽出するステップと、
前記自車両及び前記他車群の挙動を予測する運転挙動モデルを用いて前記自車両及び前記他車群の将来挙動をシミュレーションすることにより、抽出した前記合流位置候補ごとに、合流の成否に関する第1の評価値と、これとは異なる第2の評価値と、を算出するステップと、
算出した前記第1の評価値に基づき前記合流位置候補を絞り込み、絞り込んだ当該合流位置候補の優劣を前記第2の評価値に基づき評価するステップと、を含む、車両の合流位置評価方法。
発明の詳細な説明
【技術分野】
【0001】
本発明は、自車両が支線を通って本線に合流するときの合流位置を評価する装置及び方法に関する。
続きを表示(約 1,700 文字)
【背景技術】
【0002】
近年、車両の運転支援もしくは自動運転に関する研究の一環として、車両が支線から本線に合流する合流動作を支援もしくは自動化することが検討されている。例えば、下記特許文献1には、本線に合流する自車両の行動計画を生成する行動計画生成装置において、車両の運転を模擬的に体験することが可能なシミュレータ機能を通じて得られる走行データから生成された学習モデルを用いて、本線を走行する他車両が自車両に対し進路を譲る可能性を表す譲り度合いを算出し、算出した当該譲り度合いに基づいて自車両が本線に合流するときの行動計画を生成することが開示されている。
【先行技術文献】
【特許文献】
【0003】
特開2023-146576号公報
【発明の概要】
【発明が解決しようとする課題】
【0004】
ここで、自車両が本線に合流する際には、本線を走行する他車群における複数のギャップ(車間)のいずれかを目標の合流位置として定める必要がある。しかしながら、上記特許文献1では、目標の合流位置に実際に合流できるか否かの判定、つまり合流位置の評価が、シミュレータ機能を用いた被験者の繰り返し実験から得られる学習モデルの出力値(譲り度合い)に基づき行われるので、その評価ロジックの確立に手間と時間がかかるという問題がある。
【0005】
本発明は、上記のような事情に鑑みてなされたものであり、合流位置の評価を短時間で適切に行うことが可能な車両の合流位置評価装置及び方法を提供することを目的とする。
【課題を解決するための手段】
【0006】
上記課題を解決するためのものとして、本発明の車両の合流位置評価装置は、自車両が支線を通って本線に合流するときの合流位置を評価する装置であって、前記本線を走行する他車群の位置及び速度並びに道路形状を含む、前記自車両の周囲の交通環境を取得する取得部と、前記取得部が取得した前記交通環境に基づいて、前記自車両が前記他車群の中に割り込むときの割込み先ギャップの候補である合流位置候補を抽出する抽出部と、前記自車両及び前記他車群の挙動を予測する運転挙動モデルを用いて前記自車両及び前記他車群の将来挙動をシミュレーションすることにより、前記抽出部が抽出した前記合流位置候補ごとに、合流の成否に関する第1の評価値と、これとは異なる第2の評価値と、を算出するシミュレーション部と、前記シミュレーション部が求めた前記第1の評価値に基づき前記合流位置候補を絞り込み、絞り込んだ当該合流位置候補の優劣を前記第2の評価値に基づき評価する評価部と、を備えたものである。
【0007】
本発明によれば、自車両及び他車群の挙動を予測する運転挙動モデルを用いたシミュレーションを通じて合流位置候補ごとの評価が行われるので、評価のために機械学習や強化学習のような複雑な処理を経ることが不要になり、評価に要する時間を短縮することができる。
【0008】
また、合流位置候補の評価に際して、第1の評価値に基づく合流位置候補の絞り込みがまず行われ、その後、絞り込んだ当該合流位置候補の優劣が第2の評価値に基づき評価される。このように、複数の評価値による評価を段階的に行うことにより、全ての合流位置候補について各評価値を算出・比較する場合と比べて計算負荷を減らすことができ、評価にかかる所要時間を効果的に短縮することができる。
【0009】
好ましくは、前記シミュレーション部は、前記自車両の合流が完了したか又は合流完了が見込まれた時点における前記支線の終端までの残り距離又は残り時間に基づく余裕評価値を、前記第1の評価値として算出し、前記評価部は、前記抽出部が抽出した前記合流位置候補から、前記余裕評価値が相対的に大きい合流位置候補に絞り込む。
【0010】
この態様では、余裕をもった合流が可能な合流位置候補、換言すれば十分な確率で合流成功が見込める合流位置候補を適切に選定することができる。
(【0011】以降は省略されています)
この特許をJ-PlatPat(特許庁公式サイト)で参照する
関連特許
マツダ株式会社
二次電池
1か月前
マツダ株式会社
二次電池
1か月前
マツダ株式会社
二次電池
2か月前
マツダ株式会社
車載機器
1か月前
マツダ株式会社
エンジン
1か月前
マツダ株式会社
運転支援装置
1か月前
マツダ株式会社
運転支援装置
1か月前
マツダ株式会社
運転支援装置
1か月前
マツダ株式会社
排気浄化装置
2か月前
マツダ株式会社
排気システム
1か月前
マツダ株式会社
車体後部構造
18日前
マツダ株式会社
排気システム
1か月前
マツダ株式会社
排気浄化装置
2か月前
マツダ株式会社
車両用駆動装置
2か月前
マツダ株式会社
車両の上部構造
25日前
マツダ株式会社
車両用駆動装置
2か月前
マツダ株式会社
インバータ装置
1か月前
マツダ株式会社
インバータ装置
1か月前
マツダ株式会社
インバータ装置
1か月前
マツダ株式会社
車両用駆動装置
2か月前
マツダ株式会社
インバータ装置
1か月前
マツダ株式会社
車両用駆動装置
2か月前
マツダ株式会社
車両の前部構造
1か月前
マツダ株式会社
車両用駆動装置
2か月前
マツダ株式会社
冷媒循環システム
2か月前
マツダ株式会社
冷媒循環システム
2か月前
マツダ株式会社
冷媒循環システム
2か月前
マツダ株式会社
冷媒循環システム
2か月前
マツダ株式会社
冷媒循環システム
2か月前
マツダ株式会社
冷媒循環システム
2か月前
マツダ株式会社
冷媒循環システム
2か月前
マツダ株式会社
バッテリ冷却構造
4日前
マツダ株式会社
バッテリ冷却構造
4日前
マツダ株式会社
バッテリユニット
17日前
マツダ株式会社
バッテリユニット
17日前
マツダ株式会社
冷媒循環システム
2か月前
続きを見る
他の特許を見る