TOP
|
特許
|
意匠
|
商標
特許ウォッチ
Twitter
他の特許を見る
10個以上の画像は省略されています。
公開番号
2025134347
公報種別
公開特許公報(A)
公開日
2025-09-17
出願番号
2024032196
出願日
2024-03-04
発明の名称
冷媒循環システム
出願人
マツダ株式会社
代理人
個人
,
個人
,
個人
,
個人
,
個人
主分類
H02K
5/167 20060101AFI20250909BHJP(電力の発電,変換,配電)
要約
【課題】オイルを含有する冷媒によってモータの滑り軸受を潤滑する冷媒循環システムにおいて、回転軸と滑り軸受との接触を回避する。
【解決手段】CO
2
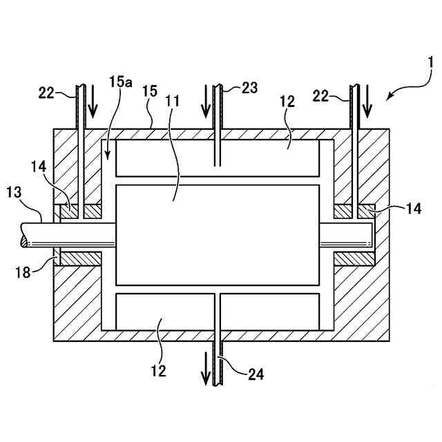
にオイルを含有させた冷媒を循環する冷媒循環システム100は、コンプレッサ3により圧縮された冷媒を用いて潤滑を行い、回転軸13を支持する滑り軸受14を備えるモータ1と、滑り軸受における周方向の複数の位置に冷媒を供給する冷媒通路22a~22dと、これら冷媒通路から供給される冷媒のオイル含有率を調整する第1流量調整バルブ30a~30dと、第1流量調整バルブを制御する制御装置80と、を有し、制御装置は、回転軸が滑り軸受に接触する可能性がある場合に、接触する可能性がある位置に対応する箇所に設けられた冷媒通路からのオイル含有率が、他の冷媒通路からのオイル含有率よりも大きくなるように第1流量調整バルブを制御する。
【選択図】図7
特許請求の範囲
【請求項1】
CO
2
にオイルを含有させた冷媒を循環する冷媒循環システムであって、
前記冷媒を圧縮するコンプレッサと、
ロータ及びステータと、前記ロータに連結された回転軸と、前記コンプレッサにより圧縮された液状の前記冷媒を用いて潤滑を行い、前記回転軸を支持する滑り軸受と、を備えるモータと、
前記冷媒を前記モータの前記滑り軸受へと供給する冷媒通路と、
前記冷媒通路から前記滑り軸受に供給される前記冷媒中の前記オイルの含有率を調整するように構成されたオイル含有率調整バルブと、
前記モータにおいて前記回転軸が前記滑り軸受に接触する可能性を判定するように構成された接触判定装置と、
前記オイル含有率調整バルブを制御するように構成された制御装置と、
を有し、
前記冷媒通路は、前記滑り軸受において周方向の複数の位置に前記冷媒を供給するように複数設けられており、
前記オイル含有率調整バルブは、複数の前記冷媒通路から供給される前記冷媒中の前記オイルの含有率をそれぞれ調整するように複数設けられており、
前記制御装置は、前記接触判定装置によって前記回転軸が前記滑り軸受に接触する可能性があると判定されたときに、前記複数の冷媒通路の中で前記回転軸が前記滑り軸受に接触する可能性がある位置に対応する箇所に設けられた1つ以上の冷媒通路からの前記オイルの含有率が、当該1つ以上の冷媒通路以外の他の冷媒通路からの前記オイルの含有率よりも大きくなるように、複数の前記オイル含有率調整バルブのそれぞれを制御するように構成されている、
ことを特徴とする冷媒循環システム。
続きを表示(約 1,300 文字)
【請求項2】
前記1つ以上の冷媒通路は、前記複数の冷媒通路の中で前記回転軸が前記滑り軸受に接触する可能性がある位置に最も近い箇所に設けられた1つの冷媒通路と、前記回転軸の回転方向において当該1つの冷媒通路の上流側に設けられた1つ以上の冷媒通路と、を含む、請求項1に記載の冷媒循環システム。
【請求項3】
前記制御装置は、前記1つ以上の冷媒通路からの前記オイルの含有率が略100%になり、前記他の冷媒通路からの前記オイルの含有率が略0%になるように、前記複数のオイル含有率調整バルブのそれぞれを制御するように構成されている、請求項1又は2に記載の冷媒循環システム。
【請求項4】
前記複数の冷媒通路は、前記滑り軸受において前記周方向に沿って等間隔にて離間して配列されている、請求項1又は2に記載の冷媒循環システム。
【請求項5】
前記接触判定装置は、前記回転軸の軸心位置を検出する軸心位置センサを備え、当該軸心位置センサの出力に基づき、前記回転軸が前記滑り軸受に接触する可能性を判定するように構成されている、請求項1又は2に記載の冷媒循環システム。
【請求項6】
前記冷媒循環システムは、車両に搭載され、
前記接触判定装置は、前記車両において前後方向、横方向、ヨー方向、ピッチ方向及びロール方向の少なくともいずれかに発生する加速度を検出する1つ以上のセンサを備え、当該1つ以上のセンサの出力に基づき、前記回転軸が前記滑り軸受に接触する可能性を判定するように構成されている、
請求項1又は2に記載の冷媒循環システム。
【請求項7】
前記冷媒循環システムは、車両に搭載され、
前記接触判定装置は、前記車両の外部情報を取得する外部情報取得装置を備え、当該外部情報取得装置により取得された前記外部情報に基づき、前記回転軸が前記滑り軸受に接触する可能性を判定するように構成されている、
請求項1又は2に記載の冷媒循環システム。
【請求項8】
前記冷媒循環システムは、前記オイルを前記冷媒通路に供給するオイル通路と、前記オイル通路に接続され、前記オイルを貯留するオイルタンクとを更に有し、前記オイルタンクは、前記冷媒に含有される前記オイルを分離して、当該オイルを貯留するように構成されている、請求項1又は2に記載の冷媒循環システム。
【請求項9】
前記冷媒通路を第1冷媒通路とすると、前記冷媒循環システムは、前記第1冷媒通路に連通し、前記コンプレッサからの前記冷媒を当該第1冷媒通路へと流す第2冷媒通路を更に有し、
前記オイル含有率調整バルブは、前記第1冷媒通路、前記第2冷媒通路及び前記オイル通路に連通しており、それにより、当該オイル含有率調整バルブを制御することで、前記第2冷媒通路からの前記冷媒と前記オイル通路からの前記オイルとを混合する割合を変えて、前記第1冷媒通路から前記滑り軸受へと供給される前記冷媒中の前記オイルの含有率を調整可能となっている、
請求項8に記載の冷媒循環システム。
発明の詳細な説明
【技術分野】
【0001】
本発明は、オイルを含有する冷媒を循環する冷媒循環システムに関する。
続きを表示(約 2,300 文字)
【背景技術】
【0002】
従来から、エアコンなどで利用される冷凍サイクルにおいて、コンプレッサや熱交換器などを介して、冷媒を循環する冷媒循環システムが用いられている。この種の冷媒循環システムでは、一般的に、コンプレッサの潤滑やシールのためにオイル(冷凍機油)を含有する冷媒が用いられており、このオイルもシステム内を循環している。例えば、特許文献1には、システムの始動時に、コンプレッサから吐出されたオイルを含む冷媒を分離してオイルを取り出し、コンプレッサの吸入側にオイルのみを供給することで、コンプレッサを十分に潤滑させるようにした技術が開示されている。
【先行技術文献】
【特許文献】
【0003】
特開2006-170457号公報
【発明の概要】
【発明が解決しようとする課題】
【0004】
ところで、例えば車両の動力源(エンジンやモータ)などの回転軸を支持する軸受として、従来から転がり軸受や滑り軸受が用いられている。ここで、電気自動車などのモータに転がり軸受を適用すると、モータの回転軸が例えば30000rpmを超える高回転数で回転するので、転がり疲労により寿命が問題となる。他方で、オイルを潤滑剤として用いる一般的な滑り軸受をモータに適用すると、モータの回転軸によるオイル攪拌抵抗の損失が大きくなる。
【0005】
したがって、本件発明者は、モータを上記したような冷媒循環システムに適用し、このシステムで循環される冷媒、特にコンプレッサによる圧縮で液状になるCO
2
冷媒などを、潤滑剤として用いる滑り軸受を、モータの回転軸に適用することを考えた。それと共に、本件発明者は、モータの滑り軸受の潤滑性を確保するために、上記したようにオイルを含有する冷媒を用いることを考えた。
【0006】
ここで、車両が衝突したときや(このときには大きな衝撃荷重が発生する)、車両において前後方向、横方向、ヨー方向、ロール方向又はピッチ方向に大きな加速度が生じたときなどには、モータの回転軸が傾くことで、回転軸が滑り軸受に接触する可能性がある。このときに、オイルを利用して滑り軸受の負荷能力を向上させることにより、回転軸と滑り軸受との接触を回避できると良い。
【0007】
本発明は、上述した従来技術の問題点を解決するためになされたものであり、オイルを含有する冷媒を循環し、この冷媒によってモータの滑り軸受を潤滑する冷媒循環システムにおいて、モータの回転軸と滑り軸受との接触を回避することを目的とする。
【課題を解決するための手段】
【0008】
上記の目的を達成するために、本発明は、CO
2
にオイルを含有させた冷媒を循環する冷媒循環システムであって、冷媒を圧縮するコンプレッサと、ロータ及びステータと、ロータに連結された回転軸と、コンプレッサにより圧縮された液状の冷媒を用いて潤滑を行い、回転軸を支持する滑り軸受と、を備えるモータと、冷媒をモータの滑り軸受へと供給する冷媒通路と、冷媒通路から滑り軸受に供給される冷媒中のオイルの含有率を調整するように構成されたオイル含有率調整バルブと、モータにおいて回転軸が滑り軸受に接触する可能性を判定するように構成された接触判定装置と、オイル含有率調整バルブを制御するように構成された制御装置と、を有し、冷媒通路は、滑り軸受において周方向の複数の位置に冷媒を供給するように複数設けられ、オイル含有率調整バルブは、複数の冷媒通路から供給される冷媒中のオイルの含有率をそれぞれ調整するように複数設けられており、制御装置は、接触判定装置によって回転軸が滑り軸受に接触する可能性があると判定されたときに、複数の冷媒通路の中で回転軸が滑り軸受に接触する可能性がある位置に対応する箇所に設けられた1つ以上の冷媒通路からのオイルの含有率が、当該1つ以上の冷媒通路以外の他の冷媒通路からのオイルの含有率よりも大きくなるように、複数のオイル含有率調整バルブのそれぞれを制御するように構成されている、ことを特徴とする。
【0009】
このように構成された本発明では、制御装置は、回転軸が滑り軸受に接触する可能性がある場合に、接触する可能性がある位置に対応する箇所に設けられた1つ以上の冷媒通路からのオイル含有率を大きくするので、この冷媒通路付近の滑り軸受において冷媒の粘度を局所的に高くすることができる。つまり、回転軸が滑り軸受に接触する可能性がある位置付近の負荷能力を局所的に高くすることができる。これにより、回転軸と滑り軸受との接触を的確に回避することができる。
【0010】
本発明において、好ましくは、1つ以上の冷媒通路は、複数の冷媒通路の中で回転軸が滑り軸受に接触する可能性がある位置に最も近い箇所に設けられた1つの冷媒通路と、回転軸の回転方向において当該1つの冷媒通路の上流側に設けられた1つ以上の冷媒通路と、を含む。
このように構成された本発明によれば、接触する可能性がある位置に最も近い箇所に設けられた冷媒通路のオイル含有率に加えて、この冷媒通路の上流側の冷媒通路のオイル含有率も大きくするので、回転軸が滑り軸受に接触する可能性がある位置に高粘度の冷媒を的確に流すことができ、この位置付近の負荷能力を効果的に高くすることが可能となる。
(【0011】以降は省略されています)
この特許をJ-PlatPat(特許庁公式サイト)で参照する
関連特許
日本精機株式会社
サージ保護回路
3日前
トヨタ自動車株式会社
固定子
1日前
トヨタ自動車株式会社
製造装置
1日前
個人
連続ガウス加速器形磁力増幅装置
3日前
カヤバ株式会社
筒型リニアモータ
2日前
株式会社ミツバ
ブラシレスモータ
2日前
個人
太陽エネルギー収集システム
1日前
東京瓦斯株式会社
通信装置
2日前
トヨタ自動車株式会社
被膜形成装置
1日前
ASTI株式会社
電力変換装置
1日前
東京瓦斯株式会社
給電システム
2日前
キヤノン株式会社
無線電力伝送システム
1日前
株式会社アイシン
駆動装置
1日前
大和ハウス工業株式会社
システム
2日前
シャープ株式会社
表示装置
1日前
株式会社アイシン
保護装置
1日前
ローム株式会社
駆動回路
2日前
トヨタ自動車株式会社
スロット紙の成形装置
1日前
大阪瓦斯株式会社
動作制御装置
1日前
本田技研工業株式会社
電気機器
1日前
大阪瓦斯株式会社
蓄電制御装置
1日前
株式会社TMEIC
電力変換装置
2日前
本田技研工業株式会社
電気機器
2日前
本田技研工業株式会社
電気機器
1日前
本田技研工業株式会社
電気機器
2日前
矢崎総業株式会社
電気接続箱
2日前
矢崎総業株式会社
電気接続箱
2日前
矢崎総業株式会社
電気接続箱
2日前
株式会社アイシン
車両用制御装置
2日前
トヨタ自動車株式会社
バッテリ制御装置
1日前
本田技研工業株式会社
回転電機のロータ
2日前
株式会社アイシン
車両用制御装置
2日前
ヨツギ株式会社
鳥害防止具
1日前
株式会社富士通ゼネラル
モータ制御装置
1日前
未来工業株式会社
取着体、及び配線用ポ-ル装置
1日前
本田技研工業株式会社
駆動システム
1日前
続きを見る
他の特許を見る