TOP
|
特許
|
意匠
|
商標
特許ウォッチ
Twitter
他の特許を見る
公開番号
2025151131
公報種別
公開特許公報(A)
公開日
2025-10-09
出願番号
2024052396
出願日
2024-03-27
発明の名称
インバータ装置
出願人
マツダ株式会社
代理人
弁理士法人前田特許事務所
主分類
H02M
7/48 20070101AFI20251002BHJP(電力の発電,変換,配電)
要約
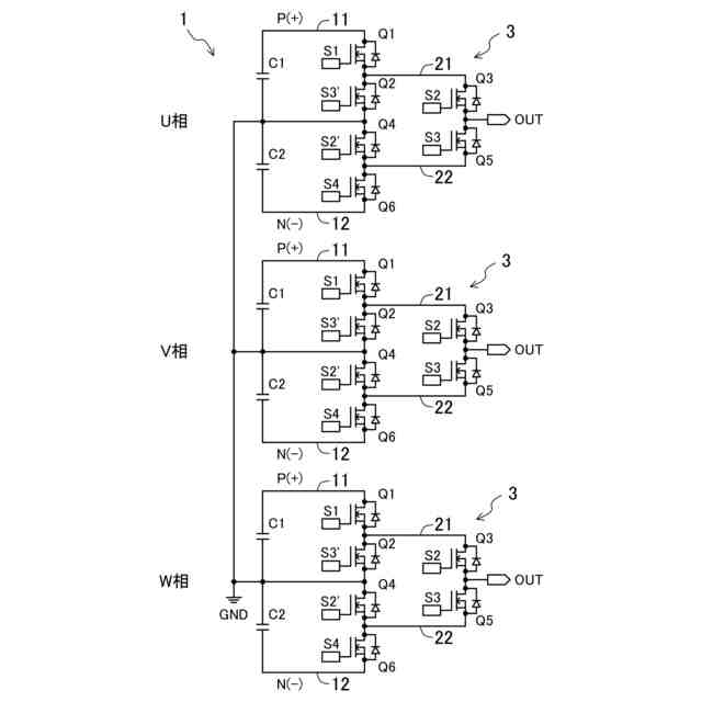
【課題】インバータ装置の自己インダクタンスを低減する。
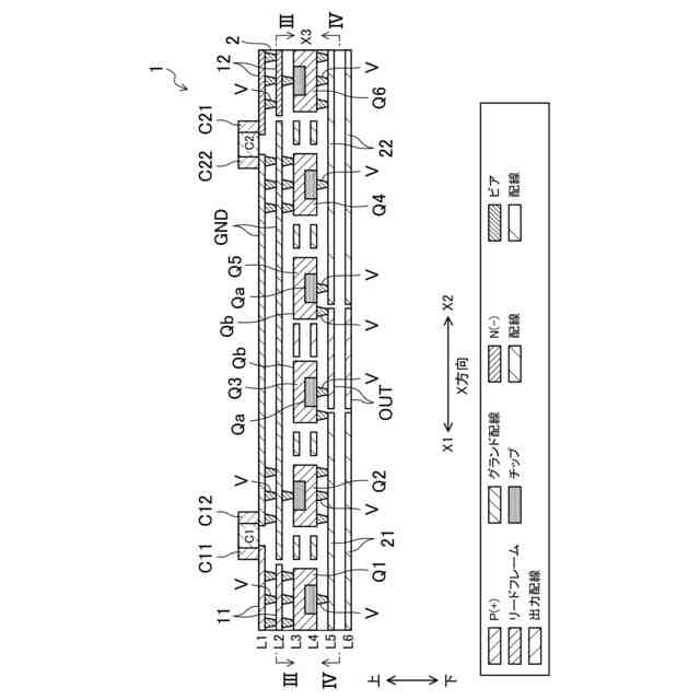
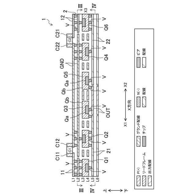
【解決手段】インバータ装置1は、第1配線層と第2配線層とを有する配線基板と、中間層に並べて配置され、一方の面にソースが設けられ、他方の面にドレインが設けられ複数のトランジスタQとを備える。複数のトランジスタQは、一方の面が第1配線層に対向して配置された第1トランジスタと、他方の面が第1配線層に対向して配置された第2トランジスタとを含み、第1トランジスタのソースと第2トランジスタのドレインとが、第1配線層の第1配線で接続されている。
【選択図】図2
特許請求の範囲
【請求項1】
第1配線層と第2配線層とを有する配線基板と、
前記第1配線層と前記第2配線層の間の中間層に並べて配置され、一方の面にソースが設けられ、他方の面にドレインが設けられた複数のトランジスタとを備え、
前記複数のトランジスタは、前記一方の面が前記第1配線層に対向して配置された第1トランジスタと、前記他方の面が前記第1配線層に対向して配置された第2トランジスタとを含み、
前記第1トランジスタのソースと前記第2トランジスタのドレインとが、前記第1配線層の第1配線で接続されている、インバータ装置。
続きを表示(約 1,100 文字)
【請求項2】
請求項1に記載のインバータ装置において、
前記複数のトランジスタは、前記一方の面が前記第1配線層に対向して配置された第3トランジスタを含み、
前記第1トランジスタのソースおよび前記第2トランジスタのドレインと、前記第3トランジスタのソースとが前記第1配線で接続されている、インバータ装置。
【請求項3】
請求項2に記載のインバータ装置において、
前記第1トランジスタ、前記第2トランジスタおよび前記第3トランジスタは、平面視において、直線状に配置されている、インバータ装置。
【請求項4】
第1配線層と第2配線層とを有する配線基板と、
前記第1配線層と前記第2配線層の間の中間層に並べて配置され、一方の面にソースと、当該ソースを囲むドレインとが設けられ、他方の面にドレインが設けられた複数のトランジスタとを備え、
前記複数のトランジスタは、
前記一方の面が前記第1配線層に対向して配置され、ソースが前記第1配線層の第1配線に接続された第1トランジスタと、
前記他方の面が前記第1配線層に対向して配置され、ソースが前記第2配線層の第2配線に接続され、ドレインが前記第1配線に接続された第2トランジスタと、
前記一方の面が前記第1配線層に対向して配置され、ソースが前記第1配線層の出力配線に接続され、ドレインが前記第1配線に接続された第3トランジスタと、
前記一方の面が前記第1配線層に対向して配置され、ソースが前記第1配線層の第3配線に接続され、ドレインが前記出力配線に接続された第4トランジスタと、
前記一方の面が前記第1配線層に対向して配置され、ソースが前記第3配線に接続され、ドレインが前記第2配線に接続された第5トランジスタと、
前記他方の面が前記第1配線層に対向して配置され、ドレインが前記第3配線に接続された第6トランジスタとを含む、インバータ装置。
【請求項5】
請求項4に記載のインバータ装置において、
前記インバータ装置は、それぞれに前記複数のトランジスタを備える3相のインバータ回路を備え、
それぞれの前記インバータ回路において、前記複数のトランジスタは、平面視において、第1方向に直線状に並べて配置されており、
前記3相のインバータ回路は、平面視において前記第1方向と直交する第2方向に並べて配置されており、前記第2配線同士が、前記第2配線層において互いに接続されている、インバータ装置。
発明の詳細な説明
【技術分野】
【0001】
ここに開示された技術は、インバータ装置に関する技術分野に属する。
続きを表示(約 1,200 文字)
【背景技術】
【0002】
インバータ装置のパワー密度の向上に伴う高出力化が進み、インバータ装置のインダクタンスを低減する技術が求められている。
【0003】
特許文献1には、直流-交流変換のインバータにおいて、配線インダクタンスを低減させるために、2本の配線導体を近接かつ平行に配置し、それぞれに異なる方向の電流を流すことで、相互インダクタンスを用いて配線インダクタンスを減少させる技術が示されている。
【先行技術文献】
【特許文献】
【0004】
特開2003-259656号公報
【発明の概要】
【発明が解決しようとする課題】
【0005】
従来のインバータ装置は、トランジスタを基板の表面に実装して構成されている。しかしながら、トランジスタを基板表面に実装した場合、トランジスタと基板とを接続するボンディングワイヤの影響から自己インダクタンスを十分に低減できないという問題がある。
【0006】
ここに開示された技術は斯かる点に鑑みてなされたものであり、インダクタンスが低減されたインバータ装置を提供することにある。
【課題を解決するための手段】
【0007】
前記課題を解決するために、ここに開示された技術では、インバータ装置を対象として、第1配線層と第2配線層とを有する配線基板と、前記第1配線層と前記第2配線層の間の中間層に並べて配置され、一方の面にソースが設けられ、他方の面にドレインが設けられた複数のトランジスタとを備え、前記複数のトランジスタは、前記一方の面が前記第1配線層に対向して配置された第1トランジスタと、前記他方の面が前記第1配線層に対向して配置された第2トランジスタとを含み、前記第1トランジスタのソースと前記第2トランジスタのドレインとが、前記第1配線層の第1配線で接続されている、構成とした。
【0008】
このように、第1配線層に対して、第1トランジスタの一方の面と第2トランジスタの他方の面を対向させて配置する、すなわち、第1トランジスタと第2トランジスタを反対向きに配置することで、第1トランジスタのソースと第2トランジスタのドレイン間を接続する第1配線を、短くかつ幅広にすることができる。これにより、配線インダクタンスを低減することができる。
【0009】
さらに、第1配線を、幅広にすることができるので、第1トランジスタのソースおよび第2トランジスタのドレインと第1配線とを接続するビアを増やすことができるので、ビアによる自己インダクタンスの影響を低減することができる。
【発明の効果】
【0010】
以上説明したように、ここに開示された技術によると、インバータ装置のインダクタンスを低減することができる。
【図面の簡単な説明】
(【0011】以降は省略されています)
この特許をJ-PlatPat(特許庁公式サイト)で参照する
関連特許
マツダ株式会社
二次電池
27日前
マツダ株式会社
エンジン
28日前
マツダ株式会社
車載機器
27日前
マツダ株式会社
二次電池
27日前
マツダ株式会社
車体後部構造
今日
マツダ株式会社
運転支援装置
27日前
マツダ株式会社
運転支援装置
27日前
マツダ株式会社
運転支援装置
27日前
マツダ株式会社
インバータ装置
28日前
マツダ株式会社
車両の前部構造
27日前
マツダ株式会社
インバータ装置
28日前
マツダ株式会社
車両の上部構造
7日前
マツダ株式会社
二次電池の制御装置
27日前
マツダ株式会社
エンジンの制御装置
28日前
マツダ株式会社
被覆金属材の試験方法
28日前
マツダ株式会社
エンジンの燃焼室構造
28日前
マツダ株式会社
エンジンの燃焼室構造
28日前
マツダ株式会社
バッテリ温度制御システム
27日前
マツダ株式会社
車両のパワートレイン構造
28日前
マツダ株式会社
車両のパワートレイン構造
28日前
マツダ株式会社
車両のパワートレイン構造
28日前
マツダ株式会社
車両のパワートレイン構造
27日前
マツダ株式会社
車両の合流位置評価装置及び方法
27日前
マツダ株式会社
車両の合流位置評価装置及び方法
27日前
マツダ株式会社
車両の合流位置評価装置及び方法
27日前
マツダ株式会社
車両の合流位置評価装置及び方法
27日前
マツダ株式会社
車載エンジンのCO2回収システム
27日前
マツダ株式会社
車両のドア構造およびその製造方法
7日前
マツダ株式会社
車載エンジンのCO2回収システム
27日前
マツダ株式会社
電動自動車のバッテリマネジメント装置
27日前
マツダ株式会社
車両の上部構造、および車両の上部構造の製造方法
7日前
マツダ株式会社
樹脂成形品の解析方法、解析装置、解析用プログラム及び記録媒体
27日前
マツダ株式会社
車両の合流位置評価方法並びに合流位置評価のためのモデル生成方法及び装置
27日前
マツダ株式会社
車両の合流位置評価方法並びに合流位置評価のためのモデル生成方法及び装置
27日前
マツダ株式会社
ゴム材料の応力-ひずみ特性予測方法、装置、プログラム、記録媒体及び設計方法
27日前
マツダ株式会社
被覆金属材の耐食性試験方法、耐食性試験装置、耐食性試験用プログラム及び記録媒体
28日前
続きを見る
他の特許を見る