TOP
|
特許
|
意匠
|
商標
特許ウォッチ
Twitter
他の特許を見る
10個以上の画像は省略されています。
公開番号
2025133439
公報種別
公開特許公報(A)
公開日
2025-09-11
出願番号
2024031387
出願日
2024-03-01
発明の名称
車両用駆動装置
出願人
マツダ株式会社
代理人
弁理士法人前田特許事務所
主分類
H02K
11/225 20160101AFI20250904BHJP(電力の発電,変換,配電)
要約
【課題】モータのステータコイルとロータとの間のギャップから放出される漏れ磁束がレゾルバに悪影響を及ぼしにくくする。
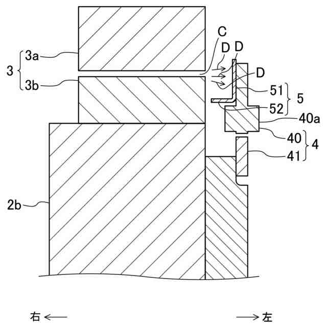
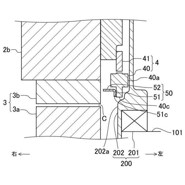
【解決手段】レゾルバ4は、モータ3のステータコイル3aとロータ3bとの間に形成されているギャップC近傍まで延びるレゾルバステータ40と、モータ3のロータ3bと共に回転するレゾルバロータ41とを有している。遮蔽部材5は、ギャップCとレゾルバロータ41との間の空間において径方向に延びるように配置される第1遮蔽板部51と、第1遮蔽板部51からモータ3のロータ3bに接近する方向に延びる第2遮蔽板部52とを有している。
【選択図】図5
特許請求の範囲
【請求項1】
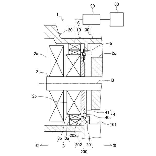
シャフト、当該シャフトを回転駆動するモータ、当該モータの回転状態を検出するレゾルバ及び前記モータからの漏れ磁束が前記レゾルバに放射されるのを抑制する非磁性体からなる遮蔽部材を備えた車両用駆動装置であって、
前記レゾルバは、前記モータのステータコイルとロータとの間に形成されているギャップ近傍まで延びるレゾルバステータと、前記モータのロータと共に回転するレゾルバロータとを有し、
前記遮蔽部材は、前記ギャップと前記レゾルバロータとの間の空間において前記シャフトの径方向に延びるように配置される第1遮蔽板部と、前記第1遮蔽板部から前記モータのロータに接近する方向に延びる第2遮蔽板部とを有している、車両用駆動装置。
続きを表示(約 610 文字)
【請求項2】
請求項1に記載の車両用駆動装置において、
前記第1遮蔽板部は、当該第1遮蔽板部の側面が前記ギャップと対向するように配置され、
前記第1遮蔽板部の径方向外縁部は、前記ギャップよりも径方向外方に達し、
前記第1遮蔽板部の径方向内縁部は、前記ギャップよりも径方向内方に達している、車両用駆動装置。
【請求項3】
請求項2に記載の車両用駆動装置において、
前記第2遮蔽板部は、前記第1遮蔽板部における前記シャフトの径方向内縁部から前記モータのロータに接近する方向に延びている、車両用駆動装置。
【請求項4】
請求項1に記載の車両用駆動装置において、
前記第2遮蔽板部は、前記モータのロータの周方向に連続した環状をなしている、車両用駆動装置。
【請求項5】
請求項1に記載の車両用駆動装置において、
前記第2遮蔽板部は、前記ギャップよりも径方向内側に配置されている、車両用駆動装置。
【請求項6】
請求項1に記載の車両用駆動装置において、
前記モータおよび前記レゾルバを収容するケースをさらに備え、
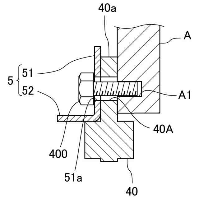
前記第1遮蔽板部と、前記第2遮蔽板部とは一体成形され、
前記第1遮蔽板部は、前記レゾルバステータと共に共通の締結部材によって前記ケースに締結されている、車両用駆動装置。
発明の詳細な説明
【技術分野】
【0001】
本開示は、車両に搭載される車両用駆動装置に関する。
続きを表示(約 1,700 文字)
【背景技術】
【0002】
例えば特許文献1には、電気自動車やハイブリッド自動車等に搭載される駆動装置として、駆動用モータを備えたものが開示されている。特許文献1のモータは、ケースに固定されたステータと、ステータの内側で回転可能に配設されたロータとで構成されている。ケースの内部には、ロータを支持するロータ軸の回転数を検出するためのレゾルバが配設されている。このレゾルバは、モータのコイルエンドの内側に位置しており、レゾルバステータおよびレゾルバロータと、モータのコイルエンドから放出される漏れ磁束を抑制するための遮蔽部材とを有している。
【先行技術文献】
【特許文献】
【0003】
特許第5488127号公報
【発明の概要】
【発明が解決しようとする課題】
【0004】
特許文献1のレゾルバは、モータのコイルエンドの内側に配設されるものなので、モータのロータの外径とレゾルバの外径とを比較した時、レゾルバの外径の方が小さい。このため、モータのコイルとロータとの間に形成されているギャップからレゾルバが径方向内側に離れることになる。
【0005】
ところで、モータからの漏れ磁束は、モータのコイルとロータとの間に形成されているギャップから主に放出されることになるので、特許文献1のようにレゾルバの外径が小さい場合には漏れ磁束による悪影響が少なくて済むと考えられる。
【0006】
しかしながら、駆動装置の内部のレイアウト等に起因して、レゾルバのステータがモータのステータコイルとロータとの間のギャップ近傍に達する構造となる場合には、当該ギャップから放出される漏れ磁束がレゾルバに悪影響を与えてしまう度合いが大きくなり、十分な対策が必要になる。
【0007】
本開示は、かかる点に鑑みたものであり、その目的とするところは、モータのステータコイルとロータとの間のギャップから放出される漏れ磁束がレゾルバに悪影響を及ぼさないようにすることにある。
【課題を解決するための手段】
【0008】
上記目的を達成するために、本開示の一態様では、シャフト、当該シャフトを回転駆動するモータ、当該モータの回転状態を検出するレゾルバ及び前記モータからの漏れ磁束が前記レゾルバに放射されるのを抑制する非磁性体からなる遮蔽部材を備えた車両用駆動装置を前提とすることができる。前記レゾルバは、前記モータのステータコイルとロータとの間に形成されているギャップ近傍まで延びるレゾルバステータと、前記モータのロータと共に回転するレゾルバロータとを有している。前記遮蔽部材は、前記ギャップと前記レゾルバロータとの間の空間において前記シャフトの径方向に延びるように配置される第1遮蔽板部と、前記第1遮蔽板部から前記モータのロータに接近する方向に延びる第2遮蔽板部とを有している。
【0009】
この構成によれば、モータのステータコイルとロータとの間に形成されているギャップから放出される漏れ磁束がレゾルバに達するのを第1遮蔽板部によって抑制することが可能になるとともに、第2遮蔽板部によってもレゾルバに達するのを抑制することが可能になる。第1遮蔽板部は径方向に延びる一方、第2遮蔽板部はモータのロータに接近する方向に延びていて両遮蔽板部の延びる方向が異なっているので、ギャップから放出される漏れ磁束の遮蔽効果が高まる。
【0010】
前記第1遮蔽板部は、当該第1遮蔽板部の側面が前記ギャップと対向するように配置されていてもよい。この場合、前記第1遮蔽板部の径方向外縁部は、前記ギャップよりも径方向外方に達するように配置することができ、また、前記第1遮蔽板部の径方向内縁部は、前記ギャップよりも径方向内方に達するように配置することができる。これにより、ギャップから軸方向に放出される漏れ磁束を第1遮蔽板部によって確実に抑制することができる。
(【0011】以降は省略されています)
この特許をJ-PlatPat(特許庁公式サイト)で参照する
関連特許
マツダ株式会社
車両の下部車体構造
5日前
マツダ株式会社
モータ軸受システム
5日前
マツダ株式会社
車両の下部車体構造
1日前
マツダ株式会社
車両の下部車体構造
1日前
マツダ株式会社
車両の下部車体構造
1日前
マツダ株式会社
車両の下部車体構造
1日前
マツダ株式会社
車両の下部車体構造
5日前
マツダ株式会社
モータ軸受システム
5日前
マツダ株式会社
車両の下部車体構造
5日前
マツダ株式会社
車両運転支援システム
1日前
マツダ株式会社
車両運転支援システム
15日前
マツダ株式会社
車両運転支援システム
5日前
マツダ株式会社
車両運転支援システム
5日前
マツダ株式会社
車両用サンシェード装置
9日前
マツダ株式会社
車両用サンシェード装置
9日前
マツダ株式会社
車両用サンシェード装置
9日前
マツダ株式会社
車両用サンシェード装置
9日前
マツダ株式会社
積層塗膜及びその形成方法
9日前
マツダ株式会社
エンジンの排気バルブ制御装置
1日前
マツダ株式会社
積層鉄心の製造装置及び製造方法
2日前
マツダ株式会社
異種金属板の接合方法、接合装置、及び接合体
9日前
マツダ株式会社
発泡樹脂成形品の気泡成長予測方法、気泡成長予測装置、気泡成長予測プログラム、及び記録媒体
15日前
マツダ株式会社
発泡樹脂成形品の気泡成長予測方法、気泡成長予測装置、気泡成長予測プログラム、及び記録媒体
15日前
マツダ株式会社
発泡樹脂成形品の気泡成長予測方法、気泡成長予測装置、気泡成長予測プログラム、及び記録媒体
15日前
マツダ株式会社
発泡樹脂成形品の気泡成長予測方法、気泡成長予測装置、気泡成長予測プログラム、及び記録媒体
15日前
マツダ株式会社
製造工程の解析方法、解析装置、解析プログラム及び該解析プログラムを記憶しているコンピュータ読取可能な記憶媒体
9日前
マツダ株式会社
製造工程の解析方法、解析装置、解析プログラム及び該解析プログラムを記憶しているコンピュータ読取可能な記憶媒体
9日前
マツダ株式会社
防錆性能解析方法、防錆性能解析システム、防錆性能管理プログラム及び該防錆性能管理プログラムを記憶しているコンピュータ読取可能な記憶媒体
9日前
個人
電源装置
16日前
個人
バッテリ内蔵直流電源
15日前
株式会社FUJI
制御盤
5日前
オムロン株式会社
電源回路
9日前
オムロン株式会社
電源回路
9日前
オムロン株式会社
電源回路
9日前
トヨタ自動車株式会社
回転子
1日前
ニデック株式会社
モータの制御方法
23日前
続きを見る
他の特許を見る