TOP
|
特許
|
意匠
|
商標
特許ウォッチ
Twitter
他の特許を見る
公開番号
2025167865
公報種別
公開特許公報(A)
公開日
2025-11-07
出願番号
2024072844
出願日
2024-04-26
発明の名称
バッテリユニット
出願人
マツダ株式会社
代理人
弁理士法人前田特許事務所
主分類
H01M
50/209 20210101AFI20251030BHJP(基本的電気素子)
要約
【課題】バッテリケースに収容されたバッテリセルを前突及び側突から保護する。
【解決手段】バッテリユニットは、バッテリケースにバッテリセルを収容した状態で車両のフロアパネルの下方に配置される。バッテリケースは、前後方向及び左右方向のうちの一方である第1方向に平行に延びる一対の第1フレームと、他方である第2方向に平行に延びる一対の第2フレームと、有し、バッテリセルを囲むように四角枠状に組み合わされる。第1フレームは、第2フレームに対面するように第2方向に臨む第1当たり面を含む。第2フレームは、第1フレームに対面するように第1方向に臨む第2当たり面を含む。第1フレームにおける第2フレームに対する第1接続部には、第2フレームにおける第1フレームに対する第2接続部の少なくとも一部を収容する第1空間を形成する階段状の第1段差部が設けられる。第1当たり面の少なくとも一部は、第1段差部に設けられる。
【選択図】図4
特許請求の範囲
【請求項1】
バッテリケースにバッテリセルを収容した状態で車両のフロアパネルの下方に配置されるバッテリユニットであって、
前記バッテリケースは、
前後方向及び左右方向のうちの一方である第1方向に平行に延びる一対の第1フレームと、
前後方向及び左右方向のうちの他方である第2方向に平行に延びる一対の第2フレームと、有し、
前記バッテリケースは、前記第1フレームと前記第2フレームとがバッテリセルを囲むように、四角枠状に組み合わされ、
前記第1フレームは、前記第2フレームに対面するように前記第2方向に臨む第1当たり面を含み、
前記第2フレームは、前記第1フレームに対面するように前記第1方向に臨む第2当たり面を含み、
前記第1フレームにおける前記第2フレームに対する第1接続部には、前記第2フレームにおける前記第1フレームに対する第2接続部の少なくとも一部を収容する第1空間を形成する階段状の第1段差部が設けられ、
前記第1当たり面の少なくとも一部は、前記第1段差部に設けられている、バッテリユニット。
続きを表示(約 1,200 文字)
【請求項2】
前記第2接続部には、前記第1接続部の少なくとも一部を収容する第2空間を形成する階段状の第2段差部が設けられ、
前記第2当たり面の少なくとも一部は、前記第2段差部に設けられ、
前記第1段差部と前記第2段差部とは、互いに係合している、請求項1に記載のバッテリユニット。
【請求項3】
前記第1段差部は、上下方向に見て階段状に形成されている、請求項1又は2に記載のバッテリユニット。
【請求項4】
前記第1段差部は、前記第2方向に見て階段状に形成されている、請求項1又は2に記載のバッテリユニット。
【請求項5】
前記第2段差部は、上下方向に見て階段状に形成されている、請求項2に記載のバッテリユニット。
【請求項6】
前記第2段差部は、前記第1方向に見て階段状に形成されている、請求項2に記載のバッテリユニット。
【請求項7】
前記バッテリケースは、
前記第1フレーム及び前記第2フレームのうちの一方であり且つ左右方向に平行に延びる一対の横フレームと、
前記第1フレーム及び前記第2フレームのうちの他方であり且つ前後方向に平行に延びる一対の縦フレームと、を有し、
前記横フレームは、前記第1当たり面及び前記第2当たり面のうちの一方である横フレーム側当たり面を含み、
前記車両は、前記フロアパネルと伴に車体を構成するとともに、前記フロアパネルの前方から左右方向に離れて前方に延びる一対のフロントサイドフレームを有し、
前側に位置する前記横フレームの前記横フレーム側当たり面は、前記縦フレームに対面するように後方に臨むとともに、前記フロントサイドフレームの後端部と上下方向において重なる位置にある、請求項1又は2に記載のバッテリユニット。
【請求項8】
前記バッテリケースは、
前記第1フレーム及び前記第2フレームのうちの一方であり且つ前後方向に平行に延びる一対の縦フレームと、
前記第1フレーム及び前記第2フレームのうちの他方であり且つ左右方向に平行に延びる一対の横フレームと、を有し、
前記縦フレームは、前記第1フレーム側当たり面及び前記第2フレーム側当たり面のうちの一方である縦フレーム側当たり面を含み、
前記車両は、前記フロアパネルと伴に車体を構成するとともに、前記フロアパネルの左右方向の両側の縁部に沿って前後方向に延びる一対のサイドシルを有し、
前記縦フレームは、前記サイドシルに対して固定具によって固定され、
前記縦フレームの前記縦フレーム側当たり面は、前記横フレームに対面するように左右方向に臨むとともに、前記固定具と上下方向において重なる位置にある、請求項1又は2に記載のバッテリユニット。
発明の詳細な説明
【技術分野】
【0001】
本開示は、バッテリケースにバッテリセルを収容した状態で車両のフロアパネルの下方に配置されるバッテリユニットに、関する。
続きを表示(約 1,500 文字)
【背景技術】
【0002】
この種のバッテリユニットは、例えば、特許文献1に開示されている。特許文献1に開示のバッテリユニットは、一対の中空断面形状からなる第1及び第2縦フレームと、第1及び第2縦フレームの両端部にそれぞれコーナーブラケットを介して連結した一対の中空断面形状からなる第1及び第2横フレームと、を備える。コーナーブラケットは、縦フレーム及び横フレームの中空部に挿入される挿入部と、車体への取付部と、を有する。
【0003】
特許文献1に開示のバッテリユニットでは、縦フレームの端部と横フレームの端部との間にコーナーブラケットを介在させることによって、縦横のどのような方向からの衝撃荷重に対してもフレーム全体に衝撃力を分散させることができる。
【先行技術文献】
【特許文献】
【0004】
特開2016-97851号公報
【発明の概要】
【発明が解決しようとする課題】
【0005】
特許文献1に開示のバッテリユニットでは、縦フレームの端部と横フレームの端部との間にコーナーブラケットが介在するものの、基本的には、縦フレームの端部と横フレームの端部とを単に突き合せた構成にすぎない。
【0006】
特許文献1に開示のバッテリユニットでは、車両に対して前突が生じた場合、衝突荷重を(左右方向に延びる)横フレームから(前後方向に延びる)縦フレームへ十分に伝達することができず、逆に、車両に対して側突が生じた場合、衝突荷重を縦フレームから横フレームへ十分に伝達することができない。
【0007】
特許文献1に開示のバッテリユニットでは、車両に対して前突及び側突のいずれが生じた場合であっても、バッテリケースに収容されたバッテリセルを十分に保護できない。
【0008】
本開示の目的は、車両のフロアパネルの下方に配置されるバッテリユニットにおいて、バッテリケースに収容されたバッテリセルを、前突及び側突の両方から保護することにある。
【課題を解決するための手段】
【0009】
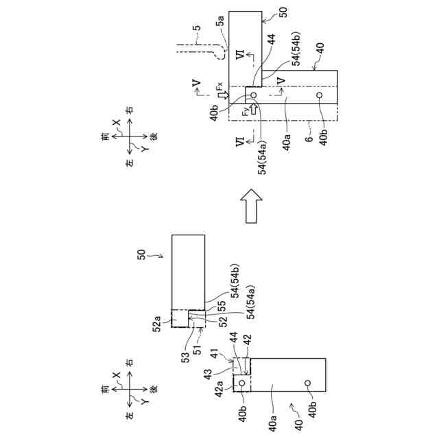
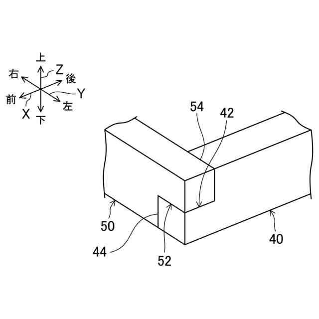
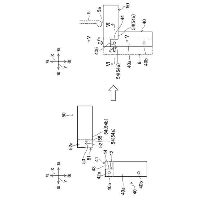
本開示に係るバッテリユニットは、バッテリケースにバッテリセルを収容した状態で車両のフロアパネルの下方に配置されるバッテリユニットであって、前記バッテリケースは、前後方向及び左右方向のうちの一方である第1方向に平行に延びる一対の第1フレームと、前後方向及び左右方向のうちの他方である第2方向に平行に延びる一対の第2フレームと、有し、前記バッテリケースは、前記第1フレームと前記第2フレームとがバッテリセルを囲むように、四角枠状に組み合わされ、前記第1フレームは、前記第2フレームに対面するように前記第2方向に臨む第1当たり面を含み、前記第2フレームは、前記第1フレームに対面するように前記第1方向に臨む第2当たり面を含み、前記第1フレームにおける前記第2フレームに対する第1接続部には、前記第2フレームにおける前記第1フレームに対する第2接続部の少なくとも一部を収容する第1空間を形成する階段状の第1段差部が設けられ、前記第1当たり面の少なくとも一部は、前記第1段差部に設けられている。
【0010】
第1方向を左右方向とし第2方向を前後方向とすると仮定する。車両に前突が生じると、前突による衝突荷重は、第1フレームに先ず与えられ、その後、第1フレームの第1当たり面を介して、第2フレームに伝達される。一方、車両に側突が生じると、側突による衝突荷重は、第2フレームに先ず与えられ、その後、第2フレームの第2当たり面を介して、第1フレームに伝達される。
(【0011】以降は省略されています)
この特許をJ-PlatPat(特許庁公式サイト)で参照する
関連特許
マツダ株式会社
エンジン
1か月前
マツダ株式会社
二次電池
1か月前
マツダ株式会社
回転電機
6日前
マツダ株式会社
二次電池
1か月前
マツダ株式会社
車載機器
1か月前
マツダ株式会社
運転支援装置
1か月前
マツダ株式会社
運転支援装置
1か月前
マツダ株式会社
車体後部構造
28日前
マツダ株式会社
運転支援装置
1か月前
マツダ株式会社
インバータ装置
1か月前
マツダ株式会社
車両の上部構造
1か月前
マツダ株式会社
車両の下部構造
8日前
マツダ株式会社
車両の下部構造
8日前
マツダ株式会社
インバータ装置
1か月前
マツダ株式会社
車両の下部構造
6日前
マツダ株式会社
車両の下部構造
6日前
マツダ株式会社
インバータ装置
1か月前
マツダ株式会社
車両の前部構造
7日前
マツダ株式会社
車両の前部構造
7日前
マツダ株式会社
車両の前部構造
1か月前
マツダ株式会社
インバータ装置
1か月前
マツダ株式会社
バッテリ冷却構造
14日前
マツダ株式会社
バッテリユニット
27日前
マツダ株式会社
バッテリユニット
27日前
マツダ株式会社
バッテリ冷却構造
14日前
マツダ株式会社
車両用フレーム部材
7日前
マツダ株式会社
車両用フレーム部材
7日前
マツダ株式会社
二次電池の制御装置
1か月前
マツダ株式会社
エンジンの制御装置
1か月前
マツダ株式会社
被覆金属材の試験方法
1か月前
マツダ株式会社
エンジンの燃焼室構造
1か月前
マツダ株式会社
エンジンの燃焼室構造
1か月前
マツダ株式会社
車両の状態量検出装置
1日前
マツダ株式会社
自動変速機の油路構造
1か月前
マツダ株式会社
運転者の覚醒維持装置
7日前
マツダ株式会社
塗布方法及び塗布装置
14日前
続きを見る
他の特許を見る