TOP
|
特許
|
意匠
|
商標
特許ウォッチ
Twitter
他の特許を見る
10個以上の画像は省略されています。
公開番号
2025151873
公報種別
公開特許公報(A)
公開日
2025-10-09
出願番号
2024053492
出願日
2024-03-28
発明の名称
エンジンの燃焼室構造
出願人
マツダ株式会社
代理人
弁理士法人三協国際特許事務所
主分類
F02B
23/10 20060101AFI20251002BHJP(燃焼機関;熱ガスまたは燃焼生成物を利用する機関設備)
要約
【課題】熱効率を高めることのできるエンジンの燃焼室構造を提供する。
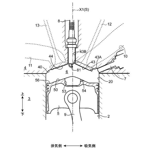
【解決手段】ピストン5の冠面50、気筒の周面40、およびペントルーフ型の天井面40によって区画される燃焼室6と、点火プラグ8とを備えたエンジンにおいて、燃焼室6の天井面50に、燃焼室6に空気を導入するための吸気ポート10および燃焼室6から排ガスを導出するための排気ポート11を開口し、ピストン5の冠面50の中央部に下方に凹むキャビティ53を形成するとともに、燃焼室6において吸気ポート10が配設される側を吸気側、排気ポート11が配設される側を排気側とするとき、燃焼室6の天井面40の排気側の隅部に、上方に凹み湾曲形状を呈する凹部61を形成する。
【選択図】図1
特許請求の範囲
【請求項1】
ピストンの冠面、前記ピストンが上下に摺動可能に収容される気筒の周面、およびシリンダヘッドに形成されたペントルーフ型の天井面によって区画される燃焼室と、当該燃焼室に形成された燃料と空気の混合気に点火を行う点火プラグとを備えたエンジンの燃焼室構造であって、
前記燃焼室の天井面には、前記燃焼室に空気を導入するための吸気ポートおよび前記燃焼室から排ガスを導出するための排気ポートが開口しており、
前記ピストンの冠面の中央部には下方に凹むキャビティが形成されており、
前記点火プラグは、その先端に設けられた電極部が前記燃焼室の天井面から前記キャビティを臨むように配設されており、
前記燃焼室において前記吸気ポートが配設される側を吸気側、前記排気ポートが配設される側を排気側とするとき、前記燃焼室の天井面の排気側の隅部には、上方に凹み湾曲形状を呈する凹部が形成されている、ことを特徴とするエンジンの燃焼室構造。
続きを表示(約 680 文字)
【請求項2】
請求項1に記載のエンジンの燃焼室構造において、
前記燃焼室の天井面には、前記凹部の吸気側に隣接する位置に、上方に凹み湾曲形状を呈する内側凹部が形成されている、ことを特徴とするエンジンの燃焼室構造。
【請求項3】
請求項2に記載のエンジンの燃焼室構造において、
前記内側凹部は、前記凹部よりも浅い、ことを特徴とするエンジンの燃焼室構造。
【請求項4】
請求項1に記載のエンジンの燃焼室構造において、
前記燃焼室の天井面には、前記吸気ポートの開口部と前記排気ポートの開口部とがそれぞれ2つずつ、一方の前記吸気ポートの開口部と一方の前記排気ポートの開口部とが吸排気方向に並ぶとともに他方の前記吸気ポートの開口部と他方の前記排気ポートの開口部とが吸排気方向に並ぶように、形成されており、
前記凹部は、吸排気方向に沿ってみたときに2つの前記排気ポートの開口部と重複する領域に形成されている、ことを特徴とするエンジンの燃焼室構造。
【請求項5】
請求項1に記載のエンジンの燃焼室構造において、
前記ピストンの冠面の排気側の隅部には、下方に凹み湾曲形状を呈するピストン側凹部が形成されている、ことを特徴とするエンジンの燃焼室構造。
【請求項6】
請求項1~5のいずれか1項に記載のエンジンの燃焼室構造において、
前記燃焼室の天井面の吸気側の隅部には、上方に凹み湾曲形状を呈する吸気側凹部が形成されている、ことを特徴とするエンジンの燃焼室構造。
発明の詳細な説明
【技術分野】
【0001】
本発明は、エンジンの燃焼室構造に関する。
続きを表示(約 1,700 文字)
【背景技術】
【0002】
下記特許文献1に開示されているように、車両等に設けられるエンジンでは、燃焼室の天井面をペントルーフ型にして燃焼室にタンブル流を形成することが行われている。燃焼室にタンブル流を形成し、且つ、これを混合気の燃焼が開始する圧縮上死点付近まで維持できれば、混合気の燃焼が促進されて熱効率が向上する。
【0003】
特許文献1の燃焼室構造では、シリンダヘッドに、燃焼室の上面を構成するペントルーフ面が設けられるとともに点火プラグ(点火栓)が取り付けられている。また、この構造では、燃焼室の天井面のうち点火プラグに対してタンブル流の上流側つまり吸排気方向の吸気側の部分に凹部が形成されている。
【先行技術文献】
【特許文献】
【0004】
国際公開第2019/197860号
【発明の概要】
【発明が解決しようとする課題】
【0005】
前記特許文献1の燃焼室構造では、燃焼室の天井面に形成された凹部に沿って吸気が流れることで、圧縮上死点付近までタンブル流を維持できる。しかしながら、点火プラグに対して吸気側の部分に凹部が形成されていることで、タンブル流が吸気側に偏った位置に形成される。そのため、初期火炎が吸気側の燃焼室壁面と接触しやすく、冷却損失が増大して熱効率が低くなるおそれがある。
【0006】
本発明は、上記のような事情に鑑みてなされたものであり、熱効率を高めることのできるエンジンの燃焼室構造を提供することを目的とする。
【課題を解決するための手段】
【0007】
上記課題を解決するためのものとして、本発明の燃焼室構造は、ピストンの冠面、前記ピストンが上下に摺動可能に収容される気筒の周面、およびシリンダヘッドに形成されたペントルーフ型の天井面によって区画される燃焼室と、当該燃焼室に形成された燃料と空気の混合気に点火を行う点火プラグとを備えたエンジンの燃焼室構造であって、前記燃焼室の天井面には、前記燃焼室に空気を導入するための吸気ポートおよび前記燃焼室から排ガスを導出するための排気ポートが開口しており、前記ピストンの冠面の中央部には下方に凹むキャビティが形成されており、前記点火プラグは、その先端に設けられた電極部が前記燃焼室の天井面から前記キャビティを臨むように配設されており、前記燃焼室において前記吸気ポートが配設される側を吸気側、前記排気ポートが配設される側を排気側とするとき、前記燃焼室の天井面の排気側の隅部には、上方に凹み湾曲形状を呈する凹部が形成されている、ことを特徴とする。
【0008】
本発明では、ピストンの冠面の中央部に下方に凹むキャビティが形成されている。そのため、キャビティに沿って吸気を流動させることで燃焼室内により確実にタンブル流を形成できる。しかも、本発明では、燃焼室の天井面の排気側の隅部に、上方に凹み湾曲形状を呈する凹部が形成されている。そのため、吸気ポートから燃焼室に流入した吸気をより排気側の位置まで案内できるとともに、凹部に沿って吸気を流動させることで吸気を円滑に旋回させることができ、旋回径の大きいタンブル流を燃焼室に形成できる。従って、圧縮上死点付近まで燃焼室内にタンブル流を維持できるとともに、タンブル流の中心が燃焼室の吸気側あるいは排気側に偏るのを防止できる。これにより、本発明によれば、タンブル流に乗って初期火炎が燃焼室の壁面と接触して冷却損失が増大するのを防止でき、熱効率を高めることができる。
【0009】
上記構成において、好ましくは、前記燃焼室の天井面には、前記凹部の吸気側に隣接する位置に、上方に凹み湾曲形状を呈する内側凹部が形成されている(請求項2)。
【0010】
この構成によれば、吸気ポートから燃焼室への流入速度が比較的低いことで凹部に到達しない吸気も、内側凹部に沿って円滑に旋回させることができる。そのため、燃焼室内に確実にタンブル流を形成できる。
(【0011】以降は省略されています)
この特許をJ-PlatPat(特許庁公式サイト)で参照する
関連特許
マツダ株式会社
車載機器
25日前
マツダ株式会社
二次電池
25日前
マツダ株式会社
二次電池
25日前
マツダ株式会社
エンジン
26日前
マツダ株式会社
運転支援装置
25日前
マツダ株式会社
排気システム
27日前
マツダ株式会社
運転支援装置
25日前
マツダ株式会社
運転支援装置
25日前
マツダ株式会社
排気システム
27日前
マツダ株式会社
インバータ装置
26日前
マツダ株式会社
車両の上部構造
5日前
マツダ株式会社
インバータ装置
26日前
マツダ株式会社
インバータ装置
26日前
マツダ株式会社
車両の前部構造
25日前
マツダ株式会社
インバータ装置
26日前
マツダ株式会社
二次電池の制御装置
27日前
マツダ株式会社
バッテリの制御装置
28日前
マツダ株式会社
車両の下部車体構造
28日前
マツダ株式会社
車両の下部車体構造
1か月前
マツダ株式会社
二次電池の制御装置
25日前
マツダ株式会社
車両の下部車体構造
1か月前
マツダ株式会社
車両の下部車体構造
1か月前
マツダ株式会社
車両の下部車体構造
1か月前
マツダ株式会社
エンジンの制御装置
26日前
マツダ株式会社
バッテリ状態推定装置
28日前
マツダ株式会社
自動変速機の油路構造
26日前
マツダ株式会社
車両運転支援システム
1か月前
マツダ株式会社
エンジンの燃焼室構造
26日前
マツダ株式会社
エンジンの燃焼室構造
26日前
マツダ株式会社
被覆金属材の試験方法
26日前
マツダ株式会社
車両のパワートレイン構造
26日前
マツダ株式会社
車両のパワートレイン構造
26日前
マツダ株式会社
車両のパワートレイン構造
26日前
マツダ株式会社
車両のパワートレイン構造
25日前
マツダ株式会社
バッテリ温度制御システム
25日前
マツダ株式会社
エンジンの排気バルブ制御装置
1か月前
続きを見る
他の特許を見る