TOP
|
特許
|
意匠
|
商標
特許ウォッチ
Twitter
他の特許を見る
10個以上の画像は省略されています。
公開番号
2025171262
公報種別
公開特許公報(A)
公開日
2025-11-20
出願番号
2024076417
出願日
2024-05-09
発明の名称
バッテリ冷却構造
出願人
マツダ株式会社
代理人
弁理士法人三協国際特許事務所
主分類
B60K
11/06 20060101AFI20251113BHJP(車両一般)
要約
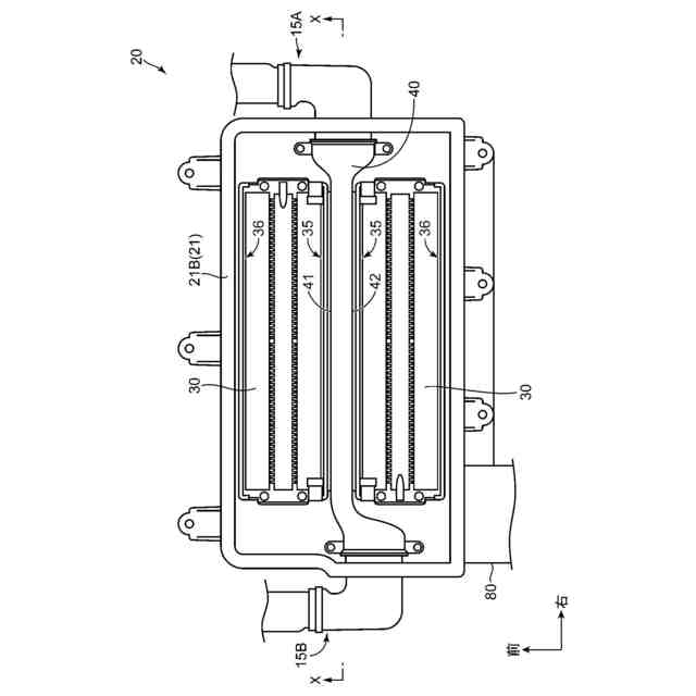
【課題】バッテリモジュールをより均等に冷却できるバッテリ冷却構造を提供する。
【解決手段】バッテリモジュール30に隣接する位置において所定方向に延びるように配置されて、内側を冷却風が流通するメインダクト40と、メインダクト40の所定方向の一端部43に接続されて、当該端部43から前記メインダクト40内に冷却風を導入する第1冷却風ダクト15Aと、メインダクト40の所定方向の他端部44に接続されて、当該端部44から前記メインダクト40内に冷却風を導入する第2冷却風ダクト15Bとを備え、前記メインダクト40の所定方向の中間位置には、前記バッテリモジュール30に向けて冷却風を導出する導出口41Aが設けられている。
【選択図】図3
特許請求の範囲
【請求項1】
複数のバッテリセルを含むバッテリモジュールを備えた車両のバッテリ冷却構造であって、
前記バッテリモジュールに隣接する位置において所定方向に延びるように配置されて、内側を冷却風が流通するメインダクトと、
前記メインダクトの前記所定方向の一端部に接続されて、当該端部から前記メインダクト内に冷却風を導入する第1冷却風ダクトと、
前記メインダクトの前記所定方向の他端部に接続されて、当該端部から前記メインダクト内に冷却風を導入する第2冷却風ダクトとを備え、
前記メインダクトの前記所定方向の中間位置には、前記バッテリモジュールに向けて冷却風を導出する導出口が設けられている、ことを特徴とするバッテリ冷却構造。
続きを表示(約 960 文字)
【請求項2】
請求項1に記載のバッテリ冷却構造において、
複数の前記バッテリセルは、前記所定方向に沿って並んでおり、
前記導出口は、複数の前記バッテリセルに向かって開口しているとともに、前記所定方向の一端に位置する前記バッテリセルと他端に位置する前記バッテリセルとにわたって前記所定方向に延びるように形成されている、ことを特徴とするバッテリ冷却構造。
【請求項3】
請求項1に記載のバッテリ冷却構造において、
前記メインダクトを挟んで前記バッテリモジュールと反対側、且つ、前記メインダクトに隣接する位置に設けられたサブバッテリモジュールをさらに備え、
前記メインダクトの前記所定方向の中間位置には、前記サブバッテリモジュールに向けて冷却風を導出するサブ導出口が設けられている、ことを特徴とするバッテリ冷却構造。
【請求項4】
請求項3に記載のバッテリ冷却構造において、
前記サブバッテリモジュールは、前記所定方向に沿って並ぶ複数のサブバッテリセルを含み、
前記サブ導出口は、複数の前記サブバッテリセルに向かって開口しているとともに、前記所定方向の一端に位置する前記サブバッテリセルと他端に位置する前記サブバッテリセルとにわたって前記所定方向に延びるように形成されている、ことを特徴とするバッテリ冷却構造。
【請求項5】
請求項3に記載のバッテリ冷却構造において、
前記導出口と前記サブ導出口とは、互いに対向する位置に設けられている、ことを特徴とするバッテリ冷却構造。
【請求項6】
請求項1~5のいずれか1項に記載のバッテリ冷却構造において、
前記バッテリモジュールは、車両の後部に配置されており、
前記メインダクトは、車幅方向に延設されており、
前記第1冷却風ダクトは、車幅方向の一方側の側部に設けられるとともに、前記メインダクトの前記一端部に接続されて当該端部から前方に延設されており、
前記第2冷却風ダクトは、車幅方向の他方側の側部に設けられるとともに、前記メインダクトの前記他端部に接続されて当該端部から前方に延設されている、ことを特徴とするバッテリ冷却構造。
発明の詳細な説明
【技術分野】
【0001】
本発明は、バッテリ冷却構造に関する。
続きを表示(約 1,800 文字)
【背景技術】
【0002】
バッテリが搭載された車両において、当該バッテリを冷却するための構造を備えるものが知られている。
【0003】
例えば、特許文献1には、前後方向に並ぶ複数のバッテリセルを含むバッテリモジュールを冷却するための構造が開示されている。具体的に、この構造では、所定の方向に延びるチャンバがバッテリモジュールに隣接して配置され、チャンバのバッテリモジュール側の側面に複数の貫通孔が前後方向に並ぶように形成されている。また、チャンバの長手方向の一方端からチャンバ内に冷却風が供給されるようになっており、当該冷却風が上記の各貫通孔を通じて各バッテリセルに分配されて各バッテリセルが冷却される。
【先行技術文献】
【特許文献】
【0004】
特許第6412063号公報
【発明の概要】
【発明が解決しようとする課題】
【0005】
複数のバッテリセルを含むバッテリモジュールでは、バッテリセルどうしの温度にばらつきが生じるとバッテリの充放電能力が低下する。そのため、バッテリモジュールを均一に冷却することが望まれる。しかしながら、特許文献1の構造では、バッテリモジュールに冷却風を分配するチャンバに、その長手方向の一方側の端部から冷却風が導入される。そのため、この構造では、冷却風がチャンバ内をその長手方向の一方端から他方端に向かって移動する。この結果、チャンバの長手方向の他方側の部分ではより多くの冷却風がバッテリモジュールに供給されるものの、一方側の部分ではバッテリモジュールに供給される冷却風が少なく抑えられてしまい、バッテリモジュールを均一に冷却できないおそれがある。
【0006】
本発明は、上記のような事情に鑑みてなされたものであり、バッテリモジュールをより均等に冷却できるバッテリ冷却構造を提供することを目的とする。
【課題を解決するための手段】
【0007】
上記課題を解決するためのものとして、本発明のバッテリ冷却構造は、複数のバッテリセルを含むバッテリモジュールを備えた車両のバッテリ冷却構造であって、前記バッテリモジュールに隣接する位置において所定方向に延びるように配置されて、内側を冷却風が流通するメインダクトと、前記メインダクトの前記所定方向の一端部に接続されて、当該端部から前記メインダクト内に冷却風を導入する第1冷却風ダクトと、前記メインダクトの前記所定方向の他端部に接続されて、当該端部から前記メインダクト内に冷却風を導入する第2冷却風ダクトとを備え、前記メインダクトの前記所定方向の中間位置には、前記バッテリモジュールに向けて冷却風を導出する導出口が設けられている、ことを特徴とする。
【0008】
本発明では、第1冷却風ダクトと第2冷却風ダクトの双方からメインダクトに冷却風が導入される。そのため、メインダクトを流通する冷却風の流量ひいてはバッテリモジュールに供給される冷却風の流量を確保できる。また、所定方向についてメインダクトの両端部からメインダクト内に冷却風が導入されて、これらの間に位置する導出口からバッテリモジュールに向けて冷却風が導出される。そのため、メインダクト内においてその両端部から導入される冷却風を互いに干渉させることができ、メインダクト内において冷却風が所定方向の一方側から他方側に向かって過度に勢いよく流れるのを防止できる。従って、導出口から導出される冷却風の流量、すなわち、バッテリモジュールに供給される冷却風の流量が所定方向について偏るのを防止でき、バッテリモジュールをより均等に冷却できる。
【0009】
上記構成において、好ましくは、複数の前記バッテリセルは、前記所定方向に沿って並んでおり、前記導出口は、複数の前記バッテリセルに向かって開口しているとともに、前記所定方向の一端に位置する前記バッテリセルと他端に位置する前記バッテリセルとにわたって前記所定方向に延びるように形成されている(請求項2)。
【0010】
この構成によれば、導出口から複数のバッテリセルに供給される冷却風の流量をバッテリセル間でより均一にでき、複数のバッテリセルをより均等に冷却できる。
(【0011】以降は省略されています)
この特許をJ-PlatPat(特許庁公式サイト)で参照する
関連特許
マツダ株式会社
バッテリ冷却構造
1日前
マツダ株式会社
バッテリ冷却構造
1日前
マツダ株式会社
塗布方法及び塗布装置
1日前
マツダ株式会社
車両用フレーム部材および車体前部構造
1日前
マツダ株式会社
車両用フレーム部材および車体前部構造
1日前
個人
タイヤレバー
3か月前
個人
前輪キャスター
2か月前
個人
上部一体型自動車
1か月前
個人
空間形成装置
22日前
個人
ルーフ付きトライク
3か月前
個人
タイヤ脱落防止構造
2か月前
日本精機株式会社
表示装置
3か月前
日本精機株式会社
照明装置
17日前
個人
マスタシリンダ
1か月前
日本精機株式会社
表示装置
3か月前
個人
車両通過構造物
3か月前
日本精機株式会社
表示装置
3か月前
日本精機株式会社
表示装置
3か月前
個人
常設収納型サンバイザー
28日前
個人
乗合路線バスの客室装置
4か月前
個人
円湾曲ホイール及び球体輪
4か月前
日本精機株式会社
車室演出装置
2か月前
日本精機株式会社
車載表示装置
25日前
株式会社ニフコ
照明装置
3か月前
日本精機株式会社
車載表示装置
1か月前
株式会社豊田自動織機
産業車両
17日前
日本精機株式会社
車載表示装置
2か月前
個人
音声ガイド、音声サービス
4か月前
株式会社ニフコ
収納装置
2か月前
個人
回転窓ワイパー装置
22日前
日本精機株式会社
画像投映装置
1か月前
日本精機株式会社
車載表示装置
23日前
株式会社豊田自動織機
産業車両
3か月前
個人
音による速度計とプログラム
28日前
日本精機株式会社
車両用投影装置
2か月前
日本精機株式会社
車両用表示装置
3か月前
続きを見る
他の特許を見る