TOP
|
特許
|
意匠
|
商標
特許ウォッチ
Twitter
他の特許を見る
公開番号
2025171577
公報種別
公開特許公報(A)
公開日
2025-11-20
出願番号
2024077070
出願日
2024-05-10
発明の名称
車両用フレーム部材および車体前部構造
出願人
マツダ株式会社
代理人
個人
,
個人
,
個人
主分類
B62D
21/15 20060101AFI20251113BHJP(鉄道以外の路面車両)
要約
【課題】衝突荷重の吸収量を向上することができる車両用フレーム部材を提供する。
【解決手段】車両用フレーム部材は、第1縦壁と、第2縦壁と、第1横壁と、第2横壁と、車幅方向において第1縦壁と第2縦壁との間に配置され、第1横壁と第2横壁とを互いに連結するように断面において上下方向に沿って延びた第1内壁と、車幅方向において第2縦壁と第1内壁との間に配置され、第1横壁と第2横壁とを互いに連結するように断面において上下方向に沿って延びた第2内壁とを備える。第1横壁および第2横壁の各々は、第1縦壁と第1内壁とを互いに連結する第1部分と、第1内壁と第2内壁とを互いに連結する第2部分と、第2縦壁と第2内壁とを互いに連結する第3部分とを備える。第1部分の曲げ剛性と第3部分の曲げ剛性とは、第2部分の曲げ剛性よりも大きい。
【選択図】図5
特許請求の範囲
【請求項1】
前後方向に沿って延びており、延在方向に直交する断面が閉断面を形成するとともに、衝撃吸収部材の後方に配置され、前記衝撃吸収部材を介して伝達される衝突荷重を吸収するように構成された車両用フレーム部材であって、
前記車両用フレーム部材は、
前記断面において上下方向に沿って延びた第1縦壁と、
前記第1縦壁に対して車幅方向内側に配置され、前記断面において上下方向に沿って延びた第2縦壁と、
前記第1縦壁の上端部と前記第2縦壁の上端部とを互いに連結するように前記断面において車幅方向に沿って延びた第1横壁と、
前記第1縦壁の下端部と前記第2縦壁の下端部とを互いに連結するように前記断面において車幅方向に沿って延び、前記第1縦壁、前記第2縦壁、および前記第1横壁とともに前記閉断面を構成する第2横壁と、
車幅方向において前記第1縦壁と前記第2縦壁との間に配置され、前記第1横壁と前記第2横壁とを互いに連結するように前記断面において上下方向に沿って延びた第1内壁と、
車幅方向において前記第2縦壁と前記第1内壁との間に配置され、前記第1横壁と前記第2横壁とを互いに連結するように前記断面において上下方向に沿って延びた第2内壁と
を備え、
前記第1横壁および前記第2横壁の各々は、
前記第1縦壁と前記第1内壁とを互いに連結する第1部分と、
前記第1内壁と前記第2内壁とを互いに連結する第2部分と、
前記第2縦壁と前記第2内壁とを互いに連結する第3部分と
を備え、
前記第1部分の曲げ剛性と前記第3部分の曲げ剛性とは、前記第2部分の曲げ剛性よりも大きい、車両用フレーム部材。
続きを表示(約 720 文字)
【請求項2】
前記第1縦壁と、前記第1内壁と、前記第1横壁および前記第2横壁のそれぞれの前記第1部分とは、前記断面において第1閉断面を形成し、
前記第1内壁と、前記第2内壁と、前記第1横壁および前記第2横壁のそれぞれの前記第2部分とは、前記断面において第2閉断面を形成し、
前記第2縦壁と、前記第2内壁と、前記第1横壁および前記第2横壁のそれぞれの前記第3部分とは、前記断面において第3閉断面を形成し、
前記第1閉断面の面積と、前記第2閉断面の面積とは、前記第3閉断面の面積とは、互いに同一である、請求項1に記載の車両用フレーム部材。
【請求項3】
前記車両用フレーム部材は、エンジンルームの車幅方向外側に配置されたフロントサイドフレームの下方に配置されるフロントサブフレームである、請求項1または2に記載の車両用フレーム部材。
【請求項4】
請求項1または2に記載の車両用フレーム部材と、
前記車両用フレーム部材の前方に配置された前記衝撃吸収部材と
を備え、
前記衝撃吸収部材の軸線は、前記車両用フレーム部材の軸線と一致している、車両前部構造。
【請求項5】
前記衝撃吸収部材は、
前記断面において車幅方向に延びた上壁と、
前記上壁の下方に前記上壁から間隔を開けて配置され、前記断面において車幅方向に延びた下壁と
を備え、
前記衝撃吸収部材の前記上壁および前記下壁は、それぞれ対応する前記車両用フレーム部材の前記第1横壁および前記第2横壁と、上下方向において位置合わせされている、請求項4に記載の車両前部構造。
発明の詳細な説明
【技術分野】
【0001】
本開示は、車両用フレーム部材および車体前部構造に関する。
続きを表示(約 2,400 文字)
【背景技術】
【0002】
特許文献1には、フレーム部材と、フレーム部材の前方に締結された衝撃吸収部材としてのクラッシュボックスとを備える自動車のフロント部分が開示されている。また、特許文献1には、衝突等により自動車のフロント部分に前方から衝撃が加えられたときに、クラッシュボックスが延在方向に座屈変形を繰り返すことにより、ボディへと伝達される衝撃を緩衝することが記載されている。
【先行技術文献】
【特許文献】
【0003】
特開2002-188673号公報
【発明の概要】
【発明が解決しようとする課題】
【0004】
特許文献1では、衝突等により自動車のフロント部分に前方から衝撃が加えられたときにクラッシュボックスが意図せず変形すると、クラッシュボックスからフレーム部材へ衝突荷重が効率的に伝達されず、フレーム部材による衝突荷重の吸収量が低減することがある。
【0005】
本開示は、衝撃吸収部材を介して伝達される衝突荷重を吸収するように構成された車両用フレーム部材および当該車両用フレーム部材を有する車体前部構造において、車両用フレーム部材による衝突荷重の吸収量を向上することを目的とする。
【課題を解決するための手段】
【0006】
本開示の一態様は、
前後方向に沿って延びており、延在方向に直交する断面が閉断面を形成するとともに、衝撃吸収部材の後方に配置され、前記衝撃吸収部材を介して伝達される衝突荷重を吸収するように構成された車両用フレーム部材であって、
前記車両用フレーム部材は、
前記断面において上下方向に沿って延びた第1縦壁と、
前記第1縦壁に対して車幅方向内側に配置され、前記断面において上下方向に沿って延びた第2縦壁と、
前記第1縦壁の上端部と前記第2縦壁の上端部とを互いに連結するように前記断面において車幅方向に沿って延びた第1横壁と、
前記第1縦壁の下端部と前記第2縦壁の下端部とを互いに連結するように前記断面において車幅方向に沿って延び、前記第1縦壁、前記第2縦壁、および前記第1横壁とともに前記閉断面形状を構成する第2横壁と、
車幅方向において前記第1縦壁と前記第2縦壁との間に配置され、前記第1横壁と前記第2横壁とを互いに連結するように前記断面において上下方向に沿って延びた第1内壁と、
車幅方向において前記第2縦壁と前記第1内壁との間に配置され、前記第1横壁と前記第2横壁とを互いに連結するように前記断面において上下方向に沿って延びた第2内壁と
を備え、
前記第1横壁および前記第2横壁の各々は、
前記第1縦壁と前記第1内壁とを互いに連結する第1部分と、
前記第1内壁と前記第2内壁とを互いに連結する第2部分と、
前記第2縦壁と前記第2内壁とを互いに連結する第3部分と
を備え、
前記第1部分の曲げ剛性と前記第3部分の曲げ剛性とは、前記第2部分の曲げ剛性よりも大きい、車両用フレーム部材を提供する。
【0007】
この構成によれば、第1部分の曲げ剛性と第3部分の曲げ剛性が第2部分の曲げ剛性より大きいため、第1部分の曲げ剛性と第3部分の曲げ剛性とが第2部分の曲げ剛性より小さい場合と比較して、衝撃吸収部材を支持するための支持剛性を確保することができる。これにより、車体前部構造に前方から衝突荷重が入力された場合に、衝撃吸収部材が延在方向に圧縮しやすくなり、衝撃吸収部材が意図せず変形することが抑制される。その結果、衝撃吸収部材から車両用フレーム部材に衝突荷重が効率的に伝達しやすくなり、衝撃吸収部材が意図せず変形する場合と比較して、車両用フレーム部材による衝突荷重の吸収量を向上することができる。
【0008】
第2部分の曲げ剛性が過度に大きいと、車両用フレーム部材30に対して前方から衝突荷重が入力された場合に、第2部分が、車両用フレーム部材の延在方向に沿った圧縮を妨げることがある。これに対して、本実施形態では、第2部分の曲げ剛性が、第1部分の曲げ剛性および第3部分の曲げ剛性より小さい。このため、第2部分の曲げ剛性が第1部分の曲げ剛性および第3部分の曲げ剛性以上である場合と比較して、第2部分が車両用フレーム部材の延在方向に沿った圧縮を妨げることが抑制される。これにより、車両用フレーム部材に対して前方から衝突荷重が入力された場合であっても、車両用フレーム部材が延在方向に均等に圧縮されやすくなる。その結果、第2部分の曲げ剛性が第1部分の曲げ剛性および第3部分の曲げ剛性以上である場合と比較して、車両用フレーム部材30による衝突荷重の吸収量を向上することができる。
【発明の効果】
【0009】
本開示によれば、衝撃吸収部材を介して伝達される衝突荷重を吸収するように構成された車両用フレーム部材および当該車両用フレーム部材を有する車体前部構造において、車両用フレーム部材による衝突荷重の吸収量を向上することができる。
【図面の簡単な説明】
【0010】
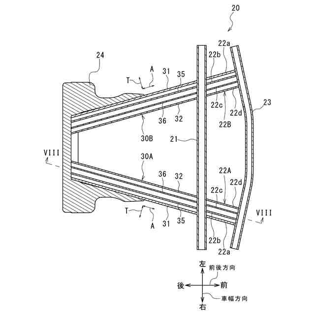
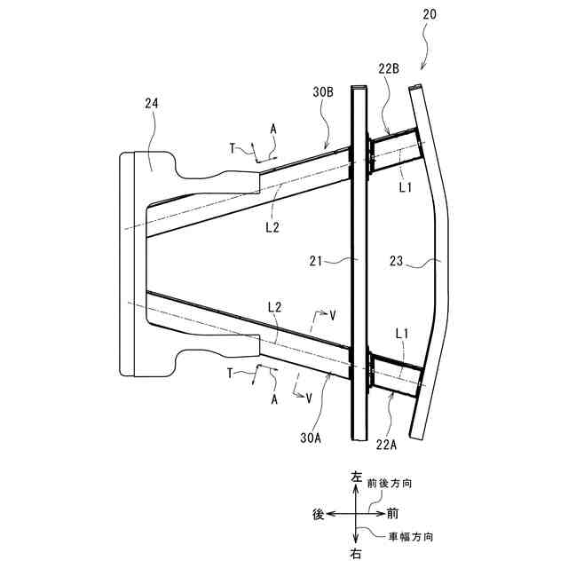
図1は、本開示の一実施形態に係る車体前部構造の側面図である。
図2は、図1に示す車体前部構造の平面図である。
図3は、図1に示す上部構造体の平面図である。
図4は、図1に示す上部構造体の側面図である。
図5は、図3のV-V線に沿った断面図である。
図6は、図3に示すクロスメンバを斜め後方から見た斜視図である。
図7は、図4のVII-VII線に沿った断面図である。
図8は、図7のVIII-VIII線に沿った断面図である。
【発明を実施するための形態】
(【0011】以降は省略されています)
この特許をJ-PlatPat(特許庁公式サイト)で参照する
関連特許
マツダ株式会社
二次電池
1か月前
マツダ株式会社
二次電池
1か月前
マツダ株式会社
車載機器
1か月前
マツダ株式会社
エンジン
1か月前
マツダ株式会社
運転支援装置
1か月前
マツダ株式会社
排気システム
1か月前
マツダ株式会社
運転支援装置
1か月前
マツダ株式会社
車体後部構造
15日前
マツダ株式会社
運転支援装置
1か月前
マツダ株式会社
排気システム
1か月前
マツダ株式会社
インバータ装置
1か月前
マツダ株式会社
インバータ装置
1か月前
マツダ株式会社
車両の上部構造
22日前
マツダ株式会社
インバータ装置
1か月前
マツダ株式会社
車両の前部構造
1か月前
マツダ株式会社
インバータ装置
1か月前
マツダ株式会社
バッテリ冷却構造
1日前
マツダ株式会社
バッテリユニット
14日前
マツダ株式会社
バッテリユニット
14日前
マツダ株式会社
バッテリ冷却構造
1日前
マツダ株式会社
バッテリの制御装置
1か月前
マツダ株式会社
エンジンの制御装置
1か月前
マツダ株式会社
車両の下部車体構造
1か月前
マツダ株式会社
二次電池の制御装置
1か月前
マツダ株式会社
車両の下部車体構造
1か月前
マツダ株式会社
車両の下部車体構造
1か月前
マツダ株式会社
車両の下部車体構造
1か月前
マツダ株式会社
二次電池の制御装置
1か月前
マツダ株式会社
車両の下部車体構造
1か月前
マツダ株式会社
車両の下部車体構造
1か月前
マツダ株式会社
車両の下部車体構造
1か月前
マツダ株式会社
車両の下部車体構造
1か月前
マツダ株式会社
モータ軸受システム
1か月前
マツダ株式会社
モータ軸受システム
1か月前
マツダ株式会社
車両運転支援システム
1か月前
マツダ株式会社
バッテリ状態推定装置
1か月前
続きを見る
他の特許を見る