TOP
|
特許
|
意匠
|
商標
特許ウォッチ
Twitter
他の特許を見る
10個以上の画像は省略されています。
公開番号
2025151137
公報種別
公開特許公報(A)
公開日
2025-10-09
出願番号
2024052404
出願日
2024-03-27
発明の名称
インバータ装置
出願人
マツダ株式会社
代理人
弁理士法人前田特許事務所
主分類
H02M
7/48 20070101AFI20251002BHJP(電力の発電,変換,配電)
要約
【課題】インバータ装置の放熱性能を向上させる。
【解決手段】
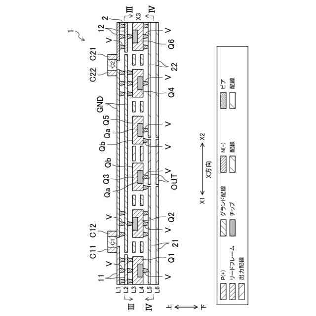
インバータ装置1は、第1配線層と第2配線層とを有する配線基板と、中間層に並べて配置され、一方の面にソース領域と、ソース領域を囲むドレイン領域とを有する複数のトランジスタQとを備える。複数のトランジスタQは、一方の面が第1配線層に対向して配置され、ドレインが第1配線層の第1配線に接続され、ソースが第1配線層の第2配線に接続された第1トランジスタを含む。そして、第1配線は、平面視において、第1トランジスタのドレイン領域にC字状に重なり、第2配線は、平面視において、第2配線の開口から第1トランジスタのソース領域に重なる位置まで延びている。
【選択図】図2
特許請求の範囲
【請求項1】
第1配線層と第2配線層とを有する配線基板と、
一方の面にソース領域と、当該ソース領域を囲むドレイン領域とを有し、前記第1配線層と前記第2配線層の間の中間層に並べて配置された複数のトランジスタとを備え、
前記複数のトランジスタは、
前記一方の面が前記第1配線層に対向して配置され、ドレインが前記第1配線層の第1配線に接続され、ソースが前記第1配線層の第2配線に接続された第1トランジスタを含み、
前記第1配線は、平面視において、前記第1トランジスタの前記ドレイン領域にC字形状に重なり、かつ、当該C字形状の開口から前記ソース領域に向かう凹部を有し、
前記第2配線は、平面視において、前記凹部内に突出し、前記第1トランジスタの前記ソース領域と重なる凸部を有する、インバータ装置。
続きを表示(約 2,200 文字)
【請求項2】
請求項1に記載のインバータ装置において、
前記複数のトランジスタは、
前記一方の面が前記第1配線層に対向して配置され、ソースが前記第1配線層の前記第1配線に接続された第2トランジスタと、
前記一方の面が前記第1配線層に対向して配置され、ドレインが前記第1配線層の前記第2配線に接続された第3トランジスタとを含む、インバータ装置。
【請求項3】
請求項1に記載のインバータ装置において、
前記複数のトランジスタは、
他方の面にドレインが形成され、前記他方の面が前記第1配線層に対向して配置され、前記他方の面のドレインが前記第1配線層の前記第1配線に接続された第2トランジスタと、
前記一方の面が前記第1配線層に対向して配置され、ドレインが前記第1配線層の前記第2配線に接続された第3トランジスタとを含む、インバータ装置。
【請求項4】
請求項1に記載のインバータ装置において、
前記複数のトランジスタは、
前記一方の面が前記第1配線層に対向して配置され、ソースが前記第1配線層の前記第1配線に接続された第2トランジスタと、
前記一方の面が前記第1配線層に対向して配置され、ソースが前記第1配線層の前記第2配線に接続された第3トランジスタとを含む、インバータ装置。
【請求項5】
請求項1に記載のインバータ装置において、
前記複数のトランジスタは、
前記一方の面が前記第1配線層に対向して配置され、ソースが前記第1配線層の前記第1配線に接続された第2トランジスタと、
他方の面にドレインが形成され、前記他方の面が前記第1配線層に対向して配置され、前記他方の面のドレインが前記第1配線層の前記第2配線に接続された第3トランジスタとを含む、インバータ装置。
【請求項6】
請求項1に記載のインバータ装置において、
前記複数のトランジスタは、他方の面にドレインが形成され、前記他方の面が前記第1配線層に対向して前記第1トランジスタと並べて配置され、前記他方の面のドレインが前記第1配線層の前記第2配線に接続された第2トランジスタを含み、
前記第1配線には、電源配線が接続されている、インバータ装置。
【請求項7】
請求項1に記載のインバータ装置において、
前記複数のトランジスタは、前記一方の面が前記第1配線層に対向して配置され、ドレインが前記第1配線層の前記第2配線に接続された第2トランジスタを含み、
前記第1配線には、電源配線が接続されている、インバータ装置。
【請求項8】
第1配線層と第2配線層とを有する基板と、
一方の面にソースが形成されたソース領域と、当該ソース領域を囲みかつドレインが形成されたドレイン領域とを有し、かつ、他方の面にドレインが形成されたドレイン領域を有しており、前記第1配線層と前記第2配線層の間の中間層に並べて配置された複数のトランジスタとを備え、
前記複数のトランジスタは、
前記一方の面が前記第1配線層に対向して配置され、ソースが前記第1配線層に形成された第1配線に接続された第1トランジスタと、
前記他方の面が前記第1配線層に対向して配置され、前記他方の面のドレインが前記第1配線に接続された第2トランジスタと、
前記一方の面が前記第1配線層に対向して配置され、ソースが前記第1配線層に形成された出力配線に接続され、前記一方の面のドレインが前記第1配線に接続された第3トランジスタと、
前記一方の面が前記第1配線層に対向して配置され、ソースが前記第1配線層に形成された第2配線に接続され、前記一方の面のドレインが前記出力配線に接続された第4トランジスタと、
前記一方の面が前記第1配線層に対向して配置され、ソースが前記第2配線に接続された第5トランジスタと、
前記他方の面が前記第1配線層に対向して配置され、前記他方の面のドレインが前記第2配線に接続された第6トランジスタとを含み、
前記第1配線は、平面視において、前記第3トランジスタの前記ドレイン領域にC字形状に重なり、かつ、当該C字形状の開口から前記ソース領域に向かう第1凹部を有し、
前記出力配線は、平面視において、前記第1凹部内に突出し、前記第3トランジスタの前記ソース領域と重なる第1凸部を有し、かつ、前記第5トランジスタの前記ドレイン領域にC字状に重なり、かつ、当該C字形状の開口から前記ソース領域に向かう第2凹部を有し、
前記第2配線は、平面視において、前記第2凹部内に突出し、前記第5トランジスタの前記ソース領域と重なる第2凸部を有する、インバータ装置。
【請求項9】
請求項8に記載のインバータ装置において、
前記第1トランジスタは、前記一方の面のドレインが電源配線に接続され、
前記電源配線は、平面視において、前記第1トランジスタの前記ドレイン領域にC字状に重なり、かつ、当該C字形状の開口から前記ソース領域に向かう第3凹部を有し、
前記第1配線は、平面視において、前記第3凹部内に突出し、前記第1トランジスタの前記ソース領域と重なる第3凸部を有する、インバータ装置。
発明の詳細な説明
【技術分野】
【0001】
ここに開示された技術は、インバータ装置に関する技術分野に属する。
続きを表示(約 1,700 文字)
【背景技術】
【0002】
インバータ装置のパワー密度の向上に伴う高出力化が進み、インバータ装置のインダクタンスを低減する技術が求められている。また、高出力化に伴い、インバータ装置の放熱性能を高めることが求められている。
【0003】
特許文献1には、電流ループを最短にして放熱性を向上させる観点から、フリップ実装を採用した技術が示されている。具体的に、特許文献1では、ハイサイドのIGBT、FWDは、チップ裏面電極であるコレクタ電極及びカソード電極を絶縁基板の電源パタンヘはんだ接着している。一方で、ローサイドのIGBT、FWDはチップ表面電極であるエミッタ電極及びアノード電極を絶縁基板のグランドパタンヘはんだ接着してフリップ実装となるようにしている。
【0004】
特許文献2には、電子部品を内蔵させたプリント配線板の製造技術が示されている。
【先行技術文献】
【特許文献】
【0005】
特開2007-234690号公報
特開2020-150096号公報
【発明の概要】
【発明が解決しようとする課題】
【0006】
従来のインバータ装置では、トランジスタを基板の表面に実装して構成されている。しかしながら、特許文献2のように、インバータ装置を構成するトランジスタを基板に内蔵する場合の放熱対策についての検討は十分に行われておらず、検討の余地がある。
【0007】
ここに開示された技術は斯かる点に鑑みてなされたものであり、部品が内蔵可能に構成された配線基板を用いたインバータ装置において、その放熱性能を高めることにある。
【課題を解決するための手段】
【0008】
前記課題を解決するために、ここに開示された技術では、インバータ装置を対象として、第1配線層と第2配線層とを有する配線基板と、一方の面にソース領域と、当該ソース領域を囲むドレイン領域とを有し、前記第1配線層と前記第2配線層の間の中間層に並べて配置された複数のトランジスタとを備え、前記複数のトランジスタは、前記一方の面が前記第1配線層に対向して配置され、ドレインが前記第1配線層の第1配線に接続され、ソースが前記第1配線層の第2配線に接続された第1トランジスタを含み、前記第1配線は、平面視において、前記第1トランジスタの前記ドレイン領域にC字形状に重なり、かつ、当該C字形状の開口から前記ソース領域に向かう凹部を有し、前記第2配線は、平面視において、前記凹部内に突出し、前記第1トランジスタの前記ソース領域と重なる凸部を有する、構成とした。
【0009】
このような構成にすることで、導電性能と、熱伝導性能を高めることができる。具体的に、放熱抵抗の違いは、接触面積に関係する。この点に関しソース-ドレイン間は、相互間が面全体で接しているのに対し、ソースと配線との間は複数のビアを介して接続される。熱の伝わりやすさ(熱伝導性能)は、接触面積に比例するため、熱伝導性能は、「“(接触面積が大きい)ドレイン”>“(接触面積の小さい)ソース”」の関係になる。したがって、第1トランジスタのドレイン領域にC字形状に重なるように第1配線を設けることで、熱の伝わりやすいドレインの接触面積を増加させることができ、熱伝導性能を高めることができる。また、ドレインの接触面積が増加するので、電気抵抗を低減させることができ、導電性能を高めることができる。さらに、第1配線に凹部を設けて、第2配線が第1トランジスタのソース領域と重なる凸部を有するようにしているので、上記の導電性能と熱伝導性能を高めつつ、第1トランジスタのドレインに接続する第1配線と、第1トランジスタのソースに接続する第2配線とを同じ配線層に形成することができる。
【発明の効果】
【0010】
以上説明したように、ここに開示された技術によると、インバータ装置の放熱性能を高めることができる。
【図面の簡単な説明】
(【0011】以降は省略されています)
この特許をJ-PlatPat(特許庁公式サイト)で参照する
関連特許
マツダ株式会社
二次電池
1か月前
マツダ株式会社
二次電池
25日前
マツダ株式会社
エンジン
26日前
マツダ株式会社
車載機器
25日前
マツダ株式会社
二次電池
25日前
マツダ株式会社
排気システム
27日前
マツダ株式会社
排気システム
27日前
マツダ株式会社
排気浄化装置
2か月前
マツダ株式会社
運転支援装置
25日前
マツダ株式会社
運転支援装置
25日前
マツダ株式会社
運転支援装置
25日前
マツダ株式会社
車両用駆動装置
1か月前
マツダ株式会社
インバータ装置
26日前
マツダ株式会社
インバータ装置
26日前
マツダ株式会社
インバータ装置
26日前
マツダ株式会社
車両用駆動装置
1か月前
マツダ株式会社
車両用駆動装置
1か月前
マツダ株式会社
車両用駆動装置
1か月前
マツダ株式会社
車両の上部構造
5日前
マツダ株式会社
車両の前部構造
25日前
マツダ株式会社
インバータ装置
26日前
マツダ株式会社
車両用駆動装置
1か月前
マツダ株式会社
冷媒循環システム
1か月前
マツダ株式会社
冷媒循環システム
1か月前
マツダ株式会社
冷媒循環システム
1か月前
マツダ株式会社
冷媒循環システム
1か月前
マツダ株式会社
冷媒循環システム
1か月前
マツダ株式会社
冷媒循環システム
1か月前
マツダ株式会社
冷媒循環システム
1か月前
マツダ株式会社
冷媒循環システム
1か月前
マツダ株式会社
車両の下部車体構造
1か月前
マツダ株式会社
車両の下部車体構造
28日前
マツダ株式会社
バッテリの制御装置
28日前
マツダ株式会社
車両の下部車体構造
1か月前
マツダ株式会社
車両の下部車体構造
1か月前
マツダ株式会社
二次電池の制御装置
27日前
続きを見る
他の特許を見る