TOP
|
特許
|
意匠
|
商標
特許ウォッチ
Twitter
他の特許を見る
公開番号
2025153767
公報種別
公開特許公報(A)
公開日
2025-10-10
出願番号
2024056394
出願日
2024-03-29
発明の名称
運転支援装置
出願人
マツダ株式会社
代理人
個人
,
個人
主分類
B60W
50/08 20200101AFI20251002BHJP(車両一般)
要約
【課題】 ドライバの脳内モデル(ドライバ内部モデル)を考慮することにより、個々のドライバに最適化された的確な運転支援を行い得る運転支援装置を提供する。
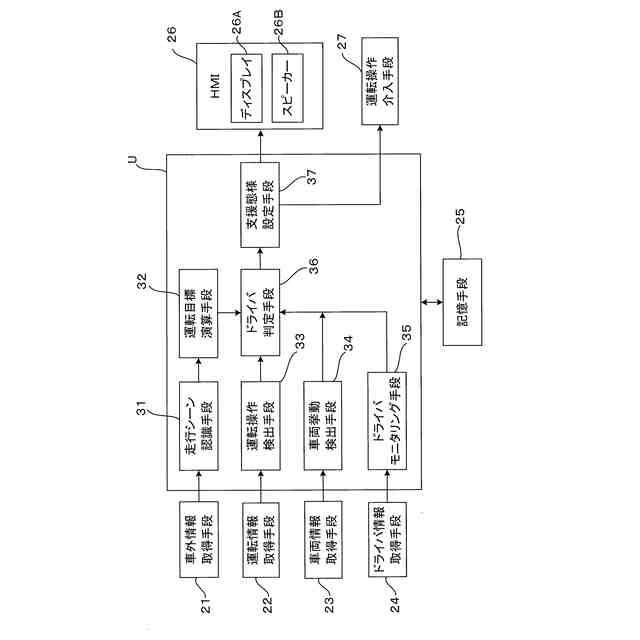
【解決手段】 運転支援装置において、走行シーン認識手段31と、目標運転操作及び目標車両挙動を算出する運転目標演算手段32と、ドライバの運転操作を検出する運転操作検出手段33と、車両の挙動を検出する運転検出手段34と、判定対象の走行シーンにおけるドライバの習熟度を判定するドライバ判定手段36と、ドライバ判定手段36によるドライバの習熟度の判定に応じてHMI26からの報知の態様を設定する支援態様設定手段とを備えた。
【選択図】 図2
特許請求の範囲
【請求項1】
車両のドライバの運転を支援する運転支援装置において、
前記車両の走行シーンを認識する走行シーン認識手段と、
前記ドライバの運転操作及び/又は前記車両の挙動を検出する運転検出手段と、
前記走行シーンに適合する目標運転操作及び/又は目標車両挙動を算出する運転目標演算手段と、
前記ドライバに対して運転に関する情報を報知するインターフェース手段と、
前記ドライバの運転操作及び/又は前記車両の挙動を前記走行シーン毎に記憶する運転履歴記憶手段と、
判定対象である走行シーンにおける過去の前記ドライバの運転操作及び/又は前記車両の挙動と前記目標運転操作及び/又は目標車両挙動との比較に基づいて、当該走行シーンにおける前記ドライバの習熟度を判定するドライバ判定手段と、
前記ドライバ判定手段による前記ドライバの習熟度の判定に基づいて、当該ドライバに対するインターフェース手段による報知の態様を設定する支援態様設定手段と
を備えた運転支援装置。
続きを表示(約 950 文字)
【請求項2】
請求項1に記載の運転支援装置において、
前記支援態様設定手段は、走行中の走行シーンに関して習熟度が高いと判定されたドライバに対して、前記インターフェース手段による報知の態様を、運転操作自体に関する報知は行わず、車両挙動に関する報知を行う態様に設定する運転支援装置。
【請求項3】
請求項2に記載の運転支援装置において、
前記車両挙動に関する報知は、前記車両挙動と前記目標車両挙動の差が所定値以上となったときに、前記車両挙動と前記目標車両挙動の差を知らせる報知を含む運転支援装置。
【請求項4】
請求項1に記載の運転支援装置において、
前記支援態様設定手段は、走行中の走行シーンに関して習熟度が低いと判定されたドライバに対して、前記インターフェース手段による報知の態様を、運転操作自体に関する報知を行う態様に設定する運転支援装置。
【請求項5】
請求項1に記載の運転支援装置において、
前記ドライバ判定手段は、判定対象である走行シーンについて、所定期間における前記ドライバの運転操作が前記目標運転操作から所定の運転操作目標範囲内にあり、且つ所定期間における前記車両の挙動が前記目標車両挙動から所定の車両挙動目標範囲内にある場合に、当該ドライバの当該走行シーンに対する習熟度が高いと判定する運転支援装置。
【請求項6】
請求項1に記載の運転支援装置において、
前記ドライバの生理量及び/又は挙動を検出可能なドライバモニタリング手段を備え、
前記支援態様設定手段は、同一の走行シーンにおいて前記ドライバモニタリング手段により検出された前記ドライバの緊張を示す生理量及び/又は挙動が、前回の走行シーンよりも今回の走行シーンで減少した場合、前記インターフェース手段による報知の程度を減少させる運転支援装置。
【請求項7】
請求項1に記載の運転支援装置において、
前記ドライバの運転操作に介入する運転操作介入手段を備え、
前記支援態様設定手段は、前記ドライバ判定手段による判定に基づいて、前記運転操作介入手段による運転支援の態様を変更する運転支援装置。
発明の詳細な説明
【技術分野】
【0001】
本発明は、自動車等の車両のドライバの運転を支援する運転支援装置に関し、特に、ドライバの脳内モデル(ドライバ内部モデル)を考慮した運転支援を行うことにより、個々のドライバに最適化された支援を提供できるようにした改良に関するものである。
続きを表示(約 2,200 文字)
【背景技術】
【0002】
近年、自動車等の車両には、ドライバの運転を支援する運転支援装置(例えば、先進運転支援システム(ADAS))が搭載されるようになってきており、このような運転支援装置に関して、様々な技術が提案されてきている。
【0003】
例えば、特許文献1(特開2022-178816号公報)には、車両制御装置において、ドライバの運転(運転性能)を認知・判断・操作に分けて観察し、不足すると判断された運転性能について、最適なタイミングで運転支援(コーチング)を行うことにより、ドライバの運転技能を向上させることのできる技術が提案されている。また、特許文献2(特許第6428748号)には、運転支援システムにおいて、感覚刺激の適切な付与(視覚及び聴覚刺激の付与や、アクセル感度やステアリングハンドルの感度の変更等)によって、車両の運転者を目標感情状態(例えば快状態)に向けて誘導する技術が提案されている。更に、特許文献3(特許第6221776号)には、運転評価装置において、運転操作を評価し、運転者にこの評価結果を報知することにより、運転者に自身が行った運転操作が適切であったか否かを認識させることができるようにした技術が提案されている。
【先行技術文献】
【特許文献】
【0004】
特開2022-178816号公報
特許第6428748号
特許第6221776号
【発明の概要】
【発明が解決しようとする課題】
【0005】
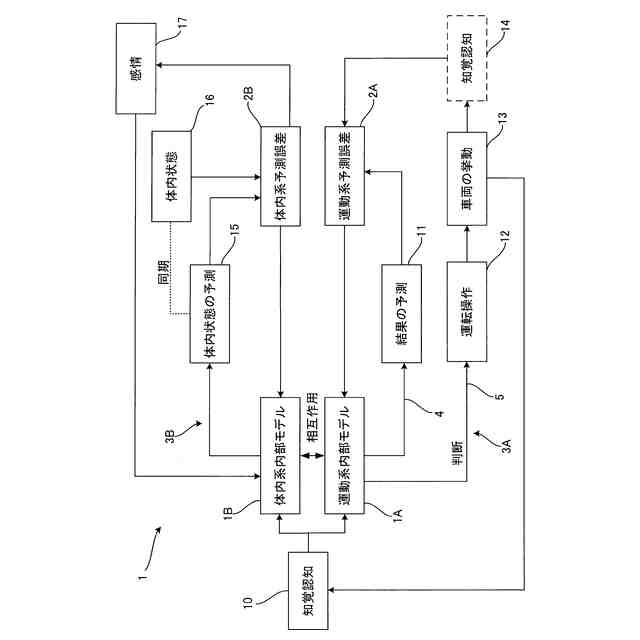
このように、従来の運転支援装置においても、ドライバの運転技能向上や感情良好化を図る技術は提案されてきていた。しかしながら、従来技術においては、個々のドライバの脳内における処理を考慮(モデル化)することにより、運転支援を各ドライバに対して最適化していくという着想は存在していなかった。すなわち、従来の運転支援装置は、ドライバへの報知(警報等)や運転操作への介入を行うにしても、個々のドライバの脳内状態(ドライバ内部モデル)によらずに画一的であり、運転支援の対象となるドライバの運転技能向上や感情良好化のために最適化されたものとは言えなかった。
【0006】
本発明は、このような課題に着目してなされたもので、ドライバの脳内モデル(ドライバ内部モデル)を考慮することにより、個々のドライバに最適化された的確な運転支援を行い得る運転支援装置を提供することを目的とする。
【課題を解決するための手段】
【0007】
前記目的を達成するため、本発明にあっては、次のような解決方法を採択している。すなわち、請求項1に記載のように、車両のドライバの運転を支援する運転支援装置において、前記車両の走行シーンを認識する走行シーン認識手段と、前記ドライバの運転操作及び/又は前記車両の挙動を検出する運転検出手段と、前記走行シーンに適合する目標運転操作及び/又は目標車両挙動を算出する運転目標演算手段と、前記ドライバに対して運転に関する情報を報知するインターフェース手段と、前記ドライバの運転操作及び/又は前記車両の挙動を前記走行シーン毎に記憶する運転履歴記憶手段と、判定対象である走行シーンにおける過去の前記ドライバの運転操作及び/又は前記車両の挙動と前記目標運転操作及び/又は目標車両挙動との比較に基づいて、当該走行シーンにおける前記ドライバの習熟度を判定するドライバ判定手段と、前記ドライバ判定手段による前記ドライバの習熟度の判定に基づいて、当該ドライバに対するインターフェース手段による報知の態様を設定する支援態様設定手段とを備えた。
【0008】
上記解決手法によれば、インターフェース手段(例えば、HMI26)によるドライバに対する報知の態様が、対象となる走行シーンに対する習熟度に応じて設定されるので、個々のドライバの習熟度に的確に適合した報知が行われ、運転におけるドライバの予測誤差(運動系予測誤差2A)を効果的に低減していくことができ、ドライバの運転技術の向上と感情の良好化を達成できる。
【0009】
上記解決手法を前提とした好ましい態様は、特許請求の範囲における請求項2以下に記載の通りである。すなわち、前記支援態様設定手段は、走行中の走行シーンに関して習熟度が高いと判定されたドライバに対して、前記インターフェース手段による報知の態様を、運転操作自体に関する報知は行わず、車両挙動に関する報知を行う態様に設定する(請求項2対応)。この場合、習熟度が高いドライバ(ベテランドライバ)に対しては、ベテランドライバであれば無意識的に実行できる運転操作自体に関する不要な報知はなされない一方で、ベテランドライバにとっても有益な車両挙動に関する情報の報知はなされるので、ベテランドライバの適切な自立運転を促進することができ、ドライバの感情の良好化も効果的に達成できる。
【0010】
前記車両挙動に関する報知は、前記車両挙動と前記目標車両挙動の差が所定値以上となったときに、前記車両挙動と前記目標車両挙動の差を知らせる報知を含む(請求項3対応)。この場合、ベテランドライバは、車両の挙動自体に関する問題点を的確に把握することができるので、運動系予測誤差をスムーズに低減していくことができる。
(【0011】以降は省略されています)
この特許をJ-PlatPat(特許庁公式サイト)で参照する
関連特許
マツダ株式会社
二次電池
1か月前
マツダ株式会社
二次電池
1か月前
マツダ株式会社
車載機器
1か月前
マツダ株式会社
エンジン
1か月前
マツダ株式会社
運転支援装置
1か月前
マツダ株式会社
運転支援装置
1か月前
マツダ株式会社
車体後部構造
18日前
マツダ株式会社
運転支援装置
1か月前
マツダ株式会社
インバータ装置
1か月前
マツダ株式会社
インバータ装置
1か月前
マツダ株式会社
車両の上部構造
25日前
マツダ株式会社
インバータ装置
1か月前
マツダ株式会社
車両の前部構造
1か月前
マツダ株式会社
インバータ装置
1か月前
マツダ株式会社
バッテリユニット
17日前
マツダ株式会社
バッテリユニット
17日前
マツダ株式会社
バッテリ冷却構造
4日前
マツダ株式会社
バッテリ冷却構造
4日前
マツダ株式会社
エンジンの制御装置
1か月前
マツダ株式会社
二次電池の制御装置
1か月前
マツダ株式会社
二次電池の制御装置
1か月前
マツダ株式会社
塗布方法及び塗布装置
4日前
マツダ株式会社
自動変速機の油路構造
1か月前
マツダ株式会社
エンジンの燃焼室構造
1か月前
マツダ株式会社
エンジンの燃焼室構造
1か月前
マツダ株式会社
被覆金属材の試験方法
1か月前
マツダ株式会社
バッテリ温度制御システム
1か月前
マツダ株式会社
車両のパワートレイン構造
1か月前
マツダ株式会社
車両のパワートレイン構造
1か月前
マツダ株式会社
車両のパワートレイン構造
1か月前
マツダ株式会社
車両のパワートレイン構造
1か月前
マツダ株式会社
車両の合流位置評価装置及び方法
1か月前
マツダ株式会社
車両の合流位置評価装置及び方法
1か月前
マツダ株式会社
車両の合流位置評価装置及び方法
1か月前
マツダ株式会社
車両の合流位置評価装置及び方法
1か月前
マツダ株式会社
車両のドア構造およびその製造方法
25日前
続きを見る
他の特許を見る