TOP
|
特許
|
意匠
|
商標
特許ウォッチ
Twitter
他の特許を見る
10個以上の画像は省略されています。
公開番号
2025152450
公報種別
公開特許公報(A)
公開日
2025-10-09
出願番号
2024054353
出願日
2024-03-28
発明の名称
車両のパワートレイン構造
出願人
マツダ株式会社
代理人
弁理士法人三協国際特許事務所
主分類
B60K
1/00 20060101AFI20251002BHJP(車両一般)
要約
【課題】EMC対策と車両衝突時における安全性の確保とを両立できる車両のパワートレイン構造を提供する。
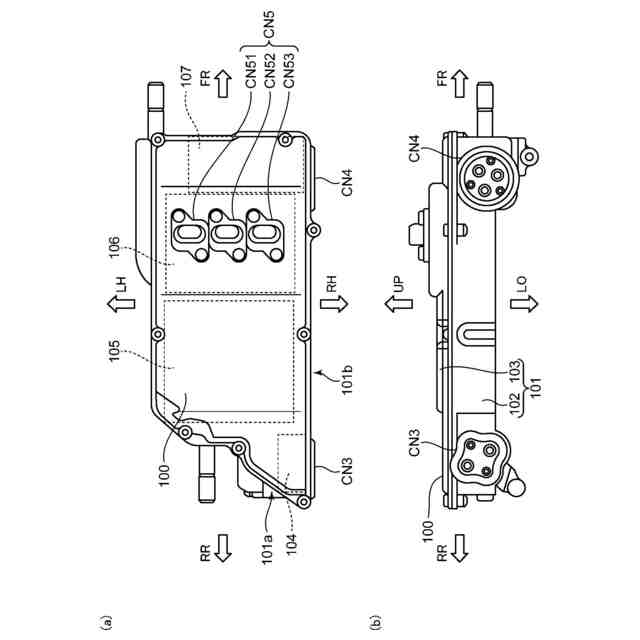
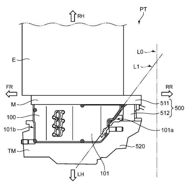
【解決手段】車両は、駆動装置とバッテリとインバータ100とを備える。駆動装置は、車両走行用のモータと、導電性材料からなるモータハウジング510とを有する。バッテリはモータの電力源である。インバータ100は回路部とインバータハウジング101とを有する。インバータハウジング101は、モータハウジング510に対して密に接合されている。モータハウジング510は、後方壁部に配設されたDCコネクタCN8を有するとともに、ハウジング内空間510aに収容されたDCバスバLN4およびフェライトコア513を有する。DCバスバLN4はインバータ100における回路部とDCコネクタCN8とを接続する。フェライトコア513はDCバスバLN4中に介挿されたノイズフィルタ部品である。
【選択図】図7
特許請求の範囲
【請求項1】
車両の走行用の駆動源としてのモータと、導電性材料を用いて形成されるとともに少なくとも前記モータを収容する駆動装置ハウジングとを有する駆動装置と、
前記モータの電力源としてのバッテリと、
前記モータと前記バッテリとの間に介挿され、前記モータと前記バッテリとの間で電力変換する回路部と、導電性材料を用いて形成されるとともに前記回路部を収容する変換装置ハウジングとを有する電力変換装置と、
を備え、
前記変換装置ハウジングは、前記駆動装置ハウジングに対して密に接合、または、前記駆動装置ハウジングと一体に設けられており、
前記駆動装置ハウジングには、前記バッテリから延びる配線が接続されるDCコネクタが壁部に配設されるとともに、前記電力変換装置の前記回路部と前記DCコネクタとを接続するDC配線と、前記DC配線中に介挿されたノイズフィルタ部品とが収容されている、
車両のパワートレイン構造。
続きを表示(約 1,300 文字)
【請求項2】
前記変換装置ハウジングは、前記駆動装置ハウジングの上方のうちの少なくとも一部に載置されているとともに、上方からの平面視において、後端部が前方から後方へと行くのに従って車幅方向の外側から内側へと幅が漸減するように先細り形状で形成されている、
請求項1に記載の車両のパワートレイン構造。
【請求項3】
上方からの平面視において、前記電力変換装置における前記DC配線との接続部であるDC入出力部と、前記ノイズフィルタ部品とは、重複する位置関係で配設されている、
請求項2に記載の車両のパワートレイン構造。
【請求項4】
前記駆動装置ハウジングには、補機に直流電力を供給するための電力線が収容されており、
前記駆動装置ハウジング内において、前記DC配線における前記ノイズフィルタ部品が介挿された位置よりも前記DCコネクタ側で前記電力線が分岐される分岐部が設けられている、
請求項1から請求項3の何れかに記載の車両のパワートレイン構造。
【請求項5】
前記駆動装置ハウジングには、前記電力変換装置の前記回路部と前記モータとを接続するAC配線が収容されており、
前記駆動装置ハウジングの前記壁部には、前記DC配線における前記回路部との接続部である駆動装置側DCコネクタと、前記AC配線における前記回路部との接続部である駆動装置側ACコネクタと、がそれぞれ配設されており、
前記変換装置ハウジングの壁部には、前記回路部における前記DC配線との接続部である変換装置側DCコネクタと、前記回路部における前記AC配線との接続部である変換装置側ACコネクタと、がそれぞれ配設されており、
前記駆動装置側DCコネクタと前記変換装置側DCコネクタ、および前記駆動装置側ACコネクタと前記変換装置側ACコネクタは、前記駆動装置に対して前記電力変換装置を相対的にスライド移動させることにより結合される、
請求項1から請求項3の何れかに記載の車両のパワートレイン構造。
【請求項6】
上下方向および前記スライド移動の方向の双方に交差する方向から前記DC配線を見る場合に、当該DC配線は、前記スライド移動の方向に蛇行するように配策されている、
請求項5に記載の車両のパワートレイン構造。
【請求項7】
前記駆動装置は、前記モータの出力軸に連結される変速機をさらに有し、
前記駆動装置ハウジングは、前記変速機も収容するように構成されており、
前記変換装置ハウジングは、前記駆動装置ハウジングにおける前記変速機が収容された部分に対してブラケットを介して固定されている、
請求項5に記載の車両のパワートレイン構造。
【請求項8】
前記駆動装置および前記電力変換装置は、前記車両の前部に設けられたパワートレインルーム内に搭載されており、
前記バッテリは、前記パワートレインルームよりも前記車両の後方側の部分に搭載されており、
前記DCコネクタは、前記駆動装置ハウジングにおける後側の前記壁部に配設されている、
請求項1から請求項3の何れかに記載の車両のパワートレイン構造。
発明の詳細な説明
【技術分野】
【0001】
本発明は、車両のパワートレイン構造に関し、特に走行用のモータおよび電力変換装置を含むパワートレイン構造に関する。
続きを表示(約 2,000 文字)
【背景技術】
【0002】
近年では、モータを走行用の駆動源として備える車両が増加している。このような車両には、モータに電力供給するためのバッテリと、当該バッテリとモータとの間で電力を直交変換する電力変換装置とが搭載されている。
【0003】
特許文献1には、2つのモータを制御する制御装置が開示されている。特許文献1に開示の制御装置は、インバータ回路と昇圧回路とを備える。そして、該制御装置は、昇圧回路に含まれるリアクトルをモータが収容されてなるケース内に配置することで、インバータ回路と、昇圧回路におけるリアクトルを除く構成と、を収容する部分の小型化が図られている。即ち、特許文献1に開示の制御装置では、比較的大きなリアクトルを、インバータ回路などが収容されるカバー部材内ではなく、モータが収容されるケース内に配置することで、装置全体としての小型化が図られている。
【0004】
特許文献2には、車両走行用の駆動源としてのモータと、バッテリとの間で電力を直交変換するインバータが開示されている。特許文献2に開示のインバータは、当該インバータを構成する回路構成の全てが、変速機構を収容するケース内に収容されている。特許文献2では、インバータ用のケースを設けることなく、変速機構用のケース内にインバータの回路構成の全てを収容することで部品点数の低減が可能であるとされている。
【先行技術文献】
【特許文献】
【0005】
特開2012-65436号公報
特許第6070444号公報
【発明の概要】
【発明が解決しようとする課題】
【0006】
しかしながら、上記特許文献1,2に開示の技術を含む従来技術では、EMC(Electro Magnetic Compatibility)対策と車両衝突時における安全性の確保との両立が難しいと考えられる。具体的に、特許文献1には、制御装置とバッテリとを接続するDC配線が明示されていない。このため、DC配線の配置形態によっては、車両衝突時にDC配線が損傷するおそれがあり、安全性の確保という観点から問題が生じる場合がある。
【0007】
また、特許文献2に開示のインバータでは、ケースの上開口部を塞ぐ蓋体に電源コネクタが設けられており、当該電源コネクタを介して電力変換装置とバッテリとを接続するDC配線が配されている。即ち、特許文献2に開示の構成では、DC配線の配置形態によっては、車両衝突時にDC配線が損傷することが考えられる。さらに、特許文献2には、DC配線にノイズフィルタ部品を介挿させるとの構成は開示されていない。また、DC配線は、ケースの外方において、バッテリが載置される場所との関係で長くなる場合が多い。このため、特許文献2に開示のインバータでは、他の機器への電磁波の影響や、他の機器からの電磁波の影響などの問題が生じることが懸念される。
【0008】
本発明は、上記のような問題の解決を図ろうとなされたものであって、EMC対策と車両衝突時における安全性の確保とを両立できる車両のパワートレイン構造を提供することを目的とする。
【課題を解決するための手段】
【0009】
本発明の一態様に係る車両のパワートレイン構造は、車両の走行用の駆動源としてのモータと、導電性材料を用いて形成されるとともに少なくとも前記モータを収容する駆動装置ハウジングとを有する駆動装置と、前記モータの電力源としてのバッテリと、前記モータと前記バッテリとの間に介挿され、前記モータと前記バッテリとの間で電力変換する回路部と、導電性材料を用いて形成されるとともに前記回路部を収容する変換装置ハウジングとを有する電力変換装置と、を備える。そして、本態様に係る車両のパワートレイン構造において、前記変換装置ハウジングは、前記駆動装置ハウジングに対して密に接合、または、前記駆動装置ハウジングと一体に設けられており、前記駆動装置ハウジングには、前記バッテリから延びる配線が接続されるDCコネクタが壁部に配設されるとともに、前記電力変換装置の前記回路部と前記DCコネクタとを接続するDC配線と、前記DC配線中に介挿されたノイズフィルタ部品とが収容されている。
【0010】
上記態様に係る車両のパワートレイン構造では、DC配線中に介挿されたノイズフィルタ部品を有する。このため、電力変換装置で発生するノイズがDC配線におけるノイズフィルタ部品よりもDCコネクタ側、およびDCコネクタからバッテリ側の配線へと漏出するのが防がれる(EMI対策)。また、仮にバッテリからDCコネクタまでの配線に他の機器からのノイズがのった場合においても、当該ノイズが電力変換装置の駆動に干渉するのが防がれる(EMS対策)。
(【0011】以降は省略されています)
この特許をJ-PlatPat(特許庁公式サイト)で参照する
関連特許
マツダ株式会社
二次電池
1か月前
マツダ株式会社
回転電機
5日前
マツダ株式会社
二次電池
1か月前
マツダ株式会社
車体後部構造
27日前
マツダ株式会社
運転支援装置
1か月前
マツダ株式会社
運転支援装置
1か月前
マツダ株式会社
運転支援装置
1か月前
マツダ株式会社
車両の下部構造
5日前
マツダ株式会社
車両の前部構造
6日前
マツダ株式会社
車両の前部構造
6日前
マツダ株式会社
車両の上部構造
1か月前
マツダ株式会社
車両の下部構造
5日前
マツダ株式会社
車両の下部構造
7日前
マツダ株式会社
車両の下部構造
7日前
マツダ株式会社
バッテリ冷却構造
13日前
マツダ株式会社
バッテリユニット
26日前
マツダ株式会社
バッテリユニット
26日前
マツダ株式会社
バッテリ冷却構造
13日前
マツダ株式会社
車両用フレーム部材
6日前
マツダ株式会社
車両用フレーム部材
6日前
マツダ株式会社
二次電池の制御装置
1か月前
マツダ株式会社
車両の状態量検出装置
今日
マツダ株式会社
運転者の覚醒維持装置
6日前
マツダ株式会社
塗布方法及び塗布装置
13日前
マツダ株式会社
バッテリ温度制御システム
1か月前
マツダ株式会社
車両の合流位置評価装置及び方法
1か月前
マツダ株式会社
車両の合流位置評価装置及び方法
1か月前
マツダ株式会社
車両のドア構造およびその製造方法
1か月前
マツダ株式会社
車載エンジンのCO2回収システム
1か月前
マツダ株式会社
車載エンジンのCO2回収システム
1か月前
マツダ株式会社
電動自動車のバッテリマネジメント装置
1か月前
マツダ株式会社
車両用フレーム部材および車体前部構造
13日前
マツダ株式会社
車両用フレーム部材および車体前部構造
13日前
マツダ株式会社
車両の構造設計方法及び構造設計プログラム
7日前
マツダ株式会社
バッテリユニットを搭載した車両の前部車体構造
26日前
マツダ株式会社
車両の上部構造、および車両の上部構造の製造方法
1か月前
続きを見る
他の特許を見る