TOP
|
特許
|
意匠
|
商標
特許ウォッチ
Twitter
他の特許を見る
公開番号
2025153160
公報種別
公開特許公報(A)
公開日
2025-10-10
出願番号
2024055480
出願日
2024-03-29
発明の名称
電動自動車のバッテリマネジメント装置
出願人
マツダ株式会社
代理人
弁理士法人前田特許事務所
主分類
H02J
7/02 20160101AFI20251002BHJP(電力の発電,変換,配電)
要約
【課題】バッテリのSOCをユーザによる電動自動車の使用態様に適合させながら、バッテリの劣化を抑制する。
【解決手段】電動自動車1のバッテリマネジメント装置10は、モータ21と、モータへ供給する電気エネルギを蓄積するバッテリ28と、バッテリの充電を制御する制御装置35と、を備え、制御装置は、バッテリの充電と次の充電との間において、ユーザによる電動自動車の使用に伴い低下したバッテリのSOCの情報(ΔSOC)を取得し、取得したΔSOCとバッテリの容量とに基づいて、バッテリの上限SOCを設定し、設定した上限SOCに基づいて、バッテリの充電を停止する。
【選択図】図3
特許請求の範囲
【請求項1】
電動自動車に搭載されかつ前記電動自動車の走行用駆動力を出力するモータと、
前記モータへ供給する電気エネルギを蓄積するバッテリと、
前記バッテリの充電を制御する制御装置と、を備え、
前記制御装置は、
前記バッテリの充電と次の充電との間において、ユーザによる前記電動自動車の使用に伴い低下した前記バッテリのSOCの情報(ΔSOC)を取得し、
取得した前記ΔSOCと前記バッテリの容量とに基づいて、前記バッテリの上限SOCを設定し、
設定した前記上限SOCに従って、前記バッテリの充電を停止する
電動自動車のバッテリマネジメント装置。
続きを表示(約 1,300 文字)
【請求項2】
請求項1に記載の電動自動車のバッテリマネジメント装置において、
前記制御装置は、取得した前記ΔSOCの情報を蓄積すると共に、前記ΔSOCの頻度分布に基づいて、前記上限SOCを設定する、
電動自動車のバッテリマネジメント装置。
【請求項3】
請求項1に記載の電動自動車のバッテリマネジメント装置において、
前記制御装置は、前記バッテリの劣化が抑制されるSOCの第1範囲であって、前記バッテリについて予め定められている第1範囲に、前記ΔSOCが含まれるよう、前記第1範囲内に前記上限SOCを設定する、
電動自動車のバッテリマネジメント装置。
【請求項4】
請求項3に記載の電動自動車のバッテリマネジメント装置において、
前記制御装置はさらに、前記バッテリの放電に関して前記モータの駆動力が良好となるSOCの第2範囲に、前記ΔSOCが含まれるよう、前記第2範囲内に前記上限SOCを設定する、
電動自動車のバッテリマネジメント装置。
【請求項5】
請求項4に記載の電動自動車のバッテリマネジメント装置において、
前記SOCの前記第2範囲は、予め定められている、又は、ユーザによる前記電動自動車の使用態様から学習設定される、
電動自動車のバッテリマネジメント装置。
【請求項6】
請求項3又は4に記載の電動自動車のバッテリマネジメント装置において、
前記制御装置はさらに、前記バッテリの充電に関して前記電動自動車の電費が良好となるSOCの第3範囲に、前記ΔSOCが含まれるよう、前記第3範囲内に前記上限SOCを設定する、
電動自動車のバッテリマネジメント装置。
【請求項7】
請求項6に記載の電動自動車のバッテリマネジメント装置において、
前記SOCの前記第3範囲は、予め定められている、又は、ユーザによる前記電動自動車の使用態様から学習設定される、
電動自動車のバッテリマネジメント装置。
【請求項8】
請求項1に記載の電動自動車のバッテリマネジメント装置において、
前記バッテリのSOCを表示する表示装置をさらに備え、
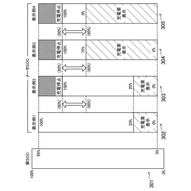
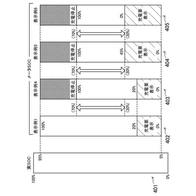
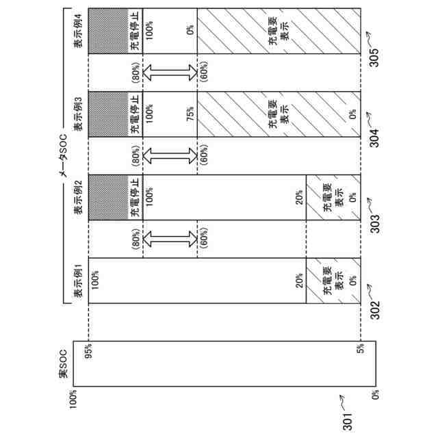
前記表示装置は、設定された上限SOCを、100%と表示する、
電動自動車のバッテリマネジメント装置。
【請求項9】
請求項8に記載の電動自動車のバッテリマネジメント装置において、
前記制御装置は、前記上限SOCと前記ΔSOCとから、前記バッテリの下限SOCを設定し、
前記表示装置は、設定された前記下限SOCに基づいて、前記バッテリの充電を前記ユーザに促す表示を行う、
電動自動車のバッテリマネジメント装置。
【請求項10】
請求項9に記載の電動自動車のバッテリマネジメント装置において、
前記表示装置は、前記下限SOCを、0%と表示する、
電動自動車のバッテリマネジメント装置。
発明の詳細な説明
【技術分野】
【0001】
ここに開示する技術は、電動自動車のバッテリマネジメント装置に関する。
続きを表示(約 1,800 文字)
【背景技術】
【0002】
特許文献1には、従来の電池残容量表示装置が記載されている。電池残容量表示装置は、電動自動車に搭載されたバッテリの残容量を、所定のスケールにおいて表示する。電池残容量表示装置は、バッテリの劣化に応じてスケールを縮小させてバッテリの残容量を表示する。
【先行技術文献】
【特許文献】
【0003】
特開2003-217692号公報
【発明の概要】
【発明が解決しようとする課題】
【0004】
電動自動車に搭載されるバッテリは、充放電が繰り返されることにより劣化する。その一方で、バッテリの劣化が抑制されるようにバッテリの充電を制御することも可能である。例えばバッテリのSOC(State Of Charge)が比較的高い状態で充放電を繰り返したり、逆にSOCが比較的低い状態で充放電を繰り返したりすると、バッテリが劣化しやすい。バッテリが劣化しにくいSOCの範囲でバッテリが充放電すれば、バッテリの劣化が抑制される。
【0005】
例えばバッテリのSOCが高くならないよう、予め定めた上限SOCに従ってバッテリの充電を強制的に終了することにより、バッテリの劣化を抑制することが考えられる。ところが、電動自動車の使用態様は、ユーザ毎に異なる。例えば、あるユーザは、ワンドライブで低下するバッテリのSOCが比較的小さいが、充電の頻度が高い。別のユーザは、ワンドライブで低下するバッテリのSOCが比較的小さいが、充電の頻度が低い。さらに別のユーザは、ワンドライブで低下するバッテリのSOCが比較的大きいが、充電の頻度が低い。さらに別のユーザは、ワンドライブで低下するバッテリのSOCが比較的大きいが、充電の頻度が高い。バッテリの充電と次の充電との間において、ユーザによる電動自動車の使用に伴い低下するバッテリのSOC(つまりΔSOC)は、ユーザ毎に異なる。
【0006】
そのため、予め定められた上限SOCに従って一律にバッテリの充電を制御すると、ユーザの使用態様によっては、バッテリのSOCが不足するおそれがある。
【0007】
ここに開示する技術は、バッテリのSOCをユーザによる電動自動車の使用態様に適合させながら、バッテリの劣化を抑制する。
【課題を解決するための手段】
【0008】
ここに開示する技術は、電動自動車のバッテリマネジメント装置に係る。この電動自動車のバッテリマネジメント装置は、
電動自動車に搭載されかつ前記電動自動車の走行用駆動力を出力するモータと、
前記モータへ供給する電気エネルギを蓄積するバッテリと、
前記バッテリの充電を制御する制御装置と、を備え、
前記制御装置は、
前記バッテリの充電と次の充電との間において、ユーザによる前記電動自動車の使用に伴い低下した前記バッテリのSOCの情報(ΔSOC)を取得し、
取得した前記ΔSOCと前記バッテリの容量とに基づいて、前記バッテリの上限SOCを設定し、
設定した前記上限SOCに従って、前記バッテリの充電を停止する。
【0009】
電動自動車は、バッテリから電気エネルギの供給を受けたモータが走行用駆動力を出力することによって、走行する。電動自動車の走行距離が長くなれば、バッテリのSOCは低下する。バッテリのSOCが低下すれば、電動自動車のユーザは、バッテリを充電する。バッテリの充電によってバッテリのSOCが高まる。
【0010】
制御装置は、バッテリの充電と次の充電との間において、ユーザによる電動自動車の使用に伴い低下したバッテリのSOCの情報(ΔSOC)を取得する。ΔSOCには、ユーザによる電動自動車の使用態様が反映される。電動自動車の使用態様には、ワンドライブにおける走行距離、及び/又は、充電を行う頻度が含まれる。例えばワンドライブで低下するバッテリのSOCが比較的小さいが、充電の頻度が高いユーザの場合、ΔSOCは比較的小さい。ワンドライブで低下するバッテリのSOCが比較的大きいが、充電の頻度が低いユーザの場合、ΔSOCは比較的大きい。なお、ワンドライブは、ユーザが電動自動車に乗車し電動自動車が発進してから、電動自動車が停車しユーザが電動自動車を降車するまでをいう。
(【0011】以降は省略されています)
この特許をJ-PlatPat(特許庁公式サイト)で参照する
関連特許
個人
電気を重力で発電装置
27日前
個人
高圧電気機器の開閉器
14日前
キヤノン電子株式会社
モータ
26日前
キヤノン電子株式会社
モータ
1か月前
日星電気株式会社
ケーブル組立体
1か月前
コーセル株式会社
電源装置
1か月前
トヨタ自動車株式会社
モータ
26日前
株式会社アイドゥス企画
減反モータ
14日前
株式会社デンソー
端子台
7日前
個人
二次電池繰返パルス放電器用印刷基板
1か月前
ローム株式会社
半導体集積回路
5日前
株式会社デンソー
電力変換装置
1か月前
本田技研工業株式会社
回転電機
今日
株式会社日立製作所
回転電機
5日前
矢崎総業株式会社
電源回路
13日前
トヨタ自動車株式会社
固定子の加熱装置
1か月前
株式会社TMEIC
制御装置
6日前
矢崎総業株式会社
給電装置
6日前
日産自動車株式会社
ロータシャフト
21日前
大和ハウス工業株式会社
敷設用機器
6日前
ローム株式会社
モータドライバ回路
21日前
日産自動車株式会社
ロータシャフト
21日前
トヨタ自動車株式会社
ステータの製造装置
27日前
山洋電気株式会社
モータ
1か月前
個人
非対称鏡像力を有する4層PWB電荷搬送体
21日前
京商株式会社
模型用非接触電力供給システム
14日前
株式会社明治ゴム化成
ワイヤレス給電用部品
1か月前
株式会社土井製作所
ケーブル保護管路
5日前
株式会社アイシン
電力変換装置
26日前
個人
電線盗難防止方法及び電線盗難防止装置
1か月前
トヨタ紡織株式会社
ロータの製造装置
1か月前
株式会社マキタ
電動作業機
1か月前
株式会社TMEIC
電力変換装置
6日前
トヨタ自動車株式会社
可変界磁ロータ
29日前
Astemo株式会社
充電制御装置
5日前
トヨタ自動車株式会社
熱利用回路
7日前
続きを見る
他の特許を見る