TOP
|
特許
|
意匠
|
商標
特許ウォッチ
Twitter
他の特許を見る
公開番号
2025152877
公報種別
公開特許公報(A)
公開日
2025-10-10
出願番号
2024055046
出願日
2024-03-28
発明の名称
車載エンジンのCO2回収システム
出願人
マツダ株式会社
代理人
弁理士法人前田特許事務所
主分類
F01N
3/08 20060101AFI20251002BHJP(機械または機関一般;機関設備一般;蒸気機関)
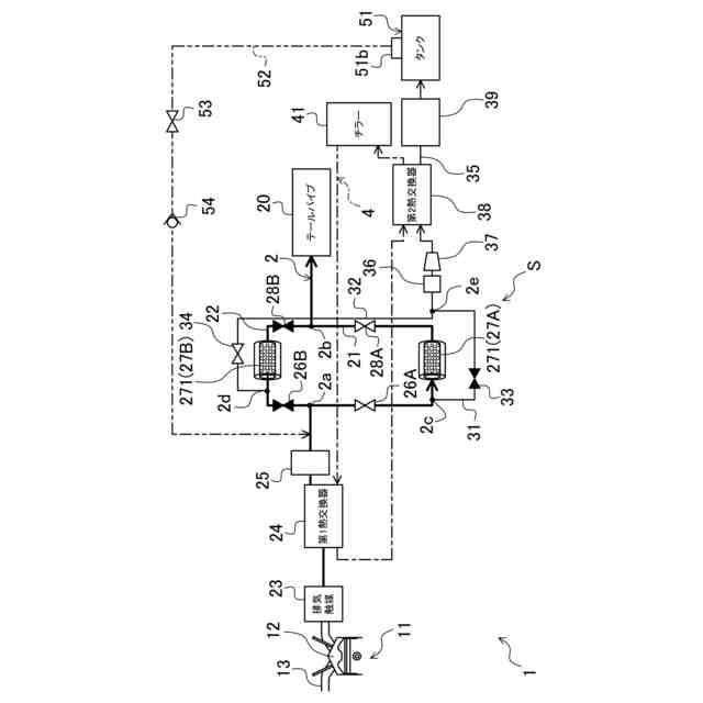
要約
【課題】CO
2
の貯蔵効率を向上させる。
【解決手段】CO
2
回収システムSは、排気触媒23の下流に配置された第1吸着装置27Aと、第1吸着装置27Aと並列に接続された第2吸着装置27Bと、第1及び第2吸着装置27A,27Bの下流に配置されたガス貯蔵タンク51と、第1及び第2吸着装置27A,27Bをそれぞれ吸着状態と脱離状態とに切り替える流路切替装置5と、を備え、ガス貯蔵タンク51は、該ガス貯蔵タンク51に流入したCO
2
含有ガスを外部へ放出させる放出口51bを有する。
【選択図】図2
特許請求の範囲
【請求項1】
車載エンジンのシリンダと、排気管の下流端との間に配置され、前記シリンダから排出された排気ガスを流通させるとともに、該排気ガス中のCO
2
を回収する車載エンジンのCO
2
回収システムであって、
排気触媒の下流に配置され、高圧時及び低温時の少なくとも一方に際しては排気ガス中のCO
2
を吸着し、低圧時及び高温時の少なくとも一方に際しては吸着したCO
2
を脱離するCO
2
吸着材を含んで構成された第1吸着装置と、
排気ガスの流れ方向において前記第1吸着装置と並列に接続され、前記CO
2
吸着材を含んで構成された第2吸着装置と、
前記第1及び第2吸着装置の下流に配置され、該第1及び第2吸着装置の一方から脱離させたCO
2
を含んだCO
2
含有ガスを流入させるとともに、前記CO
2
吸着材が内蔵されたガス貯蔵タンクと、
前記第1及び第2吸着装置を、それぞれ、前記排気触媒と前記下流端との間に接続した吸着状態と、前記排気触媒から切り離されかつ前記ガス貯蔵タンクに接続された脱離状態と、に切り替える流路切替装置と、を備え、
前記ガス貯蔵タンクは、該ガス貯蔵タンクに流入したCO
2
含有ガスを、該ガス貯蔵タンクの外部へ放出させる放出口を有する
ことを特徴とする車載エンジンのCO
2
回収システムであって、
続きを表示(約 1,400 文字)
【請求項2】
請求項1に記載された車載エンジンのCO
2
回収システムにおいて、
前記放出口に接続され、前記ガス貯蔵タンクから流出するCO
2
含有ガスが流れる第1流通管と、
前記第1流通管に配置され、該第1流通管を通じて流出するCO
2
含有ガスの量を調整するガス量調整部と、
前記ガス量調整部を制御するコントローラと、を備え、
前記コントローラは、前記ガス量調整部を制御することで、前記第1及び第2吸着装置のうち、前記脱離状態とした吸着装置から前記ガス貯蔵タンクに流入したCO
2
含有ガスのうちの所定量を、該ガス貯蔵タンクの外部へと流出させる
ことを特徴とする車載エンジンのCO
2
回収システム。
【請求項3】
請求項2に記載された車載エンジンのCO
2
回収システムにおいて、
前記コントローラは、前記第1及び第2吸着装置の一方からのCO
2
の脱離に際し、
前記排気管のうち、前記吸着状態と前記脱着状態とで共通となる排気管の容積と、前記第1及び第2吸着装置のうち、前記脱着状態にある一方の容積と、の合算値を算出し、
前記所定量が前記合算値となるように、前記ガス量調整部を制御する
ことを特徴とする車載エンジンのCO
2
回収システム。
【請求項4】
請求項2に記載された車載エンジンのCO
2
回収システムにおいて、
前記第1流通管は、前記ガス貯蔵タンクを、前記第1及び第2吸着装置上流の前記排気管に接続し、
前記コントローラは、前記ガス量調整部を制御することで、前記ガス貯蔵タンクの外部へと流出させたガスを、前記第1流通管を介して前記第1及び第2吸着装置の上流に循環させる
ことを特徴とする車載エンジンのCO
2
回収システム。
【請求項5】
請求項4に記載された車載エンジンのCO
2
回収システムにおいて、
前記コントローラは、前記第1及び第2吸着装置の一方からのCO
2
の脱離に際し、
前記一方の吸着装置から、所定の脱離期間にわたってCO
2
を脱離させ、
前記脱離期間と同じ期間にわたって、前記第1流通管を介してCO
2
含有ガスを放出させるとともに、該放出時におけるCO
2
含有ガスの流量が一定になるように、前記ガス量調整部を制御する
ことを特徴とする車載エンジンのCO
2
回収システム。
【請求項6】
請求項4に記載された車載エンジンのCO
2
回収システムにおいて、
前記コントローラは、前記第1及び第2吸着装置の一方からのCO
2
の脱離に際し、
前記一方の吸着装置からのCO
2
の脱離期間中、前記排気管における排気ガスの圧力が所定圧力以下となるように、前記ガス量調整部を制御し、
前記コントローラは、前記車載エンジンの運転状態に基づいて、前記所定圧力を決定する
ことを特徴とする車載エンジンのCO
2
回収システム。
発明の詳細な説明
【技術分野】
【0001】
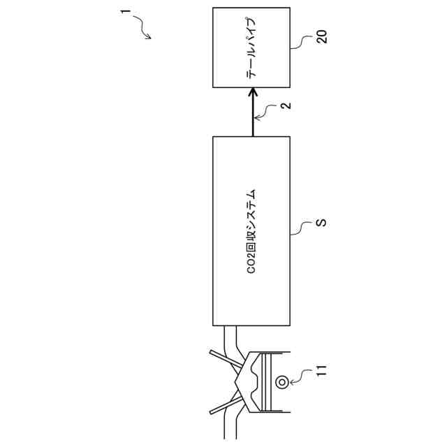
本開示は、車載エンジンのCO
2
回収システムに関する。
続きを表示(約 1,500 文字)
【背景技術】
【0002】
例えば特許文献1には、内燃機関のCO
2
分離装置が開示されている。この分離装置は、第1及び第2CO
2
吸着器と、第1及び第2CO
2
吸着器の下流に配置されたガス貯蔵タンクと、上流側切替バルブ及び下流側切替バルブと、を備えている。
【0003】
ここで、CO2吸着器には、温度に応じてCO
2
を吸着及び脱離可能な所定の吸着材が設けられている。上流側切替バルブ及び下流側切替バルブは、第1及び第2CO
2
吸着器と、ガス貯蔵タンクとを結んだ流路構造を切り替える。上流側切替バルブ及び下流側切替バルブを制御することで、第1及び第2CO
2
吸着器のうち、排気ガスからCO
2
を吸着する一方と、ガス貯蔵タンクに接続されて脱離したCO
2
を貯蔵させる他方と、を互い違いに切り替えることができる。
【0004】
また、特許文献2には、二酸化炭素回収装置の一例が開示されている。この装置は、第1吸着材が収容された吸着タンクを備えている。ここで、第1吸着材は、排気ガスに含まれる二酸化炭素を吸着するように構成されている。
【先行技術文献】
【特許文献】
【0005】
特開2023-118528号公報
特開2016-131921号公報
【発明の概要】
【発明が解決しようとする課題】
【0006】
ところで、前記特許文献1に記載されているように流路構造を切り替えるように構成した場合、排気ガスを流通させて、その排気ガスからCO
2
を吸着するCO
2
吸着器と、排気ガスの流通から切り離されて、ガス貯蔵タンクへと脱離したCO
2
を送り込むCO
2
吸着器と、がそれぞれ交互に切り替わることになる。
【0007】
この場合、脱離したCO
2
を送り込む側のCO
2
吸着器も、それ以前は排気ガスが流通していたことになる。その場合、CO
2
吸着器からガス貯蔵タンクへと通じる排気管の一部には、窒素等、CO
2
以外の排気ガス含有物が残存することになる。
【0008】
そのため、ガス貯蔵タンクには、CO
2
吸着器から脱離したCO
2
に加えて、排気管の一部に残存した窒素等の含有物も送り込まれることになる。ガス貯蔵タンクは、窒素等の含有物が送られた分だけ高圧になる。ガス貯蔵タンクの最大圧力には限度があるため、その限度内に収めるためには、ガス貯蔵タンクにおけるCO
2
の貯蔵量を犠牲にする必要がある。このことは、CO
2
の貯蔵効率を確保する上で不都合である。
【0009】
こうした問題に対し、特許文献2に記載されているような第1吸着材の代わりに、窒素ガスを吸着可能な吸着材をガス貯蔵タンクに内蔵させることが考えられる。しかしながら、そのような方策は、ガス貯蔵タンクの製造コスト、吸着材のレイアウト等の観点で不都合である。
【0010】
本開示は、かかる点に鑑みてなされたものであり、その目的とするところは、CO
2
の貯蔵効率を向上させることにある。
【課題を解決するための手段】
(【0011】以降は省略されています)
この特許をJ-PlatPat(特許庁公式サイト)で参照する
関連特許
マツダ株式会社
二次電池
1か月前
マツダ株式会社
二次電池
1か月前
マツダ株式会社
車載機器
1か月前
マツダ株式会社
回転電機
5日前
マツダ株式会社
エンジン
1か月前
マツダ株式会社
排気システム
1か月前
マツダ株式会社
運転支援装置
1か月前
マツダ株式会社
運転支援装置
1か月前
マツダ株式会社
排気システム
1か月前
マツダ株式会社
運転支援装置
1か月前
マツダ株式会社
車体後部構造
27日前
マツダ株式会社
車両の前部構造
1か月前
マツダ株式会社
車両の下部構造
5日前
マツダ株式会社
車両の上部構造
1か月前
マツダ株式会社
インバータ装置
1か月前
マツダ株式会社
インバータ装置
1か月前
マツダ株式会社
車両の下部構造
7日前
マツダ株式会社
車両の下部構造
7日前
マツダ株式会社
インバータ装置
1か月前
マツダ株式会社
車両の下部構造
5日前
マツダ株式会社
インバータ装置
1か月前
マツダ株式会社
車両の前部構造
6日前
マツダ株式会社
車両の前部構造
6日前
マツダ株式会社
バッテリ冷却構造
13日前
マツダ株式会社
バッテリ冷却構造
13日前
マツダ株式会社
バッテリユニット
26日前
マツダ株式会社
バッテリユニット
26日前
マツダ株式会社
エンジンの制御装置
1か月前
マツダ株式会社
二次電池の制御装置
1か月前
マツダ株式会社
車両用フレーム部材
6日前
マツダ株式会社
車両用フレーム部材
6日前
マツダ株式会社
二次電池の制御装置
1か月前
マツダ株式会社
エンジンの燃焼室構造
1か月前
マツダ株式会社
エンジンの燃焼室構造
1か月前
マツダ株式会社
被覆金属材の試験方法
1か月前
マツダ株式会社
自動変速機の油路構造
1か月前
続きを見る
他の特許を見る