TOP
|
特許
|
意匠
|
商標
特許ウォッチ
Twitter
他の特許を見る
10個以上の画像は省略されています。
公開番号
2025172287
公報種別
公開特許公報(A)
公開日
2025-11-26
出願番号
2024077658
出願日
2024-05-13
発明の名称
車両の下部構造
出願人
マツダ株式会社
代理人
弁理士法人三協国際特許事務所
主分類
B62D
25/20 20060101AFI20251118BHJP(鉄道以外の路面車両)
要約
【課題】側突時にポールなどの障害物から側突荷重がサイドシルに入力された場合にも、入力された側突荷重を車幅方向反対側のサイドシルへと伝達することでフロア部を保護できる車両の下部構造を提供する。
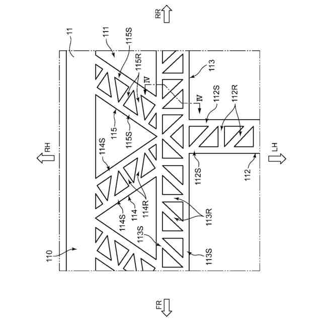
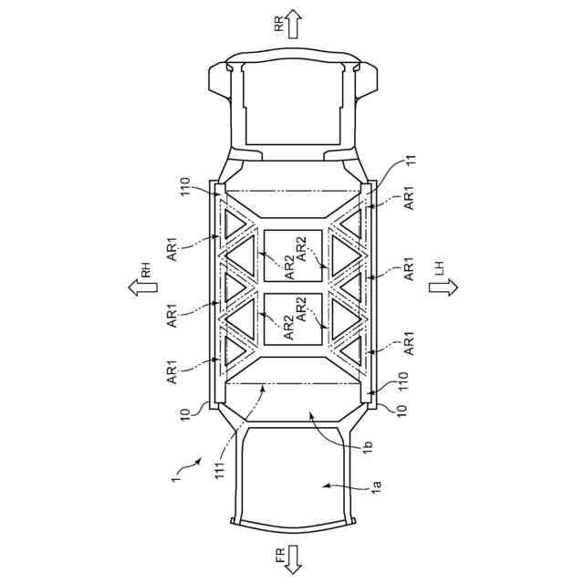
【解決手段】骨格部材11は、一対の側梁部110と内側骨格部111とを備える。内側骨格部111は、それぞれが車幅方向内側から車幅方向外側へと行くのに従って前方へと延びるように形成された複数の第1斜梁部位114と、それぞれが車幅方向内側から車幅方向外側へと行くのに従って後方へと延びるように形成された複数の第2斜梁部位115と、を有する。骨格部材11は、それぞれが側梁部110と前後方向に隣り合う第1斜梁部位114および第2斜梁部位115とで構成され、車幅方向の両側で前後方向に連続するように構成された複数の三角構造部AR1を有する。
【選択図】図2
特許請求の範囲
【請求項1】
車両におけるフロア部の下部構造であって、
前記フロア部の車幅方向両側に配設されるとともに、それぞれが前記車両の前後方向に延びるように形成された一対のサイドシルと、
前記一対のサイドシル同士の間に配設された骨格部材と、
を備え、
前記骨格部材は、
それぞれが前記サイドシルに沿って前記前後方向に延びるように形成され、且つ、前記サイドシルに接続された一対の側梁部と、
複数の梁構造部位の組み合わせで形成され、且つ、前記一対の側梁部同士を接続する内側骨格部と、
を有し、
前記骨格部材は、それぞれが前記側梁部と前記複数の梁構造部位とで平面視三角形状に構成された複数の三角構造部であって、且つ、車幅方向の両側で前記前後方向に連続するように構成された前記複数の三角構造部を有する、
車両の下部構造。
続きを表示(約 1,400 文字)
【請求項2】
前記複数の梁構造部位は、それぞれが車幅方向内側から車幅方向外側へと行くのに従って斜め前方へと延びるように形成されるとともに車幅方向外側の端部が前記側梁部に接続された複数の第1斜梁部位と、それぞれが車幅方向内側から車幅方向外側へと行くのに従って斜め後方へと延びるように形成されるとともに車幅方向外側の端部が前記側梁部に接続された複数の第2斜梁部位と、を含み、
前記第1斜梁部位と前記第2斜梁部位とは、車幅方向の両側のそれぞれにおいて前記前後方向に交互に配されているとともに、前記前後方向に隣り合う前記第1斜梁部位と前記第2斜梁部位とが互いに端部同士が接続されており、
前記複数の三角構造部のそれぞれは、前記側梁部と、前記隣り合う前記第1斜梁部位および前記第2斜梁部位と、で構成されている、
請求項1に記載の車両の下部構造。
【請求項3】
前記複数の梁構造部位は、それぞれが前記前後方向に延びるように形成された一対の縦梁部位であって、且つ、前記隣り合う前記第1斜梁部位と前記第2斜梁部位との接続箇所同士を接続するように配設された前記一対の縦梁部位を、さらに含み、
前記複数の三角構造部を複数の第1三角構造部とする場合に、
前記骨格部材は、前記縦梁部位と、前記隣り合う前記第1斜梁部位および前記第2斜梁部位と、で構成された複数の第2三角構造部であって、且つ、車幅方向の両側で前記前後方向に連続するように構成された前記複数の第2三角構造部を有する、
請求項2に記載の車両の下部構造。
【請求項4】
前記複数の梁構造部位は、それぞれが車幅方向に延びるように形成された複数の横梁部位であって、且つ、車幅方向の一方側における前記第1斜梁部位と前記第2斜梁部位との接続箇所と、車幅方向の他方側における前記第1斜梁部位と前記第2斜梁部位との接続箇所と、を接続する前記複数の横梁部位を、さらに含む、
請求項2に記載の車両の下部構造。
【請求項5】
車幅方向の一方側における前記第1斜梁部位と前記第2斜梁部位との接続箇所と、車幅方向の他方側における前記第1斜梁部位と前記第2斜梁部位との接続箇所と、は直に接続されている、
請求項2に記載の車両の下部構造。
【請求項6】
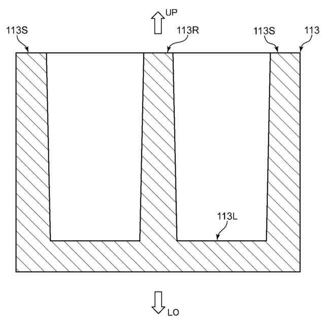
前記複数の梁構造部位の少なくとも一部は、当該梁構造部位が延びる方向に沿って延びるように形成された一対の側壁部と、前記一対の側壁部同士を接続するように形成されたリブと、を有する、
請求項1から請求項5の何れかに記載の車両の下部構造。
【請求項7】
前記骨格部材は、一体形成されてなる、
請求項1から請求項5の何れかに記載の車両の下部構造。
【請求項8】
前記一対の側梁部のそれぞれは、前記一対のサイドシルに固定されている、
請求項1から請求項5の何れかに記載の車両の下部構造。
【請求項9】
前記一対のサイドシルのそれぞれは、車幅方向外側に配されるサイドシルアウタと、車幅方向内側に配されるとともに前記サイドシルアウタに固定されるサイドシルインナとを有し、
前記サイドシルを構成する前記サイドシルアウタと前記サイドシルインナの内の少なくとも前記サイドシルインナは、前記骨格部材と一体形成されてなる、
請求項1から請求項5の何れかに記載の車両の下部構造。
発明の詳細な説明
【技術分野】
【0001】
本発明は、車両の下部構造に関し、特にフロア部における下部構造に関する。
続きを表示(約 1,700 文字)
【背景技術】
【0002】
乗用自動車などの車両では、乗員が乗車するフロア部の剛性を確保し、側突時にもフロア部を保護する研究・開発が継続的になされている。
【0003】
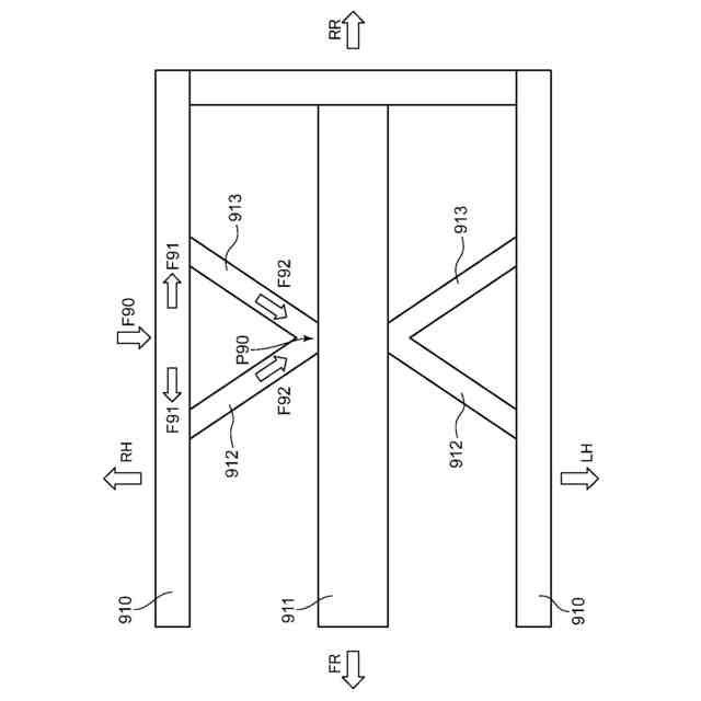
図9に示すように、特許文献1に開示の車両は、一対のサイドシル910と、フロアトンネル911と、一対の第1クロスメンバ912と、一対の第2クロスメンバ913と、を備える。一対のサイドシル910は、それぞれが車両の前後方向の延びるとともに、フロア部における車幅方向の両側に配されている。フロアトンネル911は、車幅方向の中央部分において、フロアパネルの一部が上方に膨出されるとともに、前後方向に延びるように形成されている。
【0004】
一対の第1クロスメンバ912のそれぞれは、車幅方向内側の端部がフロアトンネル911に接合され、車幅方向外側へと行くのに従って斜め前方に延びるように形成されるとともに、車幅方向外側の端部がサイドシル910に接合されている。一対の第2クロスメンバ913のそれぞれは、車幅方向内側の端部がフロアトンネル911に接合され、車幅方向外側へと行くのに従って斜め後方に延びるように形成されるとともに、車幅方向外側の端部がサイドシル910に接合されている。
【0005】
車幅方向のそれぞれにおける第1クロスメンバ912と第2クロスメンバ913とは、フロアトンネル911との各接合箇所P90で互いに連結されている。
【先行技術文献】
【特許文献】
【0006】
特開2007-296957号公報
【発明の概要】
【発明が解決しようとする課題】
【0007】
しかしながら、上記特許文献1に開示の車両は、フロアトンネル911に対して左右それぞれに1つの第1クロスメンバ912と1つの第2クロスメンバ913とを備えるのみであるので、側突時に入力される側突荷重F90を車幅方向の反対側のサイドシル910へと伝達することが難しいと考えられる。即ち、側突荷重F90は、サイドシル910を前後方向に伝達され(荷重F91)、第1クロスメンバ912および第2クロスメンバ913へと入力されることになるものと考えられる(荷重F92)。この場合において、荷重F92は、接合箇所P90に集中する。よって、上記特許文献1に開示の車両では、側突時において、接合箇所P90でクロスメンバ912,913とフロアトンネル911との接合が破断したりすることがあり、側突荷重F90を車幅方向反対側のサイドシル910へと伝達することができないことが考えられる。このように側突荷重F90を車幅方向反対側のサイドシル910へと伝達することができない場合には、フロア部が変形したり一部で破断したりするなど十分に保護されないこととなることが懸念される。
【0008】
本発明は、上記のような問題の解決を図ろうとなされたものであって、側突時にポールなどの障害物から側突荷重がサイドシルに入力された場合にも、入力された側突荷重を車幅方向反対側のサイドシルへと伝達することでフロア部を保護できる車両の下部構造を提供することを目的とする。
【課題を解決するための手段】
【0009】
本発明の一態様に係る車両の下部構造は、車両におけるフロア部の下部構造であって、一対のサイドシルと骨格部材とを備える。前記一対のサイドシルは、前記フロア部の車幅方向の両側に配設されるとともに、それぞれが前記車両の前後方向に延びるように形成されている。前記骨格部材は、前記一対のサイドシル同士の間に配設されている。
【0010】
前記骨格部材は、一対の側梁部と内側骨格部とを有する。前記一対の側梁部は、それぞれが前記サイドシルに沿って前記前後方向に延びるように形成され、且つ、前記サイドシルに接続されている。前記内側骨格部は、複数の梁構造部位の組み合わせで形成され、且つ、前記一対の側梁部同士を接続する。
(【0011】以降は省略されています)
この特許をJ-PlatPat(特許庁公式サイト)で参照する
関連特許
マツダ株式会社
運転支援装置
1か月前
マツダ株式会社
運転支援装置
1か月前
マツダ株式会社
車体後部構造
21日前
マツダ株式会社
車両の下部構造
1日前
マツダ株式会社
車両の上部構造
28日前
マツダ株式会社
車両の前部構造
今日
マツダ株式会社
車両の前部構造
今日
マツダ株式会社
車両の下部構造
1日前
マツダ株式会社
バッテリ冷却構造
7日前
マツダ株式会社
バッテリユニット
20日前
マツダ株式会社
バッテリユニット
20日前
マツダ株式会社
バッテリ冷却構造
7日前
マツダ株式会社
車両用フレーム部材
今日
マツダ株式会社
車両用フレーム部材
今日
マツダ株式会社
塗布方法及び塗布装置
7日前
マツダ株式会社
運転者の覚醒維持装置
今日
マツダ株式会社
バッテリ温度制御システム
1か月前
マツダ株式会社
車両のドア構造およびその製造方法
28日前
マツダ株式会社
車両用フレーム部材および車体前部構造
7日前
マツダ株式会社
車両用フレーム部材および車体前部構造
7日前
マツダ株式会社
車両の構造設計方法及び構造設計プログラム
1日前
マツダ株式会社
バッテリユニットを搭載した車両の前部車体構造
20日前
マツダ株式会社
車両の上部構造、および車両の上部構造の製造方法
28日前
マツダ株式会社
バッテリユニット及びバッテリユニットの製造方法。
20日前
マツダ株式会社
樹脂成形品の解析方法、解析装置、解析用プログラム及び記録媒体
1か月前
マツダ株式会社
ゴム材料の応力-ひずみ特性予測方法、装置、プログラム、記録媒体及び設計方法
1か月前
個人
カート
4か月前
個人
走行装置
5か月前
個人
三輪バイク
1か月前
個人
台車
7日前
個人
乗り物
6か月前
個人
電動走行車両
5か月前
個人
駐輪設備
2か月前
個人
自転車用歩数計
1か月前
個人
発音装置
8か月前
個人
閂式ハンドル錠
5か月前
続きを見る
他の特許を見る