TOP
|
特許
|
意匠
|
商標
特許ウォッチ
Twitter
他の特許を見る
10個以上の画像は省略されています。
公開番号
2025167823
公報種別
公開特許公報(A)
公開日
2025-11-07
出願番号
2024072762
出願日
2024-04-26
発明の名称
バッテリユニットを搭載した車両の前部車体構造
出願人
マツダ株式会社
代理人
弁理士法人前田特許事務所
主分類
B62D
25/20 20060101AFI20251030BHJP(鉄道以外の路面車両)
要約
【課題】トルクボックスの機能を適切に確保しながら、バッテリユニットの容量を増大させる。
【解決手段】フロアパネル8の前端部分の下面にボックスパネル71を取り付けることによって形成される閉断面構造を有し、フロアパネル8と協働して左右それぞれのフロントサイドフレーム5の後端部5bとサイドシル6の前端部とを連結するトルクボックス70を備える。バッテリユニット30は、上面視が矩形の外観を有し、フロアパネル8に沿って拡がるようにフロアパネル8の下方に配置されている。バッテリユニット30の前端部分に設けられた段差部68にトルクボックス70を受け入れることにより、バッテリユニット30の前端部分とトルクボックス70とが上下に重なるように配置されている。
【選択図】図3
特許請求の範囲
【請求項1】
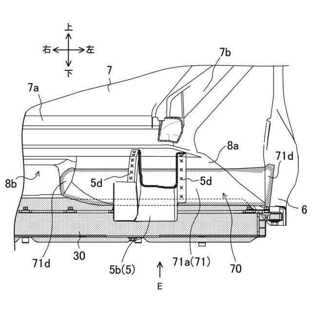
バッテリユニットを搭載した車両の前部車体構造であって、
前記車両の車室の床面を構成するフロアパネルと、
前記フロアパネルの左右の両側縁に沿って前後方向に延びる一対のサイドシルと、
前記フロアパネルの前側から左右に離れて前方に延びる一対のフロントサイドフレームと、
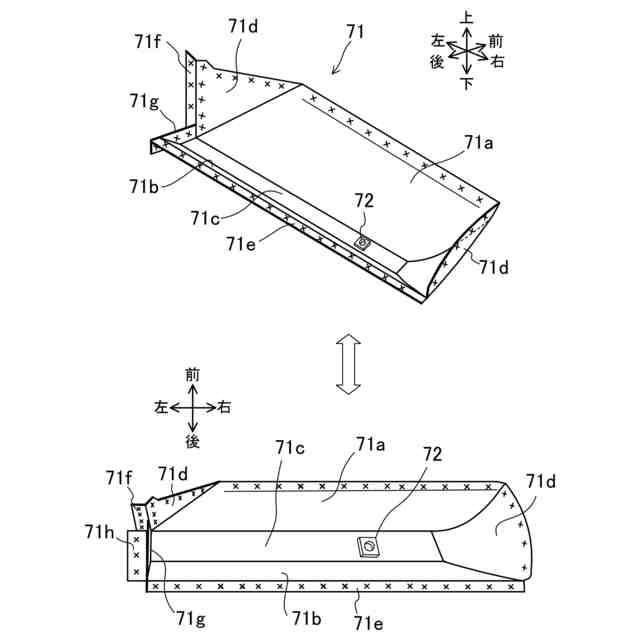
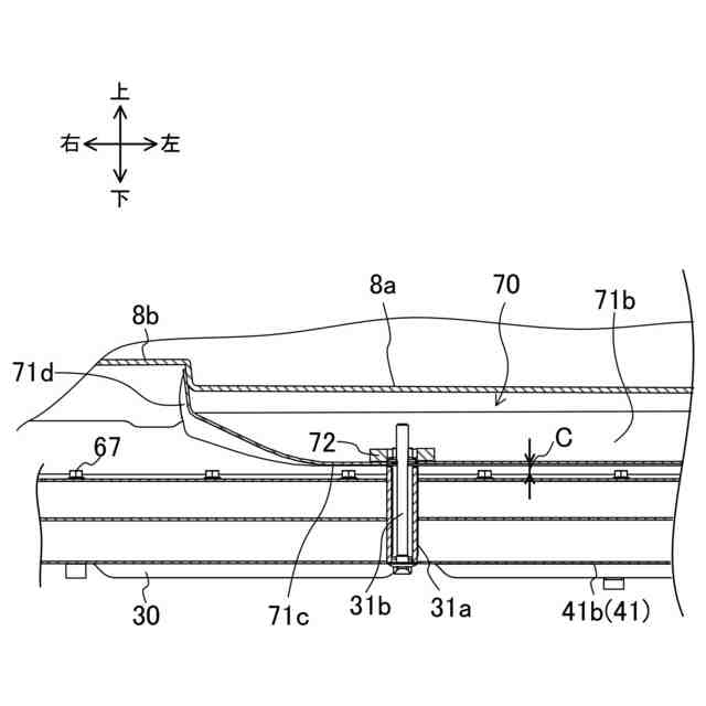
前記フロアパネルの前端部分の下面にボックスパネルを取り付けることによって形成される閉断面構造を有し、当該フロアパネルと協働して左右それぞれの前記フロントサイドフレームの後端部と前記サイドシルの前端部とを連結するトルクボックスと、
を備え、
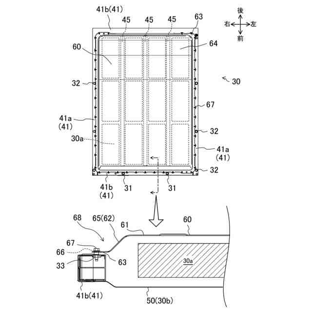
前記バッテリユニットは、上面視が矩形の外観を有し、前記フロアパネルに沿って拡がるように当該フロアパネルの下方に配置されており、
前記バッテリユニットの前端部分に、当該バッテリユニットの上面よりも高さの低い段差部が設けられていて、前記トルクボックスを前記段差部に受け入れることにより、前記バッテリユニットの前端部分と前記トルクボックスとが上下に重なるように配置されている、車両の前部車体構造。
続きを表示(約 700 文字)
【請求項2】
請求項1に記載の車両の前部車体構造において、
前記トルクボックスは、前方に臨む前壁部、後方に臨む後壁部、及び、下方に臨む下壁部を有し、
前記下壁部及び前記後壁部に沿うように前記段差部が形成されている、車両の前部車体構造。
【請求項3】
請求項2に記載の車両の前部車体構造において、
前記トルクボックスは、側方に臨む側壁部を更に有し、
前記トルクボックスが複数の方向から前記サイドシルの前端部に接合されている、車両の前部車体構造。
【請求項4】
請求項2又は3に記載の車両の前部車体構造において、
前記前壁部を介して前記フロントサイドフレームの後端部の双方が前記トルクボックスに接合されている、車両の前部車体構造。
【請求項5】
請求項2に記載の車両の前部車体構造において、
前記バッテリユニットは、バッテリセルを収容するバッテリケースを有し、
前記バッテリケースは、矩形の枠材と、当該枠材に組み付けられて前記バッテリセルの上下を覆う底材及び蓋材とを有し、
前記下壁部と対向する前記枠材と前記後壁部と対向する前記蓋材とによって、前記段差部が構成されており、
前記枠材が前記下壁部に固定されている、車両の前部車体構造。
【請求項6】
請求項5に記載の車両の前部車体構造において、
前記トルクボックスを含めた前記フロアパネルの下面と、前記枠材及び前記蓋材を含めた前記バッテリケースの上面とが所定の隙間を隔てて対向している、車両の前部車体構造。
発明の詳細な説明
【技術分野】
【0001】
開示する技術は、電気自動車などの、走行用のバッテリユニットを搭載した車両の前部車体構造に関する。
続きを表示(約 1,100 文字)
【背景技術】
【0002】
この種の前部車体構造は、特許文献1に開示されている。
【0003】
特許文献1の前部車体構造では、左右一対のフロントサイドフレーム14が、車幅方向に延びるクロスメンバ18に連結されている。そのクロスメンバ18の左右の端部は、それぞれアウトリガー26を介して、左右一対のサイドシル16に連結されている。
【0004】
各アウトリガー26の車幅方向の内側には、後方に向かうほど車幅方向を外側に傾斜した傾斜面58が設けられている。バッテリケース52の左右の前隅部分には傾斜面56が設けられている。これら傾斜面56と各アウトリガー26の傾斜面58とが、クリアランスを介して対向するように配置されている。
【先行技術文献】
【特許文献】
【0005】
特開2019-18821号公報
【発明の概要】
【発明が解決しようとする課題】
【0006】
バッテリユニットは、高重量かつ大容量である。そのため、バッテリユニットは、面積の広いフロアパネルの下方に拡がるように配設されるのが一般的である。
【0007】
しかし、フロアパネルの下方のスペースは高さに制約がある。そのため、バッテリユニットは、水平方向に大きくしたい。それに対し、車体の前部には、車両の前方から作用する荷重を受け止める一対のフロントサイドフレームがある。
【0008】
その荷重を後方の一対のサイドシルに伝達するために、特許文献1の車体構造では、クロスメンバ及び一対のアウトリガーが設けられている。それに伴って、特許文献1のバッテリユニットの左右の前隅部分は、上方から見て、切り落とした形状となっている。特許文献1の車体構造では、その分、バッテリユニットの容量が減る不利がある。
【0009】
一方、強度及び剛性に優れた閉断面構造のトルクボックスを介して、各フロントサイドフレームの荷重を各サイドシルに伝達させる場合がある。トルクボックスにおいて、荷重の伝達を適切に機能させるためには、適度な容積で、かつ、閉断面のアスペクト比(縦横比)の偏りが小さいトルクボックスを構成する必要がある。
【0010】
そのため、バッテリユニットを前方に大きくすると、トルクボックスと干渉する。従って、この場合も、特許文献1の車体構造と同様に、トルクボックスを避けてバッテリユニットを配設せざるを得ない。バッテリユニットの容量が減る。
(【0011】以降は省略されています)
この特許をJ-PlatPat(特許庁公式サイト)で参照する
関連特許
マツダ株式会社
回転電機
今日
マツダ株式会社
二次電池
1か月前
マツダ株式会社
二次電池
1か月前
マツダ株式会社
エンジン
1か月前
マツダ株式会社
車載機器
1か月前
マツダ株式会社
車体後部構造
22日前
マツダ株式会社
排気システム
1か月前
マツダ株式会社
運転支援装置
1か月前
マツダ株式会社
排気システム
1か月前
マツダ株式会社
運転支援装置
1か月前
マツダ株式会社
運転支援装置
1か月前
マツダ株式会社
インバータ装置
1か月前
マツダ株式会社
車両の下部構造
今日
マツダ株式会社
インバータ装置
1か月前
マツダ株式会社
車両の上部構造
29日前
マツダ株式会社
インバータ装置
1か月前
マツダ株式会社
車両の下部構造
今日
マツダ株式会社
インバータ装置
1か月前
マツダ株式会社
車両の下部構造
2日前
マツダ株式会社
車両の前部構造
1日前
マツダ株式会社
車両の前部構造
1日前
マツダ株式会社
車両の下部構造
2日前
マツダ株式会社
車両の前部構造
1か月前
マツダ株式会社
バッテリユニット
21日前
マツダ株式会社
バッテリ冷却構造
8日前
マツダ株式会社
バッテリユニット
21日前
マツダ株式会社
バッテリ冷却構造
8日前
マツダ株式会社
二次電池の制御装置
1か月前
マツダ株式会社
エンジンの制御装置
1か月前
マツダ株式会社
車両用フレーム部材
1日前
マツダ株式会社
車両用フレーム部材
1日前
マツダ株式会社
二次電池の制御装置
1か月前
マツダ株式会社
自動変速機の油路構造
1か月前
マツダ株式会社
塗布方法及び塗布装置
8日前
マツダ株式会社
エンジンの燃焼室構造
1か月前
マツダ株式会社
エンジンの燃焼室構造
1か月前
続きを見る
他の特許を見る