TOP
|
特許
|
意匠
|
商標
特許ウォッチ
Twitter
他の特許を見る
10個以上の画像は省略されています。
公開番号
2025174683
公報種別
公開特許公報(A)
公開日
2025-11-28
出願番号
2024081188
出願日
2024-05-17
発明の名称
車両の下部構造
出願人
マツダ株式会社
代理人
個人
,
個人
,
個人
,
個人
,
個人
主分類
B62D
25/20 20060101AFI20251120BHJP(鉄道以外の路面車両)
要約
【課題】車室床面が略平坦なフロントフロアパネル5で構成された車両1における車体剛性を向上できる車両1の下部構造を提供することを目的とする。
【解決手段】車両1の下部構造であって、フロントフロアパネル5に対して車両下方側に配設されたバッテリユニット20を備え、バッテリユニット20は、車体の高剛性部位に締結されるバッテリフレーム23と、バッテリフレーム23の幅方向フレーム232を車両前後方向に連結する第2フレーム補強部材27とを備え、第2フレーム補強部材27は、車両前後方向に所定間隔を隔てて並設された本体部28と、車両前後方向で隣接する本体部28の双方に固定されるとともに、フロントフロアパネル5を介してフロアクロスメンバに連結される連結部29とで構成されたことを特徴とする。
【選択図】図4
特許請求の範囲
【請求項1】
車両における左右のサイドシルの間に配設された略平坦なフロアパネルと、該フロアパネルの上面に配設され、左右の前記サイドシルを車幅方向に連結するフロアクロスメンバとを備えた車両の下部構造であって、
前記フロアパネルに対して車両下方側に配設されたバッテリユニットを備え、
該バッテリユニットは、
前記バッテリユニットの外形をなす略環状で、前記車両の車体における高剛性部位に締結される高剛性なバッテリフレームと、
前記バッテリフレームにおける所定方向で対向する部分同士を前記所定方向に連結する高剛性なフレーム補強部材とを備え、
前記フレーム補強部材は、
前記所定方向に所定間隔を隔てて並設された本体部と、
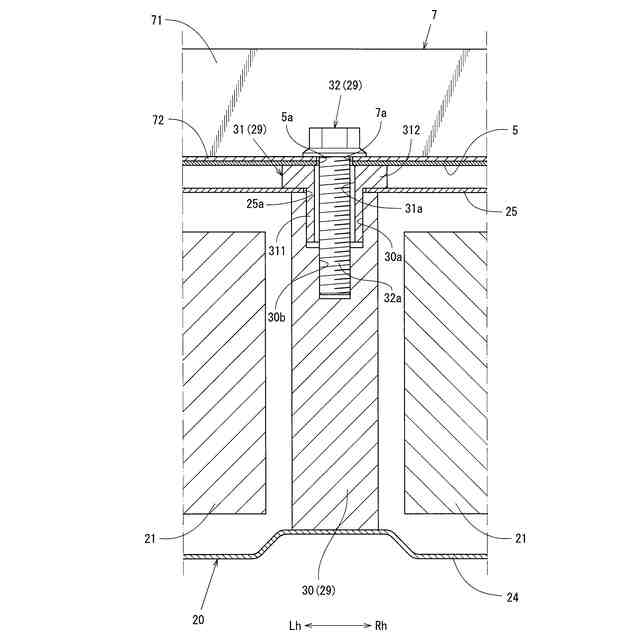
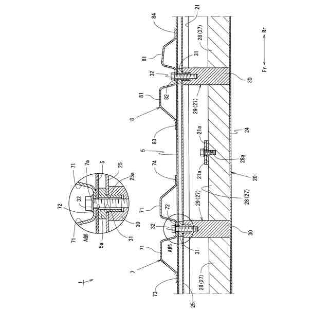
前記所定方向で隣接する前記本体部の双方に固定されるとともに、前記フロアパネルを介して前記フロアクロスメンバに連結される連結部とで構成された
車両の下部構造。
続きを表示(約 860 文字)
【請求項2】
前記連結部は、
前記本体部に固定された被締結部材と、
前記フロアパネル及び前記フロアクロスメンバを挟んで前記被締結部材に締結される締結部材とで構成された
請求項1に記載の車両の下部構造。
【請求項3】
前記バッテリユニットは、
前記バッテリフレームにおける車両下方の開口を閉塞する底板部と、
前記バッテリフレームにおける車両上方の開口を閉塞する天板部とを備え、
前記被締結部材は、前記天板部の下面に当接する構成である
請求項2に記載の車両の下部構造。
【請求項4】
前記連結部は、
前記フロアパネルと前記バッテリユニットの前記天板部との間に配置され、前記天板部を挟んで前記被締結部材に締結される中間部材を備えた
請求項3に記載の車両の下部構造。
【請求項5】
前記バッテリユニットは、
前記バッテリフレームの内部に前記フレーム補強部材を挟んで並置された複数のバッテリモジュールを備え、
該バッテリモジュールは、
前記フレーム補強部材側へ向けて突出するとともに、前記本体部の上面に締結固定されるフランジ部を備えた
請求項1に記載の車両の下部構造。
【請求項6】
前記フレーム補強部材は、
前記バッテリフレームにおける車両前後方向で対向する部分同士を車両前後方向に連結する構成である
請求項1に記載の車両の下部構造。
【請求項7】
前記フロアクロスメンバは、
車両前後方向に沿った縦断面において、車両前後方向に所定間隔を隔てて車両上方へ突出した二つの断面略台形の台形部と、
該台形部の下端を連結する谷底部とを有する断面形状に形成され、
前記連結部は、
前記本体部を前記フロアクロスメンバの前記谷底部に連結する構成である
請求項1に記載の車両の下部構造。
発明の詳細な説明
【技術分野】
【0001】
この発明は、例えば車両前後方向に延びるフロアトンネルを備えていない車両において、フロアパネルの車両下方側にバッテリユニットを備えたような車両の下部構造に関する。
続きを表示(約 1,600 文字)
【背景技術】
【0002】
自動車などの車両において、回転電機の出力を駆動力とする電動車両では、回転電機に電力を供給するバッテリユニットを、車室床面をなすフロアパネルの車両下方に配設するとともに、車両の高剛性部位に締結固定している。
【0003】
例えば特許文献1では、フロアパネルの車幅方向の略中央に車両前後方向に延びるフロアトンネルを備えた電動車両において、フロアトンネル及びフロアパネルの下面を車両前後方向に延びるフロアフレームに対してバッテリユニットを車両下方から締結固定している。
【0004】
ところで、上述のフロアトンネルは、従来、内燃機関で発生した排気を車両後部から車外に排出する排気管の配置スペースとして用いられていたが、排気管が不要な電動車両では不要な構成となっている。
【0005】
そこで、フロアパネルの車両下方にバッテリユニットが配設される車両では、フロアトンネルを設けていない比較的平坦なフロントフロアパネルで車室床面を構成することがある。
しかしながら、この場合、比較的平坦なフロアパネルの剛性がフロアトンネルを有するフロアパネルに比べて低くなるため、車両の車体剛性が低下するおそれがあった。
【先行技術文献】
【特許文献】
【0006】
特開2021-160506号公報
【発明の概要】
【発明が解決しようとする課題】
【0007】
本発明は、上述の問題に鑑み、車室床面が略平坦なフロアパネルで構成された車両における車体剛性を向上できる車両の下部構造を提供することを目的とする。
【課題を解決するための手段】
【0008】
この発明は、車両における左右のサイドシルの間に配設された略平坦なフロアパネルと、該フロアパネルの上面に配設され、左右の前記サイドシルを車幅方向に連結するフロアクロスメンバとを備えた車両の下部構造であって、前記フロアパネルに対して車両下方側に配設されたバッテリユニットを備え、該バッテリユニットは、前記バッテリユニットの外形をなす略環状で、前記車両の車体における高剛性部位に締結される高剛性なバッテリフレームと、前記バッテリフレームにおける所定方向で対向する部分同士を前記所定方向に連結する高剛性なフレーム補強部材とを備え、前記フレーム補強部材は、前記所定方向に所定間隔を隔てて並設された本体部と、前記所定方向で隣接する前記本体部の双方に固定されるとともに、前記フロアパネルを介して前記フロアクロスメンバに連結される連結部とで構成されたことを特徴とする。
【0009】
上記フロアクロスメンバは、フロアパネルとで閉断面をなす開断面形状のフロアクロスメンバ、あるいは筒状体のような閉断面形状のフロアクロスメンバなどのことをいう。
上記高剛性部位とは、車両前後方向または車幅方向に沿った縦断面形状が閉断面形状の部位、より好ましくは車両の車体骨格をなす車体骨格部材であって、例えばサイドシル、フロアフレーム、左右のサイドシルを車幅方向に連結するフロアクロスメンバ、フロントサイドフレームの後部、あるいはフロントサイドフレームをサイドシルに連結するトルクボックスなどのことをいう。
上記バッテリフレームは、平面視略矩形のバッテリフレームや平面視略台形のバッテリフレームなどのことをいう。
【0010】
この発明によれば、高剛性なバッテリフレームを車両の高剛性部位に連結し、高剛性なフレーム補強部材をフロアクロスメンバに連結するため、バッテリユニットのバッテリフレーム及びフレーム補強部材を、フロアパネルを補強する補強部材として機能させることができる。
(【0011】以降は省略されています)
この特許をJ-PlatPat(特許庁公式サイト)で参照する
関連特許
マツダ株式会社
二次電池
1か月前
マツダ株式会社
車載機器
1か月前
マツダ株式会社
二次電池
1か月前
マツダ株式会社
エンジン
1か月前
マツダ株式会社
回転電機
今日
マツダ株式会社
排気システム
1か月前
マツダ株式会社
車体後部構造
22日前
マツダ株式会社
排気システム
1か月前
マツダ株式会社
運転支援装置
1か月前
マツダ株式会社
運転支援装置
1か月前
マツダ株式会社
運転支援装置
1か月前
マツダ株式会社
インバータ装置
1か月前
マツダ株式会社
インバータ装置
1か月前
マツダ株式会社
インバータ装置
1か月前
マツダ株式会社
インバータ装置
1か月前
マツダ株式会社
車両の前部構造
1か月前
マツダ株式会社
車両の下部構造
今日
マツダ株式会社
車両の上部構造
29日前
マツダ株式会社
車両の下部構造
今日
マツダ株式会社
車両の前部構造
1日前
マツダ株式会社
車両の下部構造
2日前
マツダ株式会社
車両の下部構造
2日前
マツダ株式会社
車両の前部構造
1日前
マツダ株式会社
バッテリユニット
21日前
マツダ株式会社
バッテリユニット
21日前
マツダ株式会社
バッテリ冷却構造
8日前
マツダ株式会社
バッテリ冷却構造
8日前
マツダ株式会社
エンジンの制御装置
1か月前
マツダ株式会社
車両用フレーム部材
1日前
マツダ株式会社
車両用フレーム部材
1日前
マツダ株式会社
車両の下部車体構造
1か月前
マツダ株式会社
二次電池の制御装置
1か月前
マツダ株式会社
車両の下部車体構造
1か月前
マツダ株式会社
バッテリの制御装置
1か月前
マツダ株式会社
車両の下部車体構造
1か月前
マツダ株式会社
車両の下部車体構造
1か月前
続きを見る
他の特許を見る