TOP
|
特許
|
意匠
|
商標
特許ウォッチ
Twitter
他の特許を見る
10個以上の画像は省略されています。
公開番号
2025172286
公報種別
公開特許公報(A)
公開日
2025-11-26
出願番号
2024077657
出願日
2024-05-13
発明の名称
車両の下部構造
出願人
マツダ株式会社
代理人
弁理士法人三協国際特許事務所
主分類
B62D
25/20 20060101AFI20251118BHJP(鉄道以外の路面車両)
要約
【課題】ポールなどの障害物が側方から衝突した場合にもフロア部を保護できる車両の下部構造を提供する。
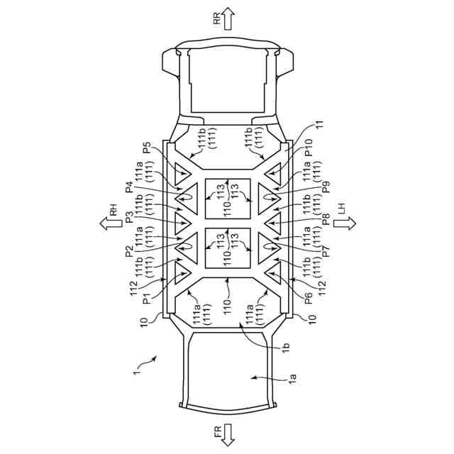
【解決手段】骨格部材11は、複数の第1部位110と複数の第2部位111と一対の第3部位112とが一体形成されてなる。複数の第1部位110は、互いに前後方向に間隔を空け、それぞれが車幅方向に延びるように形成されている。一対の第3部位112は、一対のサイドシル10に沿うように配設されている。複数の第2部位111のそれぞれは、車幅方向内側で第1部位110に接続され、前後方向および車幅方向の双方に交差するように斜め方向に延び、車幅方向外側で第3部位112を介してサイドシル10に接続されている。複数の第2部位111は、複数の第1部位110の前後方向での合計長さ(3×L110)よりも、車幅方向外側のそれぞれにおける端部の合計長さ(6×L111)が長くなるように設けられている。
【選択図】図7
特許請求の範囲
【請求項1】
車両におけるフロア部の下部構造であって、
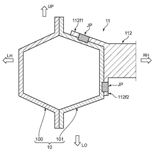
前記フロア部の車幅方向両側に配設されるとともに、それぞれが前後方向に延びるように形成された一対のサイドシルと、
前記一対のサイドシル同士の間に配設された骨格部材と、
を備え、
前記骨格部材は、
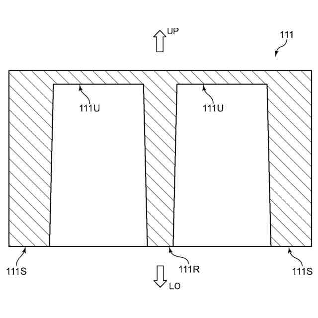
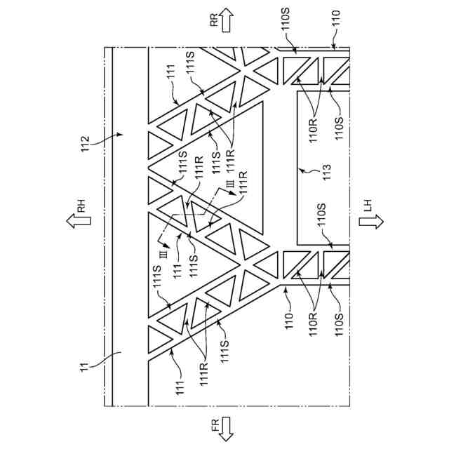
前記フロア部の車幅方向中央部分において、互いに前後方向に間隔を空けて配設されるとともに、それぞれが車幅方向に延びるように形成された複数の第1部位と、
前記第1部位の端部にそれぞれ接続されるとともに、それぞれが車幅方向の外側に向けて延びるように形成され、且つ、前後方向に配列された複数の第2部位と、
を有し、
前記複数の第2部位は、車幅方向両外側のそれぞれにおける端部の前後方向での合計長さが、前記複数の第1部位の前後方向における合計長さよりも長くなるように形成されている、
車両の下部構造。
続きを表示(約 1,000 文字)
【請求項2】
前記骨格部材は、車幅方向外側で前記複数の第2部位の端部にそれぞれ接続されるとともに、それぞれが前記サイドシルに沿って前後方向に延びるように形成され、且つ、前記サイドシルに接続された一対の第3部位をさらに有する、
請求項1に記載の車両の下部構造。
【請求項3】
前後方向に隣り合う前記第2部位同士は、前記第3部位との各接続箇所で互いに接続されている、
請求項2に記載の車両の下部構造。
【請求項4】
前記一対の第3部位のそれぞれは、前記一対のサイドシルに固定されている、
請求項2に記載の車両の下部構造。
【請求項5】
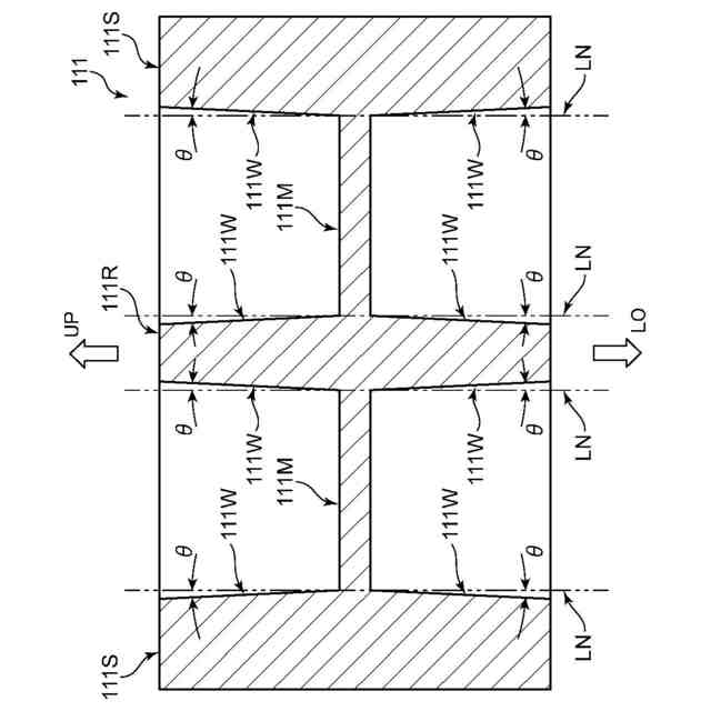
前記複数の第1部位および前記複数の第2部位の少なくとも一部は、前後方向両側において車幅方向に沿って延びるように形成された一対の側壁部と、前記一対の側壁部同士の間を接続するように形成されたリブと、を有する、
請求項1に記載の車両の下部構造。
【請求項6】
前記複数の第2部位は、前記第1部位との接続箇所から車幅方向外側へと行くのに従って斜め前方へと延びる部位と、前記第1部位との接続箇所から車幅方向外側へと行くのに従って斜め後方へと延びる部位と、を有し、
前記斜め前方へと延びる部位と、前記斜め後方へと延びる部位とは、前後方向において交互に配されている、
請求項1から請求項5の何れかに記載の車両の下部構造。
【請求項7】
前後方向に隣り合う、前記斜め前方へと延びる部位と、前記斜め後方へと延びる部位とは、前記第1部位との各接続箇所で互いに接続されている、
請求項6に記載の車両の下部構造。
【請求項8】
前記骨格部材は、それぞれが前後方向に延びるとともに、前記複数の第1部位と前記複数の第2部位との接続箇所同士を接続するように配設された一対の第4部位をさらに有する、
請求項1から請求項5の何れかに記載の車両の下部構造。
【請求項9】
前記複数の第2部位のそれぞれは、前記第1部位との接続箇所から車幅方向外側へと行くのに従って前後方向の幅が漸次拡がるように形成されている、
請求項1から請求項5の何れかに記載の車両の下部構造。
【請求項10】
前記骨格部材は、一体形成されてなる、
請求項1から請求項5の何れかに記載の車両の下部構造。
(【請求項11】以降は省略されています)
発明の詳細な説明
【技術分野】
【0001】
本発明は、車両の下部構造に関し、特にフロア部における下部構造に関する。
続きを表示(約 1,700 文字)
【背景技術】
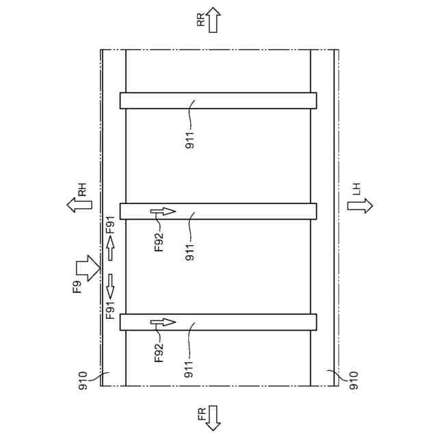
【0002】
図9に示すように、従来技術に係る車両は、フロア部における車幅方向の両側に配され、それぞれが前後方向に延びる一対のサイドシル910と、一対のサイドシル910同士を接続するように車幅方向にそれぞれ延びる複数のクロスメンバ911と、を備える。このような車両において、前後方向でのサイドシル910におけるクロスメンバ911との接続箇所同士の間に側方からの荷重F9の入力があった場合には、当該荷重F9の一部がサイドシル910の長手方向に分力され(荷重F91)、荷重F91の一部が接合箇所からクロスメンバ911へと入力される。
【0003】
特許文献1には、側突時における荷重の吸収性能を向上させるべく、サイドシル910の内部にバルクヘッドが配置された構成が開示されている。
【先行技術文献】
【特許文献】
【0004】
特開2021-91341号公報
【発明の概要】
【発明が解決しようとする課題】
【0005】
しかしながら、従来技術に係る車両は、左右一対のサイドシル910に対して、前後方向に一定間隔で配され、それぞれが車幅方向に延びる複数のクロスメンバ911が接続されているので、側突時における入力荷重F9をクロスメンバ911に十分に伝達することができないものと考えられる。よって、従来技術に係る車両では、サイドシル910への側突荷重の入力箇所によっては入力荷重が入力側とは車幅方向の反対側へと分散され難く、側突時にフロア部を十分に保護することができないことが懸念される。
【0006】
本発明は、上記のような問題の解決を図ろうとなされたものであって、ポールなどの障害物が側方から衝突した場合にもフロア部を十分に保護できる車両の下部構造を提供することを目的とする。
【課題を解決するための手段】
【0007】
本発明の一態様に係る車両の下部構造は、車両におけるフロア部の下部構造であって、一対のサイドシルと骨格部材とを備える。前記一対のサイドシルは、前記フロア部の車幅方向両側に配設されるとともに、それぞれが前後方向に延びるように形成されている。前記骨格部材は、前記一対のサイドシル同士の間に配設されている。
【0008】
前記骨格部材は、複数の第1部位と、複数の第2部位と、一対の第3部位とを有する。前記複数の第1部位は、前記フロア部の車幅方向中央部分において、互いに前後方向に間隔を空けて配設されるとともに、それぞれが車幅方向に延びるように形成されている。前記複数の第2部位は、前記第1部位の端部にそれぞれ接続されるとともに、それぞれが車幅方向の外側に向けて延びるように形成され、且つ、前後方向に配列されている。前記一対の第3部位は、車幅方向外側で前記複数の第2部位にそれぞれ接続されるとともに、それぞれが前記サイドシルに沿って前後方向に延びるように形成され、且つ、前記サイドシルに接続されている。
【0009】
本態様に係る車両の下部構造において、前記複数の第2部位は、車幅方向両外側のそれぞれにおける端部の前後方向での合計長さが、前記複数の第1部位の前後方向における合計長さよりも長くなるように形成されている。
【0010】
上記態様に係る車両の下部構造では、複数の第1部位と複数の第2部位とを有する骨格部材が一対のサイドシル同士の間に配設されている。複数の第2部位は、車幅方向両外側のそれぞれにおける端部の前後方向での合計長さが、複数の第1部位の前後方向における合計長さよりも長くなるように形成されているので、クロスメンバの端部が直にサイドシルに対して固定された上記従来技術に比べて、サイドシルに対して上記従来技術よりも広い範囲内の箇所から側突荷重が入力された場合であっても当該側突荷重が第2部位を介して第1部位へと高効率に伝達される。
(【0011】以降は省略されています)
この特許をJ-PlatPat(特許庁公式サイト)で参照する
関連特許
マツダ株式会社
車体後部構造
21日前
マツダ株式会社
車両の前部構造
今日
マツダ株式会社
車両の前部構造
今日
マツダ株式会社
車両の上部構造
28日前
マツダ株式会社
車両の下部構造
1日前
マツダ株式会社
車両の下部構造
1日前
マツダ株式会社
バッテリユニット
20日前
マツダ株式会社
バッテリユニット
20日前
マツダ株式会社
バッテリ冷却構造
7日前
マツダ株式会社
バッテリ冷却構造
7日前
マツダ株式会社
車両用フレーム部材
今日
マツダ株式会社
車両用フレーム部材
今日
マツダ株式会社
運転者の覚醒維持装置
今日
マツダ株式会社
塗布方法及び塗布装置
7日前
マツダ株式会社
バッテリ温度制御システム
1か月前
マツダ株式会社
車両のドア構造およびその製造方法
28日前
マツダ株式会社
車両用フレーム部材および車体前部構造
7日前
マツダ株式会社
車両用フレーム部材および車体前部構造
7日前
マツダ株式会社
車両の構造設計方法及び構造設計プログラム
1日前
マツダ株式会社
バッテリユニットを搭載した車両の前部車体構造
20日前
マツダ株式会社
車両の上部構造、および車両の上部構造の製造方法
28日前
マツダ株式会社
バッテリユニット及びバッテリユニットの製造方法。
20日前
マツダ株式会社
ゴム材料の応力-ひずみ特性予測方法、装置、プログラム、記録媒体及び設計方法
1か月前
個人
カート
4か月前
個人
走行装置
5か月前
個人
三輪バイク
1か月前
個人
台車
7日前
個人
乗り物
6か月前
個人
電動走行車両
5か月前
個人
駐輪設備
2か月前
個人
自転車用歩数計
1か月前
個人
発音装置
8か月前
個人
閂式ハンドル錠
5か月前
個人
電動モビリティ
8か月前
個人
折り畳み自転車
11か月前
個人
ボギー・フレーム
3か月前
続きを見る
他の特許を見る