TOP特許意匠商標
特許ウォッチ Twitter
10個以上の画像は省略されています。
公開番号2025154857
公報種別公開特許公報(A)
公開日2025-10-10
出願番号2024058097
出願日2024-03-29
発明の名称ゴム材料の応力-ひずみ特性予測方法、装置、プログラム、記録媒体及び設計方法
出願人マツダ株式会社,倉敷化工株式会社
代理人弁理士法人前田特許事務所
主分類G01N 33/44 20060101AFI20251002BHJP(測定;試験)
要約【課題】より短時間且つ低コストでゴム材料の応力-ひずみ特性を精度よく予測できる方法、装置、プログラム、記録媒体及び設計方法を提供する。
【解決手段】コンピュータシミュレーションにより8鎖モデルに基づいてゴム材料の応力-ひずみ特性を予測する方法であって、配合が異なる複数のゴム材料サンプルについて予め実験的に取得された架橋密度及び成分配合量の少なくとも一方と、該ゴム材料サンプルについて予め実験的に取得された応力-ひずみ特性と、に基づいて作成された、前記8鎖モデルのパラメータである分子鎖数n及びセグメント数Nと前記架橋密度及び前記成分配合量の少なくとも一方との相関式と、解析対象の前記ゴム材料の架橋密度及び成分配合量の少なくとも一方と、に基づいて、前記パラメータを算出する工程と、前記パラメータの算出値と、前記8鎖モデルと、に基づいて、解析対象の前記ゴム材料の応力-ひずみ特性を予測する工程と、を備える。
【選択図】図4
特許請求の範囲【請求項1】
コンピュータシミュレーションにより8鎖モデルに基づいてゴム材料の応力-ひずみ特性を予測する方法であって、
配合が異なる複数のゴム材料サンプルについて予め実験的に取得された架橋密度及び成分配合量の少なくとも一方と、該ゴム材料サンプルについて予め実験的に取得された応力-ひずみ特性と、に基づいて作成された、前記8鎖モデルのパラメータである分子鎖数n及びセグメント数Nと前記架橋密度及び前記成分配合量の少なくとも一方との相関式と、解析対象の前記ゴム材料の架橋密度及び成分配合量の少なくとも一方と、に基づいて、前記パラメータを算出する工程と、
前記パラメータの算出値と、前記8鎖モデルと、に基づいて、解析対象の前記ゴム材料の応力-ひずみ特性を予測する工程と、を備えた
ことを特徴とするゴム材料の応力-ひずみ特性予測方法。
続きを表示(約 2,100 文字)【請求項2】
請求項1において、
前記ゴム材料はフィラーを含有し、
前記相関式は、前記分子鎖数nと前記架橋密度との第1相関式と、前記セグメント数Nと前記フィラーの成分配合量との第2相関式と、を含み、
前記パラメータを算出する工程で、解析対象の前記ゴム材料の架橋密度と前記第1相関式とに基づいて前記分子鎖数nを算出するとともに、該ゴム材料の前記フィラーの成分含有量と前記第2相関式とに基づいて前記セグメント数Nを算出し、
前記8鎖モデルにおける伸長比λとして、前記ゴム材料における前記フィラーの成分配合量を考慮した下記式(1)で表されるλ’を使用する
λ’=[(λ-1)/a]+1 ・・・(1)
(但し、式(1)中、aは、前記ゴム材料中におけるポリマーの体積分率である)
ことを特徴とするゴム材料の応力-ひずみ特性予測方法。
【請求項3】
請求項2において、
前記フィラーはカーボンブラックである
ことを特徴とするゴム材料の応力-ひずみ特性予測方法。
【請求項4】
請求項2又は請求項3において、
前記架橋密度の取得は、トルエン膨潤試験と、パルスNMR測定と、を組み合わせて行われる
ことを特徴とするゴム材料の応力-ひずみ特性予測方法。
【請求項5】
コンピュータシミュレーションにより8鎖モデルに基づいてゴム材料の応力-ひずみ特性を予測する装置であって、
配合が異なる複数のゴム材料サンプルについて予め実験的に取得された架橋密度及び成分配合量の少なくとも一方と、該ゴム材料サンプルについて予め実験的に取得された応力-ひずみ特性と、に基づいて作成された、前記8鎖モデルのパラメータである分子鎖数n及びセグメント数Nと前記架橋密度及び前記成分配合量の少なくとも一方との相関式と、解析対象の前記ゴム材料の架橋密度及び成分配合量の少なくとも一方と、に基づいて、前記パラメータを算出する算出部と、
前記パラメータの算出値と、前記8鎖モデルと、に基づいて、解析対象の前記ゴム材料の応力-ひずみ特性を予測する予測部と、を備えた
ことを特徴とするゴム材料の応力-ひずみ特性予測装置。
【請求項6】
コンピュータシミュレーションにより8鎖モデルに基づいてゴム材料の応力-ひずみ特性を予測するためのプログラムであって、
コンピュータに、
配合が異なる複数のゴム材料サンプルについて予め実験的に取得された架橋密度及び成分配合量の少なくとも一方と、該ゴム材料サンプルについて予め実験的に取得された応力-ひずみ特性と、に基づいて、前記8鎖モデルのパラメータである分子鎖数n及びセグメント数Nと前記架橋密度及び前記成分配合量の少なくとも一方との相関式と、解析対象の前記ゴム材料の架橋密度及び成分配合量の少なくとも一方と、に基づいて、前記パラメータを算出する手順Aと、
前記パラメータの算出値と、前記8鎖モデルと、に基づいて、解析対象の前記ゴム材料の応力-ひずみ特性を予測する手順Bと、をこの順に実行させる
ことを特徴とするゴム材料の応力-ひずみ特性予測プログラム。
【請求項7】
請求項6に記載されたゴム材料の応力-ひずみ特性予測プログラムを記録したコンピュータ読み取り可能な記録媒体。
【請求項8】
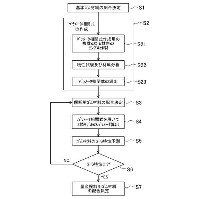
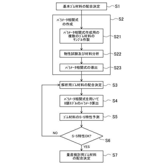
コンピュータシミュレーションにより8鎖モデルに基づいてゴム材料の応力-ひずみ特性を予測する方法を含む、該ゴム材料の設計方法であって、
基本のゴム材料の配合を決定する工程と、
前記基本のゴム材料の前記配合を含み且つ該配合と成分配合量が異なる配合の複数のゴム材料サンプルについて予め実験的に取得された架橋密度及び該成分配合量の少なくとも一方と、該複数のゴム材料サンプルについて予め実験的に取得された応力-ひずみ特性と、に基づいて、前記8鎖モデルのパラメータである分子鎖数n及びセグメント数Nと前記架橋密度及び前記成分配合量の少なくとも一方との相関式を作成する工程と、
解析対象のゴム材料の配合を決定する工程と、
前記相関式と、前記解析対象のゴム材料の架橋密度及び成分配合量の少なくとも一方と、に基づいて、前記パラメータを算出する工程と、
前記パラメータの算出値と、前記8鎖モデルと、に基づいて、前記解析対象のゴム材料の応力-ひずみ特性を予測する工程と、
予測された前記解析対象のゴム材料の応力-ひずみ特性が所望の要件を満たすか否か判定する工程と、をこの順に備え、
前記判定する工程で前記所望の要件を満たさないと判定されたときに、前記解析対象のゴム材料の配合を決定する工程に戻り、予測された前記解析対象のゴム材料の応力-ひずみ特性が前記所望の要件を満たすと判定されるまで、前記解析対象のゴム材料の配合を決定する工程から前記判定する工程までを繰り返す
ことを特徴とするゴム材料の設計方法。

発明の詳細な説明【技術分野】
【0001】
本開示は、ゴム材料の応力-ひずみ特性予測方法、装置、プログラム、記録媒体及び設計方法に関する。
続きを表示(約 1,700 文字)【背景技術】
【0002】
コンピュータシミュレーションにより、Mooney-Rivlinモデル、Ogdenモデル、Arruda-Boyceモデル(「8鎖モデル」ともいう。)等のひずみエネルギー密度関数を構成式として、ゴム材料の応力-ひずみ特性(本明細書において、「S-S特性」ともいう。)を予測することが行われている(例えば非特許文献1、2、特許文献1参照)。
【0003】
非特許文献1には、各種構成式を用いた数値解析によりゴムの力学特性を表現する手法について、各種構成式のパラメータを導出するための各種物性試験法と予測精度との関連について記載されている。
【0004】
非特許文献2では、ゴム材料の構成式として、分子鎖網目理論の一種である8鎖モデルが提案されている。
【0005】
特許文献1には、ゴムと、シリカと、これらを結合する界面結合剤とが配合されたゴム材料の変形を精度良く解析するのに役立つゴム材料のシミュレーション方法が開示されている。当該文献の実施例では、構成式として8鎖モデルが使用されている。
【先行技術文献】
【特許文献】
【0006】
特開2011-242336号公報
【非特許文献】
【0007】
飯塚 博、山下 義裕、ゴム材料の力学特性同定とFEM解析への利用、日本ゴム協会誌、第77巻、第9号、2004年、p306-311
E. M. Arruda and M. C. Boyce, A THREE-DIMENSIONAL CONSTITUTIVE MODEL FOR THE LARGE STRECH BEHAVIOR OF RUBBER ELASTIC MATERIALS, Journal of the Mechanics and Physics of Solids Volume 41, Issue 2, Pages 389-412 (1993)
【発明の概要】
【発明が解決しようとする課題】
【0008】
上記のような数値解析を利用したゴム材料の設計開発では、例えば図18に示すように、原料となるゴム組成物の配合を検討後、サンプルを作製し、3種の物性試験(単軸伸張試験、単軸拘束単軸伸張試験、均等2軸伸張試験)を行う(工程S91~S93)。そして、得られた実験データから上記構成式のパラメータを導出し、解析対象のゴム材料の物理特性を予測する(工程S94、S95)。得られた予測結果が所望の要件を満たす場合には解析対象のゴム材料の配合により量産検討等に進む(工程S96、S97)。しかしながら、得られた予測結果が所望の要件を満たさない場合、従来の方法では、もう一度ゴム組成物の配合検討に戻ってパラメータ導出までの工程S91~S94を繰り返す必要がある。特に物性試験は、非特許文献1にも記載のように、十分な予測精度を担保するためには3種行うことが理想的であり、時間面及びコスト面等において設計開発フローのボトルネックとなっている。
【0009】
しかしながら、Mooney-RivlinモデルやOgdenモデルでは、各パラメータは近似式の係数に過ぎず物理的意味を有していない。このため、パラメータ導出工程で得られた算出値の情報をゴム組成物の配合検討へフィードバックすることができない。そうすると、これらのモデルを構成式とする場合、ゴム組成物の配合を変更すれば、パラメータ算出のためにもう一度物性試験を行う以外に実質的に選択肢がなく、パラメータ導出工程を簡略化することは困難である。
【0010】
この点、8鎖モデルは、高分子のネットワーク理論から導出されたモデルであり、パラメータは物理的意味を有している。非特許文献1には、8鎖モデルは、単軸伸張試験の結果のみを用いて高ひずみ域の挙動まで精度よく表示できると記載されている。しかしながら、当該文献や特許文献1には、パラメータ導出工程を簡略化する具体的な手法については記載されていない。
(【0011】以降は省略されています)

この特許をJ-PlatPat(特許庁公式サイト)で参照する

関連特許

マツダ株式会社
回転電機
5日前
マツダ株式会社
車体後部構造
27日前
マツダ株式会社
車両の下部構造
5日前
マツダ株式会社
車両の上部構造
1か月前
マツダ株式会社
車両の前部構造
6日前
マツダ株式会社
車両の前部構造
6日前
マツダ株式会社
車両の下部構造
7日前
マツダ株式会社
車両の下部構造
7日前
マツダ株式会社
車両の下部構造
5日前
マツダ株式会社
バッテリ冷却構造
13日前
マツダ株式会社
バッテリユニット
26日前
マツダ株式会社
バッテリユニット
26日前
マツダ株式会社
バッテリ冷却構造
13日前
マツダ株式会社
車両用フレーム部材
6日前
マツダ株式会社
車両用フレーム部材
6日前
マツダ株式会社
車両の状態量検出装置
今日
マツダ株式会社
塗布方法及び塗布装置
13日前
マツダ株式会社
運転者の覚醒維持装置
6日前
マツダ株式会社
車両のドア構造およびその製造方法
1か月前
マツダ株式会社
車両用フレーム部材および車体前部構造
13日前
マツダ株式会社
車両用フレーム部材および車体前部構造
13日前
マツダ株式会社
車両の構造設計方法及び構造設計プログラム
7日前
マツダ株式会社
バッテリユニットを搭載した車両の前部車体構造
26日前
マツダ株式会社
車両の上部構造、および車両の上部構造の製造方法
1か月前
マツダ株式会社
バッテリユニット及びバッテリユニットの製造方法。
26日前
マツダ株式会社
車両用空調装置の冷媒取り出し方法及び車両用空調装置
5日前
マツダ株式会社
ゴム材料の応力-ひずみ特性予測方法、装置、プログラム、記録媒体及び設計方法
1か月前
日本精機株式会社
検出装置
28日前
個人
採尿及び採便具
1か月前
個人
高精度同時多点測定装置
1か月前
個人
アクセサリー型テスター
1か月前
個人
計量機能付き容器
23日前
株式会社ミツトヨ
測定器
1か月前
甲神電機株式会社
電流検出装置
28日前
日本精機株式会社
発光表示装置
6日前
株式会社カクマル
境界杭
13日前
続きを見る