TOP
|
特許
|
意匠
|
商標
特許ウォッチ
Twitter
他の特許を見る
10個以上の画像は省略されています。
公開番号
2025175418
公報種別
公開特許公報(A)
公開日
2025-12-03
出願番号
2024081516
出願日
2024-05-20
発明の名称
車両の状態量検出装置
出願人
マツダ株式会社
代理人
個人
,
個人
,
個人
,
個人
,
個人
主分類
B60S
1/54 20060101AFI20251126BHJP(車両一般)
要約
【課題】車両の状態量検出装置において、フロントウィンドウの車室側の表面付近の状態量を精度良く検出する。
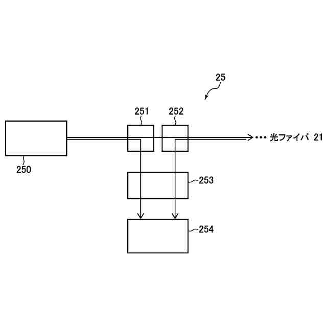
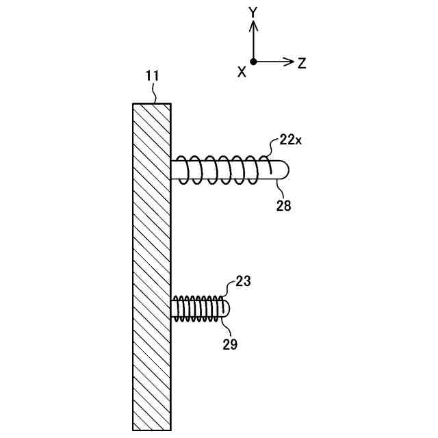
【解決手段】車両の状態量検出装置20は、フロントウィンドウ11の車室側の表面に取り付けられ、フロントウィンドウの上部及び下部を通る光ファイバ21と、光ファイバに接続され、当該光ファイバに入射された光の反射光を測定して、フロントウィンドウの表面付近の温度及び湿度を検出する検出器25と、を有し、光ファイバは、フロントウィンドウの上部及び下部にそれぞれ設けられ、車室側へと延びる第1突出部22及び第2突出部23を含み、第2突出部は、第1突出部よりも、長手方向の長さが短く形成され、検出器は、第1及び第2突出部において生じた反射光を測定することで温度及び湿度を検出し、第2突出部での反射光の測定点を第1突出部での反射光の測定点よりも多く設定するよう構成されている。
【選択図】図6
特許請求の範囲
【請求項1】
車室内の状態量を検出するための車両の状態量検出装置であって、
車両のフロントウィンドウにおける車室側の表面に沿って延びるように当該表面に取り付けられ、前記フロントウィンドウの少なくとも上部及び下部を通るように設けられた光ファイバと、
前記光ファイバに接続され、当該光ファイバに入射された光の反射光を測定することで、前記フロントウィンドウの前記表面付近の状態量を検出するように構成された検出器と、
を有し、
前記光ファイバは、前記フロントウィンドウの上部に設けられ、当該フロントウィンドウの前記表面から車室側へと延びるように突出した第1突出部と、前記フロントウィンドウの下部に設けられ、当該フロントウィンドウの前記表面から車室側へと延びるように突出した第2突出部と、を含み、
前記第2突出部は、前記第1突出部よりも、長手方向の長さが短く形成され、
前記検出器は、前記第1及び第2突出部において生じた前記反射光を測定することで前記状態量を検出すると共に、前記第2突出部での前記反射光の測定点を前記第1突出部での前記反射光の測定点よりも多く設定するように構成されている、
ことを特徴とする車両の状態量検出装置。
続きを表示(約 600 文字)
【請求項2】
前記第2突出部は、らせん形状に形成されている、請求項1に記載の車両の状態量検出装置。
【請求項3】
前記第1突出部は、らせん形状に形成されている、請求項1又は2に記載の車両の状態量検出装置。
【請求項4】
前記第2突出部は、前記第1突出部よりも、前記らせん形状の巻き数が多い、請求項2を引用する請求項3に記載の車両の状態量検出装置。
【請求項5】
前記フロントウィンドウの前記表面に取り付けられ、前記第2突出部が固定される支柱を更に有する、請求項1又は2に記載の車両の状態量検出装置。
【請求項6】
前記フロントウィンドウの前記表面に取り付けられ、前記第1突出部が固定される支柱を更に有する、請求項1又は2に記載の車両の状態量検出装置。
【請求項7】
前記第1突出部における車両後方側の端部は、前記車両のルームミラーよりも車両前方側に位置する、請求項1又は2に記載の車両の状態量検出装置。
【請求項8】
前記第1突出部及び/又は前記第2突出部は、車幅方向に沿って複数設けられている、請求項1又は2に記載の車両の状態量検出装置。
【請求項9】
前記状態量は、前記フロントウィンドウの前記表面付近の温度及び/又は湿度である、請求項1又は2に記載の車両の状態量検出装置。
発明の詳細な説明
【技術分野】
【0001】
本発明は、車室内の状態量を検出するための車両の状態量検出装置に関する。
続きを表示(約 2,500 文字)
【背景技術】
【0002】
一般的な車両には、フロントウィンドウ(ガラス)での結露による曇りを解消するためのデフロスタシステムが設けられている。デフロスタシステムは、空調された空気を、送風口からフロントウィンドウの表面に向かって吹き出すことにより、フロントウィンドウの曇りを解消するものである。近年、車両の燃費や電費を高めるために、このようなデフロスタシステムの消費エネルギーを最小化することが求められている。
【0003】
フロントウィンドウの曇りは、その表面付近における状態量(具体的には温度や湿度)に依存する。フロントウィンドウの表面付近の温度や湿度は、車室の空調装置による内気循環/外気導入の選択や、乗員数や、外気温等の周囲環境によって変化する共に、フロントウィンドウの表面に沿う方向(以下では「面内方向」と呼ぶ。)、及び、フロントウィンドウの表面に対して直交する方向(以下では「面外方向」と呼ぶ。)において、数mm~数cmのオーダーで大きく変化する。したがって、デフロスタシステムの消費エネルギーを抑えつつ、フロントウィンドウの曇りを防止するためには、フロントウィンドウの表面付近の温度や湿度を正確に把握した上で、デフロスタシステムを適切に作動させるのが望ましいと言える。
【0004】
ここで、従来から、電気式の湿度センサが知られている。電気式の湿度センサは、測定箇所が1箇所だけであるので、フロントウィンドウの全体に亘る湿度分布を検出しようとすると、多数のセンサをフロントウィンドウ表面に取り付けなければならない。電気式の湿度センサは、比較的大きなサイズを有するので、このセンサをフロントウィンドウの表面に多数取り付けると、フロントウィンドウの表面付近の環境(例えば空調装置による空気の流れ)が乱れてしまう。また、フロントウィンドウの面外方向の湿度分布を検出するには、電気式の湿度センサを表面から離れた位置に配置しなければならないが、このように湿度センサを配置するのは容易でない。
【0005】
そこで、本件発明者らは、上記のような電気式の湿度センサの問題に鑑みて、光ファイバを利用する湿度センサ(以下では適宜「光ファイバセンサ」と呼ぶ。)を用いる技術を提案した(特許文献1参照)。この光ファイバセンサは、FBG(Fiber Bragg Grating)を有する光ファイバに対して、湿度変化に応じて膨張又は収縮する吸湿材を適用したものである。この場合、吸湿材の膨張又は収縮により、光ファイバが歪むことで、FBGにおいて反射する光の波長が変化する。したがって、光ファイバセンサは、反射光の波長に基づいて、湿度を検出することができるのである。このような光ファイバセンサによれば、電気式の湿度センサと異なり、長手方向の各所における湿度変化を測定可能なため、フロントウィンドウにおける比較的広い範囲における湿度を検出できるようになる。
【0006】
特に、特許文献1に記載された技術では、上記のような光ファイバセンサを用いて、フロントウィンドウの面外方向の湿度分布を検出して、この湿度分布に基づきデフロスタシステムを制御することで、デフロスタシステムの消費エネルギーを抑えつつ、フロントウィンドウの曇りを防止することを図っている。具体的には、この技術では、長手方向に対して所定周期で湾曲する波形形状を有し、且つ、フロントウィンドウの表面に対して離接する光ファイバを用いて、面外方向の湿度分布を検出している。
【先行技術文献】
【特許文献】
【0007】
特開2023-32547号公報
【発明の概要】
【発明が解決しようとする課題】
【0008】
本件発明者らは、鋭意研究を更に重ねた結果、デフロスタシステムからの風などの影響によって、フロントウィンドウの車室側の表面において結露に寄与する空気層(以下では単に「結露空気層」と呼ぶ。)の厚さが一様でないこと、つまり結露空気層の厚さがフロントウィンドウの面内方向において種々に変わることを見出した。そのため、フロントウィンドウの面内方向において変わる結露空気層の厚さに応じて、フロントウィンドウの表面付近の状態量(温度や湿度)も種々に変わることとなる。上記した特許文献1に記載された技術は、このようなフロントウィンドウの面内方向において変わる結露空気層の厚さを考慮していなかったため、フロントウィンドウの表面付近の状態量の検出精度を改善する余地があった。
【0009】
本発明は、上述した従来技術の問題点を解決するためになされたものであり、光ファイバを用いる車両の状態量検出装置において、フロントウィンドウの車室側の表面付近の状態量を精度良く検出することを目的とする。
【課題を解決するための手段】
【0010】
上記の目的を達成するために、本発明は、車室内の状態量を検出するための車両の状態量検出装置であって、車両のフロントウィンドウにおける車室側の表面に沿って延びるように当該表面に取り付けられ、フロントウィンドウの少なくとも上部(上半分の部分)及び下部(下半分の部分)を通るように設けられた光ファイバと、光ファイバに接続され、当該光ファイバに入射された光の反射光を測定することで、フロントウィンドウの表面付近の状態量を検出するように構成された検出器と、を有し、光ファイバは、フロントウィンドウの上部に設けられ、当該フロントウィンドウの表面から車室側へと延びるように突出した第1突出部と、フロントウィンドウの下部に設けられ、当該フロントウィンドウの表面から車室側へと延びるように突出した第2突出部と、を含み、第2突出部は、第1突出部よりも、長手方向の長さが短く形成され、検出器は、第1及び第2突出部において生じた反射光を測定することで状態量を検出すると共に、第2突出部での反射光の測定点を第1突出部での反射光の測定点よりも多く設定するように構成されている、ことを特徴とする。
(【0011】以降は省略されています)
この特許をJ-PlatPat(特許庁公式サイト)で参照する
関連特許
マツダ株式会社
エンジン
1か月前
マツダ株式会社
二次電池
1か月前
マツダ株式会社
回転電機
6日前
マツダ株式会社
二次電池
1か月前
マツダ株式会社
車載機器
1か月前
マツダ株式会社
運転支援装置
1か月前
マツダ株式会社
運転支援装置
1か月前
マツダ株式会社
車体後部構造
28日前
マツダ株式会社
排気システム
1か月前
マツダ株式会社
運転支援装置
1か月前
マツダ株式会社
排気システム
1か月前
マツダ株式会社
インバータ装置
1か月前
マツダ株式会社
車両の下部構造
6日前
マツダ株式会社
車両の下部構造
6日前
マツダ株式会社
車両の上部構造
1か月前
マツダ株式会社
車両の前部構造
7日前
マツダ株式会社
車両の前部構造
7日前
マツダ株式会社
インバータ装置
1か月前
マツダ株式会社
インバータ装置
1か月前
マツダ株式会社
車両の前部構造
1か月前
マツダ株式会社
インバータ装置
1か月前
マツダ株式会社
車両の下部構造
8日前
マツダ株式会社
車両の下部構造
8日前
マツダ株式会社
バッテリ冷却構造
14日前
マツダ株式会社
バッテリユニット
27日前
マツダ株式会社
バッテリ冷却構造
14日前
マツダ株式会社
バッテリユニット
27日前
マツダ株式会社
二次電池の制御装置
1か月前
マツダ株式会社
エンジンの制御装置
1か月前
マツダ株式会社
二次電池の制御装置
1か月前
マツダ株式会社
車両用フレーム部材
7日前
マツダ株式会社
車両用フレーム部材
7日前
マツダ株式会社
車両の状態量検出装置
1日前
マツダ株式会社
自動変速機の油路構造
1か月前
マツダ株式会社
運転者の覚醒維持装置
7日前
マツダ株式会社
塗布方法及び塗布装置
14日前
続きを見る
他の特許を見る