TOP
|
特許
|
意匠
|
商標
特許ウォッチ
Twitter
他の特許を見る
10個以上の画像は省略されています。
公開番号
2025150161
公報種別
公開特許公報(A)
公開日
2025-10-09
出願番号
2024050897
出願日
2024-03-27
発明の名称
自動変速機の油路構造
出願人
マツダ株式会社
代理人
弁理士法人前田特許事務所
主分類
F16H
57/031 20120101AFI20251002BHJP(機械要素または単位;機械または装置の効果的機能を生じ維持するための一般的手段)
要約
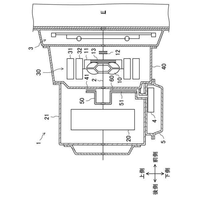
【課題】自動変速機の大型化を抑制できる油路構造を提供する。
【解決手段】第1壁部41に形成された第1溝部46と第1壁部41に面合わせされた第2壁部51に形成された第2溝部56とで構成された油路60を備え、第1壁部41は、軸方向他側の面部に、軸方向一側に凹む第1凹部45を有し、第2壁部51は、第1凹部45とは主軸2の径方向に異なる位置に位置しかつ軸方向他側に凹む第2凹部55を有し、第1凹部45には第1部品の一部が位置し、第2凹部55には第2部品の一部が位置し、油路60は、第1凹部45に対応する位置に位置する第1通路61に対して、第2凹部55に対応する位置に位置する第2通路62の方が、軸方向他側に位置する。
【選択図】図3
特許請求の範囲
【請求項1】
自動変速機の油路構造であって、
前記自動変速機の主軸に対する径方向に広がる第1壁部を構成する第1部材と、
前記径方向に広がり、前記第1壁部に対して前記主軸の軸方向一側から面合わせされた第2壁部を有する第2部材と、
前記第1壁部における前記軸方向一側の面に形成されかつ前記径方向に延びる第1溝部と、前記第2壁部における軸方向他側の面に形成されかつ前記径方向に延びる第2溝部とで構成された油路と、を備え、
前記第1壁部は、前記軸方向他側の面部に、前記軸方向一側に凹む第1凹部を有し、
前記第2壁部は、前記軸方向一側の面部に、前記第1凹部とは前記径方向に異なる位置に位置しかつ前記軸方向他側に凹む第2凹部を有し、
前記第1凹部には、第1部品の少なくとも一部が配置され、
前記第2凹部には、第2部品の少なくとも一部が配置され、
前記油路は、前記径方向の前記第1凹部に対応する位置に位置する第1通路に対して、前記径方向の前記第2凹部に対応する位置に位置する第2通路の方が、前記軸方向他側に位置する自動変速機の油路構造。
続きを表示(約 990 文字)
【請求項2】
請求項1に記載の自動変速機の油路構造において、
前記第1溝部の深さは、前記第2通路よりも前記第1通路の方が浅く、
前記第2溝部の深さは、前記第1通路よりも前記第2通路の方が浅い自動変速機の油路構造。
【請求項3】
請求項1に記載の自動変速機の油路構造において、
前記第1通路は、前記第1溝部及び前記第2溝部のうちの前記第2溝部のみで構成されており、
前記第2通路は、前記第1溝部及び前記第2溝部のうちの前記第1溝部のみで構成されている自動変速機の油路構造。
【請求項4】
請求項1~3のいずれか1つに記載の自動変速機の油路構造において、
前記第1部材は、モータを収容するモータハウジングであり、
前記第1部品は、回転角度センサであり、
前記モータは、前記第1部品よりも前記軸方向他側に位置するとともに、コイルが前記第1部品の近傍に位置する自動変速機の油路構造。
【請求項5】
請求項4に記載の自動変速機の油路構造において、
前記モータに対して径方向内側には、トルクコンバータが配置され、
前記第1凹部は、前記第2凹部よりも径方向外側に位置し、
前記第1部品は、前記トルクコンバータの回転角度を測定するとともに、前記第2部品よりも前記径方向外側に位置する自動変速機の油路構造。
【請求項6】
請求項1~3のいずれか1つに記載の自動変速機の油路構造において、
前記第2部品は、前記第1壁部と前記第2壁部とを接続するボルトであり、
前記第2部品のボルトヘッドの少なくとも一部は、前記第2凹部内に配置される自動変速機の油路構造。
【請求項7】
請求項6に記載の自動変速機の油路構造において、
前記第2凹部における前記ボルトの位置には、前記第2凹部の他の部分よりも前記軸方向他側に凹んだ第3凹部が位置し、
前記ボルトヘッドは、前記第3凹部内に配置される自動変速機の油路構造。
【請求項8】
請求項7に記載の自動変速機の油路構造において、
前記第2壁部よりも前記軸方向一側でかつ前記第2凹部の近傍位置には、変速機構が設けられる自動変速機の油路構造。
発明の詳細な説明
【技術分野】
【0001】
ここに開示された技術は、自動変速機の油路構造に関する技術分野に属する。
続きを表示(約 1,500 文字)
【背景技術】
【0002】
従来より、自動変速機のハウジングを利用して油路を形成した油路構造が知られている。
【0003】
特許文献1では、モータジェネレータを含む車両用動力伝達装置が収容されるトランスアクスルケースの開口部に取り付けられるトランスアクスルカバーに、オイルポンプにより供給されるオイルをトランスアクスルケースの外部に取り出す供給油路を設けている。
【0004】
特許文献1では、供給油路は、トランスアクスル(自動変速機)の主軸の径方向に延びている。また、供給油路は、中子による鋳抜きによって、トランスアクスルカバーと一体に形成されている。
【先行技術文献】
【特許文献】
【0005】
特開2014-88906号公報
【発明の概要】
【発明が解決しようとする課題】
【0006】
特許文献1に記載の油路構造のように、鋳抜きによって油路を形成する場合、鋳抜きピンの抜き勾配により、油路がテーパー形状になる。油路が主軸の径方向に延びる場合には、油路が主軸の軸方向に広がるため、自動変速機の軸方向のサイズが大きくなってしまう。
【0007】
自動変速機の軸方向の大型化を抑制するために、自動変速機を構成する部材の軸方向の合わせ面を加工して、油路を構成することが考えられる。しかしながら、合わせ面の近傍に自動変速機の構成部品が配置されているときには、構成部品との干渉を防ぎつつ、必要な流路断面積を有する油路を構成する必要がある。油路と構成部品との干渉を防ぐために、構成部品を油路から離すようにすると、結局、自動変速機を軸方向に大きくせざるを得なくなる。
【0008】
ここに開示された技術は斯かる点に鑑みてなされたものであり、その目的とするところは、自動変速機の大型化を抑制できる油路構造を提供することにある。
【課題を解決するための手段】
【0009】
前記課題を解決するために、ここに開示された技術の第1の態様は、自動変速機の油路構造を対象とする。油路構造は、前記自動変速機の主軸に対する径方向に広がる第1壁部を構成する第1部材と、前記径方向に広がり、前記第1壁部に対して前記主軸の軸方向一側から面合わせされた第2壁部を有する第2部材と、前記第1壁部における前記軸方向一側の面に形成されかつ前記径方向に延びる第1溝部と、前記第2壁部における軸方向他側の面に形成されかつ前記径方向に延びる第2溝部とで構成された油路と、を備え、前記第1壁部は、前記軸方向他側の面部に、前記軸方向一側に凹む第1凹部を有し、前記第2壁部は、前記軸方向一側の面部に、前記軸方向他側に凹む第2凹部を有し、前記第1凹部には、第1部品の少なくとも一部が配置され、前記第2凹部には、第2部品の少なくとも一部が配置され、前記油路は、前記径方向の前記第1凹部に対応する位置に位置する第1通路に対して、前記径方向の前記第2凹部に対応する位置に位置する第2通路の方が、前記軸方向他側に位置する。
【0010】
第1の態様では、第1部品は、軸方向において、第1通路から離しつつ第2通路に近づけて配置可能である。一方、第2部品は、軸方向において、第2通路から離しつつ第1通路に近づけて配置可能である。これにより、第1部品及び第2部品と油路との干渉を回避しながらも、軸方向のサイズを小さくできる。したがって、自動変速機の大型化を抑制できる。
(【0011】以降は省略されています)
この特許をJ-PlatPat(特許庁公式サイト)で参照する
関連特許
マツダ株式会社
エンジン
1か月前
マツダ株式会社
二次電池
1か月前
マツダ株式会社
回転電機
6日前
マツダ株式会社
二次電池
1か月前
マツダ株式会社
車載機器
1か月前
マツダ株式会社
運転支援装置
1か月前
マツダ株式会社
運転支援装置
1か月前
マツダ株式会社
車体後部構造
28日前
マツダ株式会社
運転支援装置
1か月前
マツダ株式会社
インバータ装置
1か月前
マツダ株式会社
車両の上部構造
1か月前
マツダ株式会社
車両の下部構造
8日前
マツダ株式会社
車両の下部構造
8日前
マツダ株式会社
インバータ装置
1か月前
マツダ株式会社
車両の下部構造
6日前
マツダ株式会社
車両の下部構造
6日前
マツダ株式会社
インバータ装置
1か月前
マツダ株式会社
車両の前部構造
7日前
マツダ株式会社
車両の前部構造
7日前
マツダ株式会社
車両の前部構造
1か月前
マツダ株式会社
インバータ装置
1か月前
マツダ株式会社
バッテリ冷却構造
14日前
マツダ株式会社
バッテリユニット
27日前
マツダ株式会社
バッテリユニット
27日前
マツダ株式会社
バッテリ冷却構造
14日前
マツダ株式会社
車両用フレーム部材
7日前
マツダ株式会社
車両用フレーム部材
7日前
マツダ株式会社
二次電池の制御装置
1か月前
マツダ株式会社
エンジンの制御装置
1か月前
マツダ株式会社
被覆金属材の試験方法
1か月前
マツダ株式会社
エンジンの燃焼室構造
1か月前
マツダ株式会社
エンジンの燃焼室構造
1か月前
マツダ株式会社
車両の状態量検出装置
1日前
マツダ株式会社
自動変速機の油路構造
1か月前
マツダ株式会社
運転者の覚醒維持装置
7日前
マツダ株式会社
塗布方法及び塗布装置
14日前
続きを見る
他の特許を見る