TOP
|
特許
|
意匠
|
商標
特許ウォッチ
Twitter
他の特許を見る
10個以上の画像は省略されています。
公開番号
2025164499
公報種別
公開特許公報(A)
公開日
2025-10-30
出願番号
2024068513
出願日
2024-04-19
発明の名称
車両の上部構造
出願人
マツダ株式会社
代理人
弁理士法人三協国際特許事務所
主分類
B62D
25/06 20060101AFI20251023BHJP(鉄道以外の路面車両)
要約
【課題】トップシーリングの剛性を弱めることなく、トップシーリングに伝達される振動エネルギーを低減させることが可能な車両の上部構造を提供する。
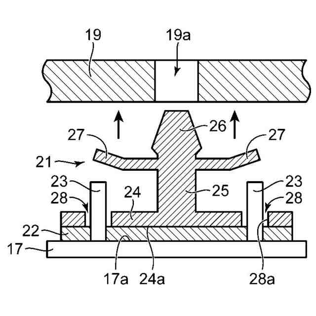
【解決手段】車両は、ルーフパネルとリアヘッダ19とトップシーリング17とを備える。リアヘッダ19は、ルーフパネルに対して車室内側に配置され、車幅方向に延びる。トップシーリング17は、リアヘッダ19に対して車室内側に配置されてルーフパネルを車室内側から覆う。トップシーリング17は、締結部材であるクリップ21によってリアヘッダ19に対して固定されている。クリップ21は、振動減衰部材22を介してトップシーリング17に固定されている。振動減衰部材22は、トップシーリング17およびクリップ21の損失係数よりも大きい損失係数を有する。
【選択図】図2
特許請求の範囲
【請求項1】
ルーフパネルと、
前記ルーフパネルに対して車室内側に配置され、車幅方向に延びる車体骨格部材と、
前記車体骨格部材に対して車室内側に配置されて前記ルーフパネルを車室内側から覆うトップシーリングと、
前記トップシーリングを前記車体骨格部材に対して固定する締結部材と、
前記トップシーリングおよび前記締結部材の損失係数よりも大きい損失係数を有する振動減衰部材と
を備え、
前記締結部材は、前記振動減衰部材を介して前記トップシーリングに固定されている、
ことを特徴とする、
車両の上部構造。
続きを表示(約 940 文字)
【請求項2】
請求項1に記載の車両の上部構造において、
前記トップシーリングおよび前記締結部材は、前記振動減衰部材に接触する接触面をそれぞれ有し、
前記トップシーリングおよび前記締結部材のうちの少なくとも一方の前記接触面には、凸部または凹部が形成されている、
車両の上部構造。
【請求項3】
請求項2に記載の車両の上部構造において、
前記凸部は、前記トップシーリングの前記接触面から前記締結部材に向かって突出して前記振動減衰部材に接触するピン部材であり、
前記締結部材は、前記ピン部材が貫通する貫通孔が形成された台座部を有し、
前記ピン部材は、前記貫通孔の内周面に非接触の状態で、当該貫通孔を貫通している、
車両の上部構造。
【請求項4】
請求項3に記載の車両の上部構造において、
前記貫通孔の内径は、前記ピン部材の外径の2倍以上に設定されている、
車両の上部構造。
【請求項5】
請求項3に記載の車両の上部構造において、
前記台座部における前記貫通孔の内周面と前記ピン部材との間に介在し、前記ピン部材の弾性率より低い弾性率を有する部材で構成された緩衝部材をさらに備える、
車両の上部構造。
【請求項6】
請求項5に記載の車両の上部構造において、
前記緩衝部材は、前記振動減衰部材と同じ材料で構成されるとともに当該振動減衰部材と一体成形されている、
車両の上部構造。
【請求項7】
請求項5に記載の車両の上部構造において、
前記緩衝部材は、前記ピン部材の先端部まで覆っており、
前記台座部は、前記緩衝部材の全体を覆う蓋部を有する、
車両の上部構造。
【請求項8】
請求項7に記載の車両の上部構造において、
前記蓋部は円筒形状を有する、
車両の上部構造。
【請求項9】
請求項1~8のいずれか1項に記載の車両の上部構造において、
前記振動減衰部材の損失係数は、0.1以上である、
車両の上部構造。
発明の詳細な説明
【技術分野】
【0001】
本発明は、車両の上部構造に関し、特に車両におけるトップシーリングの振動抑制構造に関する。
続きを表示(約 1,800 文字)
【背景技術】
【0002】
車内の騒音抑制のために、本発明者らは、車両を構成する各ユニットのモード特性からユニット間の振動エネルギーの流れを分析して振動伝達現象のメカニズムについて鋭意研究した。その結果、ルーフパネルを車内側から覆うトップシーリングの振動に関しては、柔構造であるトップシーリングの固有モードによる変位と剛構造である車体からの強制振動による変位の連成が振動エネルギーをトップシーリングへ伝達する要因であることが判明した。
【0003】
一般に、トップシーリングを車体に締結するに際し、締結部材およびブラケットによる剛的な結合構造が知られている。例えば、特許文献1記載の構造では、図16に示されるように、車体構成部分である車両前後方向(図16の紙面垂直方向)に延びるルーフサイドレール100のインナパネル100aには、トップシーリングUTRがブラケット101を介して固定されている。トップシーリングUTRは、ブラケット101に対して締結部材102によって強固に固定され、さらに、ブラケット101は、インナパネル100aに締結部材103によって強固に固定されている。これにより、トップシーリングUTRは、ブラケット101および締結部材102、103によって車体に強固に固定される。また、トップシーリングUTRは、インナパネル100aに固定されることにより、ルーフトリムRTの端部と部分的に重なっている。
【0004】
しかし、上記のような剛的な結合構造では、車体で生じた振動エネルギーは、剛的な結合構造であるブラケット101および締結部材102、103を介して、柔構造のトップシーリングUTRにそのまま伝達される。そのため、振動エネルギーの伝達を抑制するためには強制振動による変位成分の遮断のための対策を講じる必要がある。
【0005】
そこで、強制振動による変位成分の遮断を目的とした構造として、例えば、特許文献2記載の構造では、図17に示されるように、車体構成部分である車幅方向(図17の紙面垂直方向)に延びるフロントヘッダ201に対してトップシーリング202が締結部材203を用いて固定された構造において、トップシーリング202における締結部材203が挿入される挿入孔202bの周辺部202aの剛性を弱めて、振動低減する技術が知られている。具体的には、トップシーリング202における挿入孔202bの周辺部202aの板厚は、他の部分の板厚よりも小さくなっているので、当該周辺部202aの剛性が部分的に弱くなっている。
【先行技術文献】
【特許文献】
【0006】
特開2008-114797号公報
特開2023-090245号公報
【発明の概要】
【発明が解決しようとする課題】
【0007】
しかし、上記の図17に示される構造では、トップシーリング202における締結部分の周辺部202aの剛性が部分的に弱くなっているが、トップシーリング202の保持性を確保する必要があるため、トップシーリング202の剛性を大幅に弱めることが難しく、改善の余地がある。
【0008】
本発明は、上記のような問題の解決を図ろうとなされたものであって、トップシーリングの剛性を弱めることなく、トップシーリングに伝達される振動エネルギーを低減させることが可能な車両の上部構造を提供することを目的とする。
【課題を解決するための手段】
【0009】
本発明の車両の上部構造は、ルーフパネルと、前記ルーフパネルに対して車室内側に配置され、車幅方向に延びる車体骨格部材と、前記車体骨格部材に対して車室内側に配置されて前記ルーフパネルを車室内側から覆うトップシーリングと、前記トップシーリングを前記車体骨格部材に対して固定する締結部材と、前記トップシーリングおよび前記締結部材の損失係数よりも大きい損失係数を有する振動減衰部材とを備え、前記締結部材は、前記振動減衰部材を介して前記トップシーリングに固定されていることを特徴とする。
【0010】
上記の構造では、締結部材が振動減衰部材を介してトップシーリングに固定されることにより、締結部材の支持剛性を低減させ、振動減衰部材に歪みエネルギーの蓄積を促すものである。
(【0011】以降は省略されています)
この特許をJ-PlatPat(特許庁公式サイト)で参照する
関連特許
マツダ株式会社
運転支援装置
21日前
マツダ株式会社
車両の上部構造
1日前
マツダ株式会社
バッテリ温度制御システム
21日前
マツダ株式会社
車両のドア構造およびその製造方法
1日前
マツダ株式会社
車両の上部構造、および車両の上部構造の製造方法
1日前
マツダ株式会社
樹脂成形品の解析方法、解析装置、解析用プログラム及び記録媒体
21日前
マツダ株式会社
ゴム材料の応力-ひずみ特性予測方法、装置、プログラム、記録媒体及び設計方法
21日前
個人
カート
3か月前
個人
走行装置
4か月前
個人
三輪バイク
8日前
個人
乗り物
5か月前
個人
電動走行車両
4か月前
個人
自転車用歩数計
16日前
個人
閂式ハンドル錠
4か月前
個人
駐輪設備
1か月前
個人
折り畳み自転車
11か月前
個人
発音装置
7か月前
個人
電動モビリティ
8か月前
個人
ボギー・フレーム
2か月前
個人
三輪電動車両
16日前
個人
ルーフ付きトライク
3か月前
個人
“zen-go.”
3か月前
個人
自由方向乗車自転車
8か月前
個人
体重掛けリフト台車
11か月前
個人
ルーフ付きトライク
2か月前
個人
パワーアシスト自転車
2か月前
個人
キャンピングトライク
9か月前
個人
自転車用荷物台
11か月前
井関農機株式会社
作業車両
1日前
個人
ステアリングの操向部材
9か月前
個人
フロントフットブレーキ。
4か月前
株式会社豊田自動織機
産業車両
5か月前
株式会社三五
リアサブフレーム
11か月前
個人
乗用自動車のディフューザー
1か月前
学校法人千葉工業大学
車両
10か月前
豊田鉄工株式会社
小型車両
3か月前
続きを見る
他の特許を見る