TOP
|
特許
|
意匠
|
商標
特許ウォッチ
Twitter
他の特許を見る
10個以上の画像は省略されています。
公開番号
2025151134
公報種別
公開特許公報(A)
公開日
2025-10-09
出願番号
2024052400
出願日
2024-03-27
発明の名称
インバータ装置
出願人
マツダ株式会社
代理人
弁理士法人前田特許事務所
主分類
H02M
7/48 20070101AFI20251002BHJP(電力の発電,変換,配電)
要約
【課題】インバータ装置の自己インダクタンスを低減する。
【解決手段】インバータ装置1は、表面に配線層L1が形成された配線基板2と、配線基板2に内蔵されたトランジスタQ1~Q6と、配線層L1の第1電源配線11とグランド配線GNDとの間に設けられた第1容量C1と、配線層L1のグランド配線GNDと第2電源配線12との間に設けられた第2容量C2とを備える。配線層L1では、平面視において、トランジスタQ1と重なる位置に設けられた第1電源配線11と、第4トランジスタと重なる位置に設けられた第2電源配線12の間にグランド配線GNDが設けられている。
【選択図】図2
特許請求の範囲
【請求項1】
表面に第1配線層が形成された配線基板と、
前記配線基板に内蔵された複数のトランジスタと、
前記第1配線層の第1電源配線とグランド配線との間に設けられた第1容量と、
前記第1配線層の前記グランド配線と第2電源配線との間に設けられた第2容量とを備え、
前記複数のトランジスタは、
ドレインが前記第1電源配線に接続され、ソースが第1配線に接続された第1トランジスタと、
前記第1トランジスタの前記配線基板の厚さ方向と直交する第1方向に配置され、ドレインが第2配線に接続され、ソースが前記第2電源配線に接続された第2トランジスタとを備え、
前記第1配線層では、平面視において、前記第1トランジスタと重なる位置に設けられた前記第1電源配線と前記第2トランジスタと重なる位置に設けられた前記第2電源配線との間に前記グランド配線が設けられている、インバータ装置。
続きを表示(約 1,500 文字)
【請求項2】
請求項1に記載のインバータ装置において、
前記複数のトランジスタは、
前記第1トランジスタの前記厚さ方向及び前記第1方向と直交する第2方向に配置され、ドレインが前記第1配線に接続され、ソースが前記グランド配線に接続された第3トランジスタと、
前記第3トランジスタの前記第1方向かつ前記第2トランジスタの前記第2方向に配置され、ドレインが前記グランド配線に接続され、ソースが前記第2配線に接続された第4トランジスタとを含む、インバータ装置。
【請求項3】
請求項2に記載のインバータ装置において、
前記複数のトランジスタは、
前記第3トランジスタの前記第2方向に配置され、ドレインが前記第1配線に接続され、ソースが出力配線に接続された第5トランジスタと、
前記第5トランジスタの前記第1方向かつ前記第3トランジスタの前記第2方向に配置され、ドレインが前記出力配線に接続され、ソースが前記第2配線に接続された第6トランジスタとを含む、インバータ装置。
【請求項4】
請求項2に記載のインバータ装置において、
前記第1電源配線は、前記第3トランジスタと重なる位置まで前記第2方向に延び、
前記第2電源配線は、前記第4トランジスタと重なる位置まで前記第2方向に延び、
前記グランド配線は、前記第3トランジスタと重なる位置に設けられた前記第1電源配線と前記第4トランジスタと重なる位置に設けられた前記第2電源配線との間まで前記第2方向に延びている、インバータ装置。
【請求項5】
表面に第1配線層が形成された配線基板と、
前記配線基板に内蔵された複数のトランジスタと、
前記第1配線層の第1電源配線とグランド配線との間に設けられた第1容量と、
前記第1配線層の前記グランド配線と第2電源配線との間に設けられた第2容量とを備え、
前記複数のトランジスタは、
ドレインが前記第1電源配線に接続され、ソースが第1配線に接続された第1トランジスタと、
前記第1トランジスタの前記配線基板の厚さ方向と直交する第1方向に配置され、ドレインが第2配線に接続され、ソースが前記第2電源配線に接続された第2トランジスタと、
前記第1トランジスタの前記厚さ方向及び前記第1方向と直交する第2方向に配置され、ドレインが前記第1配線に接続され、ソースが前記グランド配線に接続された第3トランジスタと、
前記第2トランジスタの前記第1方向かつ前記第3トランジスタの前記第2方向に配置され、ドレインが前記グランド配線に接続され、ソースが前記第2配線に接続された第4トランジスタと、
前記第2トランジスタの前記第1方向に配置され、ドレインが前記第1配線に接続され、ソースが出力配線に接続された第5トランジスタと、
前記第5トランジスタの前記第1方向かつ前記第3トランジスタの前記第2方向に配置され、ドレインが前記出力配線に接続され、ソースが前記第2配線に接続された第6トランジスタとを含む、インバータ装置。
【請求項6】
請求項1または請求項5に記載のインバータ装置において、
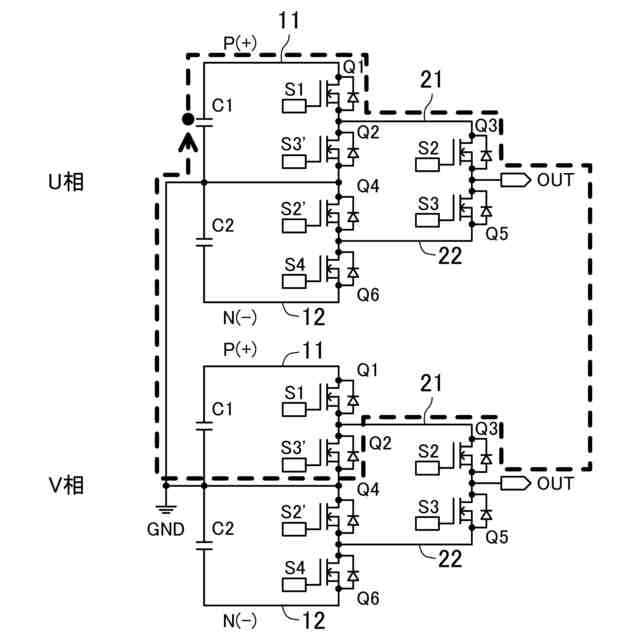
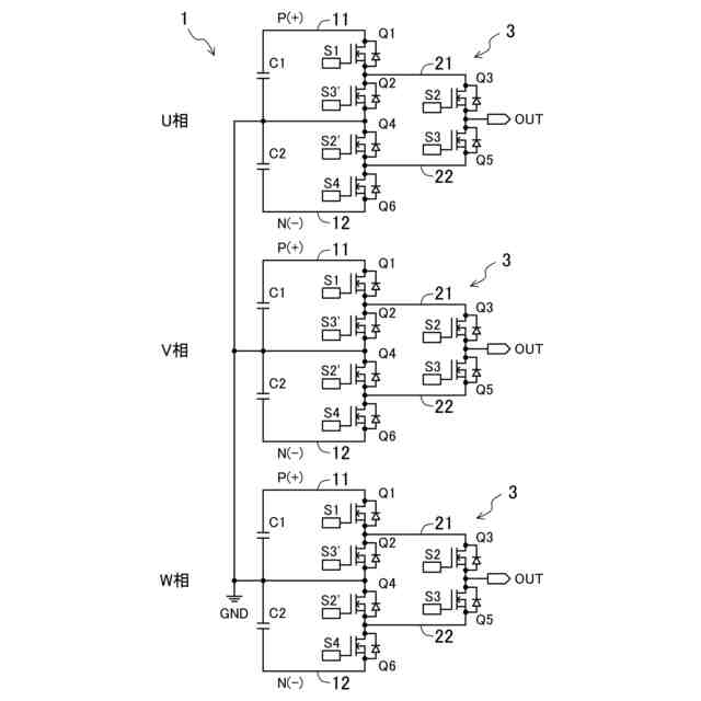
前記配線基板には、前記複数のトランジスタ、前記第1容量及び前記第2容量を1相のインバータ回路として、3相分の前記インバータ回路が、相ごとに、前記第1方向に並べて設けられており、
3相の前記インバータ回路間にわたって前記第1方向に延びる共通グランド配線により、各相の前記インバータ回路の前記グランド配線同士が互いに接続されている、インバータ装置。
発明の詳細な説明
【技術分野】
【0001】
ここに開示された技術は、インバータ装置に関する技術分野に属する。
続きを表示(約 1,600 文字)
【背景技術】
【0002】
インバータ装置のパワー密度の向上に伴う高出力化が進み、インバータ装置のインダクタンスを低減する技術が求められている。
【0003】
特許文献1には、直流-交流変換のインバータにおいて、配線インダクタンスを低減させるために、2本の配線導体を近接かつ平行に配置し、それぞれに異なる方向の電流を流すことで、相互インダクタンスを用いて配線インダクタンスを減少させる技術が示されている。
【先行技術文献】
【特許文献】
【0004】
特開2003-259656号公報
【発明の概要】
【発明が解決しようとする課題】
【0005】
従来のインバータ装置は、トランジスタを配線基板の表面に実装して構成されている。しかしながら、トランジスタを配線基板の表面に実装した場合、トランジスタと配線基板とを接続するボンディングワイヤの影響から自己インダクタンスを十分に低減できないという問題がある。
【0006】
ここに開示された技術は斯かる点に鑑みてなされたものであり、インバータ装置のインダクタンスを低減することにある。
【課題を解決するための手段】
【0007】
前記課題を解決するために、ここに開示された技術では、インバータ装置を対象として、表面に第1配線層が形成された配線基板と、前記配線基板に内蔵された複数のトランジスタと、前記第1配線層の第1電源配線とグランド配線との間に設けられた第1容量と、前記第1配線層の前記グランド配線と第2電源配線との間に設けられた第2容量とを備え、前記複数のトランジスタは、ドレインが前記第1電源配線に接続され、ソースが第1配線に接続された第1トランジスタと、前記第1トランジスタの前記配線基板の厚さ方向と直交する第1方向に配置され、ドレインが第2配線に接続され、ソースが前記第2電源配線に接続された第2トランジスタとを備え、前記第1配線層では、平面視において、前記第1トランジスタと重なる位置に設けられた前記第1電源配線と前記第2トランジスタと重なる位置に設けられた前記第2電源配線との間に前記グランド配線が設けられている、構成とした。
【0008】
このような構成にすることで、インバータ装置の第1電源配線とグランド配線との間の配線および第2電源配線とグランド配線との間の配線を短くすることができる。これにより、インバータ装置のインダクタンスを低減することができる。さらに、第1容量及び第2容量のグランド配線側の端子同士を近づけて配置することができるので、第1容量及び第2容量を集約させて、効率的に配置することができる。これにより、インバータ装置の小型化が実現できる。
【発明の効果】
【0009】
以上説明したように、ここに開示された技術によると、インバータ装置のインダクタンスを低減することができる。
【図面の簡単な説明】
【0010】
インバータ装置の回路図
インバータ装置の平面図
インバータ装置の1相分について、第2配線層の上から見た平面図
インバータ装置の1相分について、第5配線層の下から見た下面図
図3のV-V線断面図
図3のVI-VI線断面図
本実施形態に係るインバータ装置の面積削減効果を説明するための図
3相のグランド配線を共通配線にする効果を説明するための図
3相のグランド配線を共通配線にする効果を説明するための図
インバータ装置の他の構成例を示す図5相当の側断面図
インバータ装置の他の構成例を示す図6相当の側断面図
【発明を実施するための形態】
(【0011】以降は省略されています)
この特許をJ-PlatPat(特許庁公式サイト)で参照する
関連特許
マツダ株式会社
車載機器
24日前
マツダ株式会社
二次電池
24日前
マツダ株式会社
二次電池
24日前
マツダ株式会社
エンジン
25日前
マツダ株式会社
運転支援装置
24日前
マツダ株式会社
運転支援装置
24日前
マツダ株式会社
運転支援装置
24日前
マツダ株式会社
インバータ装置
25日前
マツダ株式会社
インバータ装置
25日前
マツダ株式会社
車両の前部構造
24日前
マツダ株式会社
インバータ装置
25日前
マツダ株式会社
インバータ装置
25日前
マツダ株式会社
車両の上部構造
4日前
マツダ株式会社
エンジンの制御装置
25日前
マツダ株式会社
二次電池の制御装置
24日前
マツダ株式会社
自動変速機の油路構造
25日前
マツダ株式会社
エンジンの燃焼室構造
25日前
マツダ株式会社
被覆金属材の試験方法
25日前
マツダ株式会社
エンジンの燃焼室構造
25日前
マツダ株式会社
車両のパワートレイン構造
25日前
マツダ株式会社
車両のパワートレイン構造
25日前
マツダ株式会社
車両のパワートレイン構造
25日前
マツダ株式会社
バッテリ温度制御システム
24日前
マツダ株式会社
車両のパワートレイン構造
24日前
マツダ株式会社
車両の合流位置評価装置及び方法
24日前
マツダ株式会社
車両の合流位置評価装置及び方法
24日前
マツダ株式会社
車両の合流位置評価装置及び方法
24日前
マツダ株式会社
車両の合流位置評価装置及び方法
24日前
マツダ株式会社
車載エンジンのCO2回収システム
24日前
マツダ株式会社
車載エンジンのCO2回収システム
24日前
マツダ株式会社
車両のドア構造およびその製造方法
4日前
マツダ株式会社
電動自動車のバッテリマネジメント装置
24日前
マツダ株式会社
車両の上部構造、および車両の上部構造の製造方法
4日前
マツダ株式会社
樹脂成形品の解析方法、解析装置、解析用プログラム及び記録媒体
24日前
マツダ株式会社
車両の合流位置評価方法並びに合流位置評価のためのモデル生成方法及び装置
24日前
マツダ株式会社
車両の合流位置評価方法並びに合流位置評価のためのモデル生成方法及び装置
24日前
続きを見る
他の特許を見る