TOP
|
特許
|
意匠
|
商標
特許ウォッチ
Twitter
他の特許を見る
公開番号
2025173362
公報種別
公開特許公報(A)
公開日
2025-11-27
出願番号
2024078917
出願日
2024-05-14
発明の名称
車両の前部構造
出願人
マツダ株式会社
代理人
個人
,
個人
,
個人
主分類
B62D
21/00 20060101AFI20251119BHJP(鉄道以外の路面車両)
要約
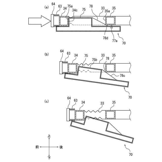
【課題】車載機器がサスペンションメンバに取り付けられる場合においても、衝撃荷重が入力される際のサイドレールの変形が阻害されにくい車両の前部構造を提供する。
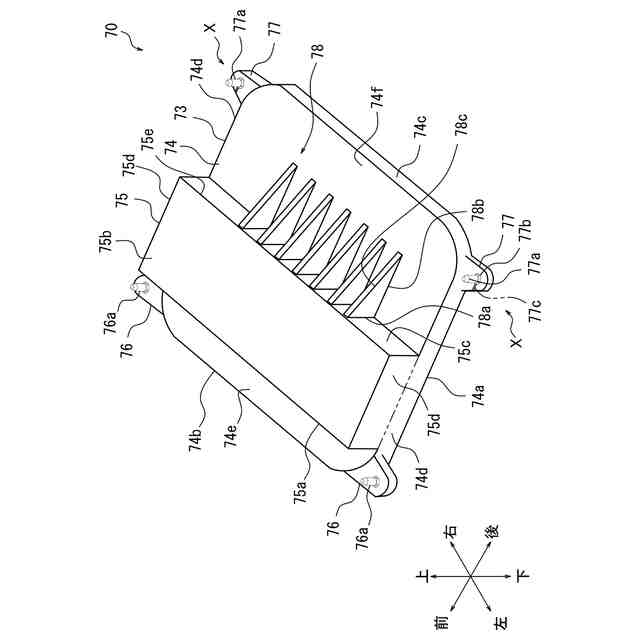
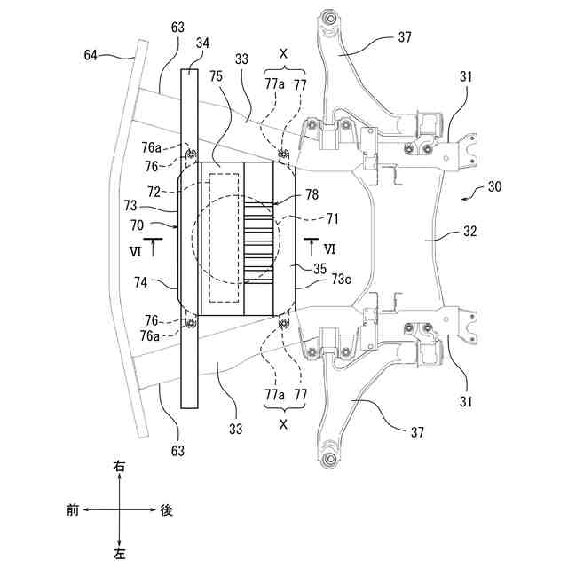
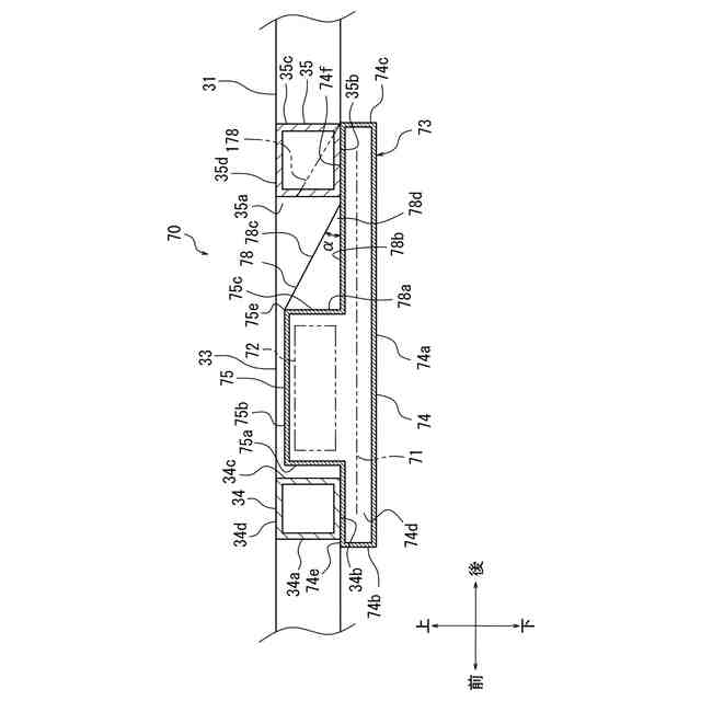
【解決手段】車両の前部構造は、前後方向に延びる左右一対のサイドフレーム33と、左右一対のサイドフレーム33間に架設されるクロスメンバ34と、左右一対のサイドフレーム33の間に位置する車載機器70と、を備え、車載機器70が、クロスメンバ34に固定される第1固定部76と、第1固定部76よりも後方に位置しており、サイドフレーム33に対して車両前方からの衝撃荷重により脱落可能な固定構造Xで固定される第2固定部77とを有する。
【選択図】図4
特許請求の範囲
【請求項1】
前後方向に延びる左右一対のサイドフレームと、
前記左右一対のサイドフレーム間に架設されるクロスメンバと、
前記左右一対のサイドフレームの間に位置する車載機器と、を備え、
前記車載機器が、
前記クロスメンバに固定される第1固定部と、
前記第1固定部よりも後方に位置しており、前記サイドフレームに対して車両前方からの衝撃荷重により脱落可能な固定構造で固定される第2固定部と
を有する、車両の前部構造。
続きを表示(約 770 文字)
【請求項2】
前記クロスメンバよりも後方に配置された後方部材をさらに備え、
前記車載機器および/または前記後方部材は、車両前方からの衝撃荷重によって前記車載機器と前記後方部材とが当接する際に、前記車載機器を下方に移動させる案内部を備える
請求項1に記載の車両の前部構造。
【請求項3】
前記案内部は、前記車載機器に設けられており、
前記案内部は、前記後方部材の前面に対向して、前方ほど上方に傾斜する傾斜部である
請求項2に記載の車両の前部構造。
【請求項4】
前記後方部材は、前記傾斜部の後端近傍に配置される
請求項3に記載の車両の前部構造。
【請求項5】
前記固定構造は、車両前方からの衝撃荷重が入力される際に破断する
請求項1~4のいずれか1項に記載の車両の前部構造。
【請求項6】
前記車載機器は、前記クロスメンバの下面に固定される前上面部と、前記クロスメンバの後面に対向する面を有する突出部とを備える
請求項3に記載の車両の前部構造。
【請求項7】
前記車載機器は、前記突出部の後方に延びる後上面部を備え、
前記傾斜部は、前記後上面部から前記突出部の後上縁部に向けて立設される
請求項6記載の車両の前部構造。
【請求項8】
前記後方部材は、サスペンションを支持するためのサスペンションクロスメンバである
請求項2~4のいずれか1項に記載の車両の前部構造。
【請求項9】
前記車載機器は、非接触充電器であって、
前記案内部は、前記非接触充電器を冷却するための放熱フィンである
請求項2~4のいずれか1項に記載の車両の前部構造。
発明の詳細な説明
【技術分野】
【0001】
本発明は、車両の前部構造に関する。
続きを表示(約 1,200 文字)
【背景技術】
【0002】
特許文献1には、連結部材を介してボディ骨格に固定されたサスペンションメンバと、サスペンションメンバの下面に取り付けられると共に、連結部材を介してボディ骨格に固定された受電装置を備えた車両の前部構造が開示されている。
【0003】
特許文献1の車両の前部構造では、前方および後方から外力が加えられたときに、連結部材が下方に向けて屈曲することによって、連結部材に接続された受電装置を下方に向けて変位させて、受電装置の後方に配置された蓄電装置と受電装置との当接が回避されている。
【先行技術文献】
【特許文献】
【0004】
特開2020-82948号公報
【発明の概要】
【発明が解決しようとする課題】
【0005】
特許文献1の車両の前部構造では、サスペンションメンバにおける車体前後方向に延びるサイドフレームに受電装置が固定されているため、衝突荷重が前方から入力された場合、サイドフレームの変形による衝撃荷重の吸収が阻害されて、衝撃荷重が十分に吸収されにくい。
【0006】
サイドフレームの変形を阻害する部材は、受電装置に限られるものではなく、左右のサイドフレームの間に配置される、例えば、補機等の車載機器に対しても同様の課題が生じ得る。
【0007】
本発明は、衝撃荷重入力時に変形することによって、衝撃荷重を吸収する左右のサイドフレームの間に車載機器が位置される場合においても、サイドフレームの変形が阻害されにくい車両の前部構造を提供する。
【課題を解決するための手段】
【0008】
本発明は、
前後方向に延びる左右一対のサイドフレームと、
前記左右一対のサイドフレーム間に架設されるクロスメンバと、
前記左右一対のサイドフレームの間に位置する車載機器と、を備え、
前記車載機器が、
前記クロスメンバに固定される第1固定部と、
前記第1固定部よりも後方に位置しており、前記サイドフレームに対して車両前方からの衝撃荷重により脱落可能な固定構造で固定される第2固定部と、
を有する、車両の前部構造を提供する。
【0009】
本発明によれば、車両前方から衝撃荷重が入力されると、車載機器が第2固定部においてサイドフレームから脱落するので、車載機器が左右一対のサイドフレームの間に位置する場合においても、サイドフレームの変形が車載機器によって阻害されることが抑制される。
【発明の効果】
【0010】
本発明によれば、衝撃荷重入力時に変形することによって衝撃荷重を吸収する左右一対のサイドフレームの間に車載機器が位置する場合においても、サイドフレームの変形が阻害されにくい車両の前部構造を提供できる。
【図面の簡単な説明】
(【0011】以降は省略されています)
この特許をJ-PlatPat(特許庁公式サイト)で参照する
関連特許
マツダ株式会社
二次電池
1か月前
マツダ株式会社
二次電池
1か月前
マツダ株式会社
車載機器
1か月前
マツダ株式会社
運転支援装置
1か月前
マツダ株式会社
運転支援装置
1か月前
マツダ株式会社
運転支援装置
1か月前
マツダ株式会社
車体後部構造
21日前
マツダ株式会社
車両の前部構造
今日
マツダ株式会社
車両の上部構造
28日前
マツダ株式会社
車両の前部構造
今日
マツダ株式会社
車両の前部構造
1か月前
マツダ株式会社
車両の下部構造
1日前
マツダ株式会社
車両の下部構造
1日前
マツダ株式会社
バッテリ冷却構造
7日前
マツダ株式会社
バッテリユニット
20日前
マツダ株式会社
バッテリユニット
20日前
マツダ株式会社
バッテリ冷却構造
7日前
マツダ株式会社
二次電池の制御装置
1か月前
マツダ株式会社
車両用フレーム部材
今日
マツダ株式会社
車両用フレーム部材
今日
マツダ株式会社
塗布方法及び塗布装置
7日前
マツダ株式会社
運転者の覚醒維持装置
今日
マツダ株式会社
車両のパワートレイン構造
1か月前
マツダ株式会社
車両のパワートレイン構造
1か月前
マツダ株式会社
バッテリ温度制御システム
1か月前
マツダ株式会社
車両のパワートレイン構造
1か月前
マツダ株式会社
車両の合流位置評価装置及び方法
1か月前
マツダ株式会社
車両の合流位置評価装置及び方法
1か月前
マツダ株式会社
車両の合流位置評価装置及び方法
1か月前
マツダ株式会社
車両の合流位置評価装置及び方法
1か月前
マツダ株式会社
車両のドア構造およびその製造方法
28日前
マツダ株式会社
車載エンジンのCO2回収システム
1か月前
マツダ株式会社
車載エンジンのCO2回収システム
1か月前
マツダ株式会社
車両用フレーム部材および車体前部構造
7日前
マツダ株式会社
電動自動車のバッテリマネジメント装置
1か月前
マツダ株式会社
車両用フレーム部材および車体前部構造
7日前
続きを見る
他の特許を見る