TOP
|
特許
|
意匠
|
商標
特許ウォッチ
Twitter
他の特許を見る
公開番号
2025152452
公報種別
公開特許公報(A)
公開日
2025-10-09
出願番号
2024054355
出願日
2024-03-28
発明の名称
車両のパワートレイン構造
出願人
マツダ株式会社
代理人
弁理士法人三協国際特許事務所
主分類
B60K
1/00 20060101AFI20251002BHJP(車両一般)
要約
【課題】車両衝突時における安全性を確保することができる車両のパワートレイン構造を提供する。
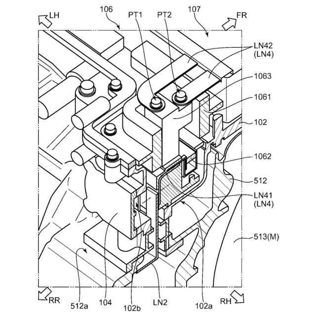
【解決手段】車両は、モータMおよびモータハウジングを有する駆動装置と、バッテリと、モータMとバッテリとの間で電力変換するインバータと、を備える。インバータのインバータハウジングは、モータハウジングに対して密に接合されており、モータハウジングにおける後壁部には、バッテリから延びる配線が接続されるDCコネクタCN1が配設されている。DCコネクタCN1とインバータの回路部との間を接続するDCバスバLN2は、モータハウジング内を配策されている。
【選択図】図7
特許請求の範囲
【請求項1】
車両に搭載されるとともに、前記車両の走行用の駆動源としてのモータと、少なくとも前記モータを収容する駆動装置ハウジングとを有する駆動装置と、
前記モータの電力源としてのバッテリと、
前記車両に搭載されるとともに、前記モータと前記バッテリとの間で電力変換する回路部と、前記回路部を収容する変換装置ハウジングとを有する電力変換装置と、
を備え、
前記変換装置ハウジングは、前記駆動装置ハウジングに対して密に接合、または、前記駆動装置ハウジングと一体に設けられており、
前記駆動装置ハウジングにおける周壁部には、前記バッテリから延びる配線が接続される電源接続部が配設されており、
前記電源接続部と前記回路部との間を接続する導電部材は、前記駆動装置ハウジング内を配策されている、
車両のパワートレイン構造。
続きを表示(約 1,100 文字)
【請求項2】
前記変換装置ハウジングは、前記駆動装置ハウジングとは別体で設けられており、
前記駆動装置ハウジングおよび前記変換装置ハウジングは、ともに導電性材料を用いて形成されており、
前記回路部は、前記導電部材との接続部分から延びる回路配線を有するとともに、前記回路配線に介挿されたノイズフィルタ部品を有する、
請求項1に記載の車両のパワートレイン構造。
【請求項3】
前記変換装置ハウジングは、前記駆動装置ハウジングの上に載置されているとともに、下方の前記駆動装置ハウジングに向けて突出するように形成された下方突出部を有し、
前記駆動装置ハウジングは、前記下方突出部が侵入する窪み部を有し、
前記回路部における前記回路配線は、前記下方突出部内に収容され、
前記導電部材は、前記窪み部から下方に向けて延びるように形成されている、
請求項2に記載の車両のパワートレイン構造。
【請求項4】
前記駆動装置ハウジング内には、走行用の駆動力を車輪に伝達する出力軸に対して接続されたデファレンシャルギアが収容されており、
前記導電部材は、前記デファレンシャルギアの周囲を囲むように設けられた弧状部を有する、
請求項3に記載の車両のパワートレイン構造。
【請求項5】
前記ノイズフィルタ部品は、少なくとも筒状のフェライトコアを含み、
前記フェライトコアは、筒軸が上下方向に沿う状態で、前記下方突出部内に収容されている、
請求項3に記載の車両のパワートレイン構造。
【請求項6】
前記回路配線は、前記フェライトコアの筒内を挿通する挿通部分と、前記挿通部分に接続され、前記導電部材との前記接続部分とは前記フェライトコアを挟んで反対側に向けて延びる延伸部分と、を有し、
前記挿通部分と前記延伸部分とは、前記フェライトコアの上方で接続されている、
請求項5に記載の車両のパワートレイン構造。
【請求項7】
前記駆動装置および前記電力変換装置は、前記車両の前部に搭載されており、
前記電源接続部は、前記駆動装置ハウジングにおける前記モータよりも後方に配された後壁部に配設されている、
請求項1から請求項6の何れかに記載の車両のパワートレイン構造。
【請求項8】
前記車両には、前記バッテリからの電力によって作動する補機が搭載されており、
前記駆動装置ハウジング内には、前記導電部材から分岐されるとともに、前記電源接続部と前記補機との間を接続する補機配線が収容されている、
請求項1から請求項6の何れかに記載の車両のパワートレイン構造。
発明の詳細な説明
【技術分野】
【0001】
本発明は、車両のパワートレイン構造に関し、特に走行用のモータおよび電力変換装置を含むパワートレイン構造に関する。
続きを表示(約 1,700 文字)
【背景技術】
【0002】
近年では、モータを走行用の駆動源として備える車両が増加している。このような車両には、モータに電力供給するためのバッテリが搭載されている。モータを走行用の駆動源として備える車両の駆動装置が特許文献1に開示されている。
【0003】
特許文献1に開示の車両用駆動装置は、走行用の駆動源としてのモータと、当該モータに接続される変速機構と、モータおよび変速機構を収容する駆動装置ケースとを備える。駆動装置ケースは、駆動装置ケースにおけるモータを収容した部分に隣接する箇所において、外壁の一部が内方に向けて直方体形状に凹入されることで形成された槽状部を有する。槽状部は、モータや変速機構などが収容された部分から隔離されている。
【0004】
また、車両用駆動装置は、バッテリとモータとの間に介挿され、素子ユニットおよびコンデンサ部を有するインバータ装置も備える。インバータ装置は、外殻を構成するインバータケースも有し、素子ユニットおよびコンデンサ部は、インバータケース内に収容されている。車両用駆動装置では、駆動装置ケースに設けられた槽状部にインバータケースの一部(コンデンサ部が収容された部分)が収容されている。特許文献1に開示の車両用駆動装置では、槽状部にインバータケースの一部を収容することにより、該車両用駆動装置の小型化を図られている。
【先行技術文献】
【特許文献】
【0005】
特開2014-113915号公報
【発明の概要】
【発明が解決しようとする課題】
【0006】
しかしながら、上記特許文献1に開示の技術を含む従来技術では、車両衝突時における安全性の確保が難しいと考えられる。具体的に、上記特許文献1には、インバータ装置とバッテリとを接続するDC配線は明示されていないが、インバータケースにDC配線が接続されるコネクタが設けられている。このため、上記特許文献1に開示の車両用駆動装置では、インバータ装置とバッテリとを接続するDC配線は駆動装置ケースの外方を配策されるものと考えられる。よって、車両衝突時における駆動装置と車体や周辺部材との間の相対変位によっては、DC配線が損傷することが懸念され、DC配線の周辺に車両衝突時の相対変位を許容する空間を確保するなどの対策が必要となる。
【0007】
本発明は、上記のような問題の解決を図ろうとなされたものであって、車両衝突時における安全性を確保することができる車両のパワートレイン構造を提供することを目的とする。
【課題を解決するための手段】
【0008】
本発明の一態様に係る車両のパワートレイン構造は、車両に搭載されるとともに、前記車両の走行用の駆動源としてのモータと、少なくとも前記モータを収容する駆動装置ハウジングとを有する駆動装置と、前記モータの電力源としてのバッテリと、前記車両に搭載されるとともに、前記モータと前記バッテリとの間で電力変換する回路部と、前記回路部を収容する変換装置ハウジングとを有する電力変換装置と、を備える。本態様に係る車両のパワートレイン構造では、前記変換装置ハウジングは、前記駆動装置ハウジングに対して密に接合、または、前記駆動装置ハウジングと一体に設けられており、前記駆動装置ハウジングにおける周壁部には、前記バッテリから延びる配線が接続される電源接続部が配設されており、前記電源接続部と前記回路部との間を接続する導電部材は、前記駆動装置ハウジング内を配策されている。
【0009】
上記態様に係る車両のパワートレイン構造では、電源接続部と回路部との間を接続する導電部材が駆動装置ハウジング内を配策されているので、車両衝突時においても駆動装置ハウジングで導電部材が保護される。よって、車両衝突時などにおいても、導電配線が損傷するのが抑制される。
【0010】
なお、上記における「密に接合」とは、仮に駆動装置ハウジングと変換装置ハウジングとの接合部分に微細な隙間が生じた場合にも、当該隙間を通して電磁波が出入りしないことを示す。
(【0011】以降は省略されています)
この特許をJ-PlatPat(特許庁公式サイト)で参照する
関連特許
マツダ株式会社
二次電池
1日前
マツダ株式会社
二次電池
22日前
マツダ株式会社
二次電池
1日前
マツダ株式会社
エンジン
2日前
マツダ株式会社
車載機器
1日前
マツダ株式会社
排気システム
3日前
マツダ株式会社
排気システム
3日前
マツダ株式会社
運転支援装置
1日前
マツダ株式会社
運転支援装置
1日前
マツダ株式会社
運転支援装置
1日前
マツダ株式会社
車両用駆動装置
1か月前
マツダ株式会社
インバータ装置
2日前
マツダ株式会社
インバータ装置
2日前
マツダ株式会社
インバータ装置
2日前
マツダ株式会社
インバータ装置
2日前
マツダ株式会社
車両用駆動装置
1か月前
マツダ株式会社
車両の前部構造
1日前
マツダ株式会社
車両用駆動装置
1か月前
マツダ株式会社
車両用駆動装置
1か月前
マツダ株式会社
車両用駆動装置
1か月前
マツダ株式会社
冷媒循環システム
24日前
マツダ株式会社
冷媒循環システム
24日前
マツダ株式会社
冷媒循環システム
24日前
マツダ株式会社
冷媒循環システム
24日前
マツダ株式会社
冷媒循環システム
24日前
マツダ株式会社
冷媒循環システム
24日前
マツダ株式会社
冷媒循環システム
24日前
マツダ株式会社
冷媒循環システム
24日前
マツダ株式会社
車両の下部車体構造
8日前
マツダ株式会社
車両の下部車体構造
12日前
マツダ株式会社
車両の下部車体構造
8日前
マツダ株式会社
車両の下部車体構造
8日前
マツダ株式会社
車両の下部車体構造
12日前
マツダ株式会社
車両の下部車体構造
12日前
マツダ株式会社
モータ軸受システム
12日前
マツダ株式会社
モータ軸受システム
12日前
続きを見る
他の特許を見る