TOP
|
特許
|
意匠
|
商標
特許ウォッチ
Twitter
他の特許を見る
公開番号
2025115122
公報種別
公開特許公報(A)
公開日
2025-08-06
出願番号
2024009472
出願日
2024-01-25
発明の名称
冷媒循環システム
出願人
マツダ株式会社
代理人
個人
,
個人
,
個人
,
個人
,
個人
主分類
F25B
1/00 20060101AFI20250730BHJP(冷凍または冷却;加熱と冷凍との組み合わせシステム;ヒートポンプシステム;氷の製造または貯蔵;気体の液化または固体化)
要約
【課題】モータの滑り軸受を冷媒にて潤滑する冷媒循環システムにおいて、滑り軸受で生じる摩擦発熱を考慮して的確に制御を行う。
【解決手段】CO
2
を含む冷媒を循環する冷媒循環システム100は、冷媒を圧縮するコンプレッサ3と、ロータ11及びステータ12と、ロータに連結された回転軸13と、コンプレッサにより圧縮された冷媒を用いて潤滑を行い、回転軸を支持する滑り軸受14と、を備えるモータ1であって、当該モータ内を通過する冷媒が、滑り軸受から流出した後に膨張されて、ステータの冷却に用いられるように構成されたモータと、少なくともモータを制御するように構成された制御装置50と、を有し、モータ1は、冷媒の流量を調整可能な流量調整弁20を更に備え、制御装置50は、モータ回転数センサ26によって検出されたモータ回転数に応じて冷媒の流量を調整するように流量調整弁20を制御する。
【選択図】図2
特許請求の範囲
【請求項1】
CO
2
を含む冷媒を循環する冷媒循環システムであって、
前記冷媒を圧縮するコンプレッサと、
ロータ及びステータと、前記ロータに連結された回転軸と、前記コンプレッサにより圧縮された前記冷媒を用いて潤滑を行い、前記回転軸を支持する滑り軸受と、を備えるモータであって、当該モータ内を通過する前記冷媒が、前記滑り軸受から流出した後に膨張されて、前記ロータ又は前記ステータの冷却に用いられるように構成された前記モータと、
前記モータの回転数を検出するモータ回転数センサと、
少なくとも前記モータを制御するように構成された制御装置と、
を有し、
前記モータは、前記冷媒の流量を調整可能な流量調整機構を更に備え、
前記制御装置は、前記モータ回転数センサによって検出された前記回転数に応じて前記冷媒の流量を調整するように、前記モータの前記流量調整機構を制御するように構成されている、
ことを特徴とする冷媒循環システム。
続きを表示(約 970 文字)
【請求項2】
前記制御装置は、前記回転数が低くなるほど、前記冷媒の流量を大きくするように、前記流量調整機構を制御するように構成されている、請求項1に記載の冷媒循環システム。
【請求項3】
前記制御装置は、前記回転数が所定の閾値未満である場合にのみ、当該回転数に基づき前記流量調整機構を制御するように構成されている、請求項1又は2に記載の冷媒循環システム。
【請求項4】
前記制御装置は、
前記回転数に応じた前記滑り軸受での摩擦発熱量と、冷却すべき前記ロータ又は前記ステータに適用されたコイルの発熱量とを算出し、
前記摩擦発熱量及び前記コイルの発熱量に基づき、前記冷媒循環システムで実現すべき要求冷却能力を算出し、
前記要求冷却能力に基づき前記流量調整機構を制御する、
ように構成されている、請求項1又は2に記載の冷媒循環システム。
【請求項5】
前記冷媒循環システムは、更に、前記コンプレッサにより圧縮された後の前記冷媒の圧力を検出する圧力センサと、前記モータの前記滑り軸受に供給される前の前記冷媒の温度を検出する温度センサと、を有し、
前記制御装置は、
前記要求冷却能力と、前記圧力センサにより検出された圧力と、前記温度センサにより検出された温度とに基づき、前記冷媒が膨張した後の目標膨張圧力を算出し、
前記目標膨張圧力を実現するための前記流量調整機構による前記冷媒の目標流量を決定し、
前記目標流量の前記冷媒が流れるように前記流量調整機構を制御する、
ように構成されている、請求項4に記載の冷媒循環システム。
【請求項6】
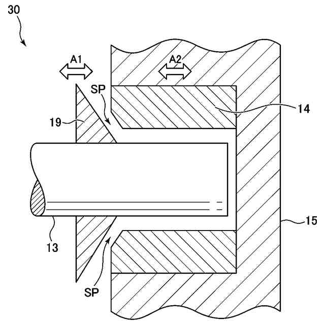
前記モータは、更に、前記滑り軸受から流出した直後の前記冷媒を、冷却すべき前記ロータ又は前記ステータに適用されたコイルに向けて指向させるように構成されたガイド部を備え、
前記流量調整機構は、前記ガイド部と当該ガイド部側の前記滑り軸受の端部との間にある、前記冷媒が流出する隙間の大きさを変更するように、前記ガイド部又は前記滑り軸受を軸方向に移動させることにより、前記冷媒の流量を調整可能に構成されている、
請求項1又は2に記載の冷媒循環システム。
発明の詳細な説明
【技術分野】
【0001】
本発明は、冷媒を循環する冷媒循環システムに関する。
続きを表示(約 2,000 文字)
【背景技術】
【0002】
従来から、エアコンで利用される冷凍サイクルにおいて、コンプレッサや熱交換器などを介して、冷媒を循環する冷媒循環システムが用いられている。また、近年では、このような冷媒循環システムが、車両内の構成要素の冷却、例えば電気自動車やハイブリッド車のバッテリの冷却にも利用されている。1つの例では、特許文献1には、1つのコンプレッサ(圧縮器)を共有して、そのコンプレッサから流出した冷媒をエアコンやバッテリに供給することで、システムの小型化や低廉化を図るようにした車両が開示されている。
【先行技術文献】
【特許文献】
【0003】
特開2023-037294号公報
【発明の概要】
【発明が解決しようとする課題】
【0004】
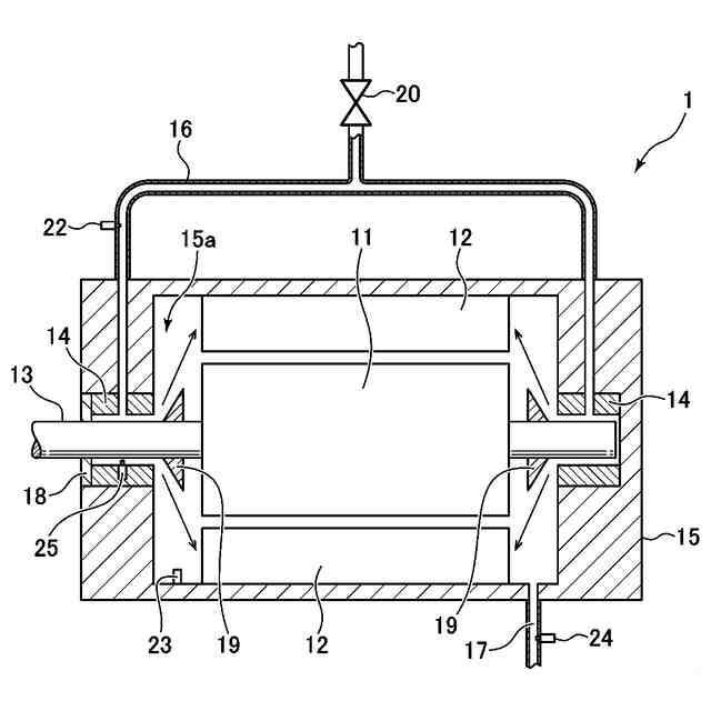
ところで、例えば車両の動力源(エンジンやモータ)などの回転軸を支持する軸受として、従来から転がり軸受や滑り軸受が用いられている。ここで、電気自動車などのモータに転がり軸受を適用すると、このモータの回転軸が例えば30000rpmを超える高回転数で回転するので、転がり疲労により寿命が問題となる。他方で、オイルを潤滑剤として用いる一般的な滑り軸受をモータに適用すると、モータの回転軸によるオイル攪拌抵抗の損失が大きくなる。
【0005】
したがって、本件発明者は、モータを上記したような冷媒循環システムに適用し、このシステムで循環される冷媒、特にコンプレッサによる圧縮で液状になるCO
2
冷媒などを、潤滑剤として用いる滑り軸受を、モータの回転軸に適用することを考えた。それと共に、本件発明者は、このモータを、冷媒循環システムによる冷凍サイクルの一部の機能を担わせること、具体的には冷凍サイクルにおける膨張弁及び蒸発器として機能させることを考えた。すなわち、モータ内を通過する冷媒を、滑り軸受から流出した後に膨張させて(膨張弁)、ロータやステータの冷却に用いる(蒸発器)ことを考えた。
【0006】
このようなモータを含む冷媒循環システムでは、滑り軸受において摩擦による発熱(摩擦発熱)が生じて、この摩擦発熱による様々な影響が起こり得る。例えば、滑り軸受において冷媒が加熱されることで、冷媒によるロータやステータの冷却が十分に行えなかったり、滑り軸受において摩耗や焼き付きが生じたりし得る。したがって、冷媒循環システムにおいて、滑り軸受で生じる摩擦発熱を考慮した制御を行う必要がある。
【0007】
本発明は、上述した従来技術の問題点を解決するためになされたものであり、モータの滑り軸受を冷媒にて潤滑する冷媒循環システムにおいて、滑り軸受で生じる摩擦発熱を考慮して的確に制御を行うことを目的とする。
【課題を解決するための手段】
【0008】
上記の目的を達成するために、本発明は、CO
2
を含む冷媒を循環する冷媒循環システムであって、冷媒を圧縮するコンプレッサと、ロータ及びステータと、ロータに連結された回転軸と、コンプレッサにより圧縮された冷媒を用いて潤滑を行い、回転軸を支持する滑り軸受と、を備えるモータであって、当該モータ内を通過する冷媒が、滑り軸受から流出した後に膨張されて、ロータ又はステータの冷却に用いられるように構成されたモータと、モータの回転数(モータ回転数)を検出するモータ回転数センサと、少なくともモータを制御するように構成された制御装置と、を有し、モータは、冷媒の流量を調整可能な流量調整機構を更に備え、制御装置は、モータ回転数センサによって検出された回転数に応じて冷媒の流量を調整するように、モータの流量調整機構を制御するように構成されている、ことを特徴とする。
【0009】
このように構成された本発明によれば、モータの滑り軸受を冷媒にて潤滑する冷媒循環システムにおいて、滑り軸受において境界潤滑により生じる過渡的な摩擦発熱を、モータ回転数に基づき把握することができる。したがって、本発明によれば、こうして滑り軸受において境界潤滑により生じる摩擦発熱を考慮して、モータの流量調整機構を的確に制御することができる。例えば、摩擦発熱が大きいときに流量調整機構により冷媒の流量を大きくすることができ、その結果、この摩擦発熱による滑り軸受の摩耗や焼き付きなどを防止することが可能となる。
【0010】
本発明において、好ましくは、制御装置は、回転数が低くなるほど、冷媒の流量を大きくするように、流量調整機構を制御するように構成されている。
このように構成された本発明によれば、摩擦発熱による滑り軸受の摩耗や焼き付きを効果的に防止することができる。
(【0011】以降は省略されています)
この特許をJ-PlatPat(特許庁公式サイト)で参照する
関連特許
マツダ株式会社
回転電機
今日
マツダ株式会社
車体後部構造
22日前
マツダ株式会社
車両の下部構造
今日
マツダ株式会社
車両の下部構造
2日前
マツダ株式会社
車両の前部構造
1日前
マツダ株式会社
車両の前部構造
1日前
マツダ株式会社
車両の下部構造
今日
マツダ株式会社
車両の上部構造
29日前
マツダ株式会社
車両の下部構造
2日前
マツダ株式会社
バッテリ冷却構造
8日前
マツダ株式会社
バッテリ冷却構造
8日前
マツダ株式会社
バッテリユニット
21日前
マツダ株式会社
バッテリユニット
21日前
マツダ株式会社
車両用フレーム部材
1日前
マツダ株式会社
車両用フレーム部材
1日前
マツダ株式会社
塗布方法及び塗布装置
8日前
マツダ株式会社
運転者の覚醒維持装置
1日前
マツダ株式会社
バッテリ温度制御システム
1か月前
マツダ株式会社
車両のドア構造およびその製造方法
29日前
マツダ株式会社
車両用フレーム部材および車体前部構造
8日前
マツダ株式会社
車両用フレーム部材および車体前部構造
8日前
マツダ株式会社
車両の構造設計方法及び構造設計プログラム
2日前
マツダ株式会社
バッテリユニットを搭載した車両の前部車体構造
21日前
マツダ株式会社
車両の上部構造、および車両の上部構造の製造方法
29日前
マツダ株式会社
バッテリユニット及びバッテリユニットの製造方法。
21日前
マツダ株式会社
車両用空調装置の冷媒取り出し方法及び車両用空調装置
今日
マツダ株式会社
樹脂成形品の解析方法、解析装置、解析用プログラム及び記録媒体
1か月前
マツダ株式会社
ゴム材料の応力-ひずみ特性予測方法、装置、プログラム、記録媒体及び設計方法
1か月前
個人
製氷容器
今日
株式会社不二工機
膨張弁
1か月前
株式会社不二工機
膨張弁
1か月前
アクア株式会社
冷蔵庫
8日前
アクア株式会社
冷蔵庫
8日前
富士電機株式会社
冷却装置
今日
フクシマガリレイ株式会社
断熱扉
1か月前
ホシザキ株式会社
冷凍装置
1か月前
続きを見る
他の特許を見る